LEMON Manuals: Even more car manuals for everyone
Home >> Toyota >> 2007 >> FJ Cruiser 4WD, Part Time >> Repair and Diagnosis >> Engine Performance >> Engine Control System >> Circuit Opening Relay >> On-Vehicle Inspection

On-Vehicle Inspection

  1. DISCONNECT CABLE FROM NEGATIVE BATTERY TERMINAL 
  2. REMOVE CIRCUIT OPENING RELAY 
    1. Remove the relay block cover upper.
    2. Remove the circuit opening relay.
      Fig 1: Identifying Relay Block Cover Upper & Circuit Opening Relay
      G05109011Courtesy of © TOYOTA, LICENSE AGREEMENT TMS1002
  3. INSPECT CIRCUIT OPENING RELAY 
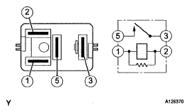
    Fig 2: Identifying Circuit Opening Relay
    G05109012Courtesy of © TOYOTA, LICENSE AGREEMENT TMS1002
    1. Check the resistance.
      1. Using an ohmmeter, measure the resistance between the terminals.

        Standard resistance 

        STANDARD RESISTANCE SPECIFICATIONS

        Tester Connection Specified Condition
        3 - 5 10 kΩ or higher
        Below 1 Ω (Battery voltage applied to terminals 1 and 2)

        If the result is not as specified, replace the circuit opening relay.

  4. INSTALL CIRCUIT OPENING RELAY 
    1. Install the circuit opening relay.
    2. Install the relay block cover upper.
  5. CONNECT CABLE TO NEGATIVE BATTERY TERMINAL 

    Torque: 3.9 N*m (40 kgf*cm, 35 in.*lbf)