LEMON Manuals: Even more car manuals for everyone
Home >> Toyota >> 2006 >> Matrix Base, FWD, Automatic >> Repair and Diagnosis >> External Pages >> Different variant/trim >> Section 7 (Transfer Case) >> Transfer Assembly >> Reassembly

Transfer Assembly: Reassembly

WARNING: This page is about a different variant/trim than selected.
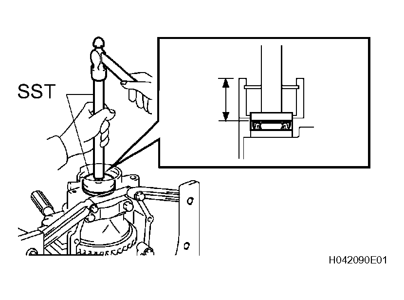
  1. INSTALL TRANSFER DRIVEN PINION REAR BEARING 
    1. Using SST and a press, press the driven pinion rear bearing outer race into the case.

      SST 09950-60010 (09951-00620), 09950-70010 (09951-07150) 

      NOTE: Keep the transfer case horizontally using tip of wood, etc..
      Fig 1: Installing Transfer Driven Pinion Rear Bearing
      G04464578Courtesy of © TOYOTA, LICENSE AGREEMENT TMS1002
    2. Apply gear oil to the driven pinion rear bearing outer race.
  2. INSTALL TRANSFER OUTPUT WASHER 
    1. Install a transfer output washer to the transfer case.

      HINT:

      Install the same washer as the previous one.

    2. Apply gear oil to the transfer output washer.
  3. INSTALL TRANSFER DRIVEN PINION FRONT BEARING 
    1. Apply gear oil to the inner surface of the transfer case.
    2. Using SST, install the transfer driven pinion front bearing outer race to the transfer case with a bolt and a nut.

      SST 09950-60010 (09951-00610, 09951-00620, 09951-00650), 09950-60020 (09951-00680) 

      Fig 2: Installing Transfer Driven Pinion Front Bearing (1 Of 2)
      G04464579Courtesy of © TOYOTA, LICENSE AGREEMENT TMS1002
    3. Using SST and a press, press the driven pinion front bearing inner race into the driven pinion.

      SST 09506-30012 

      Fig 3: Installing Transfer Driven Pinion Front Bearing (2 Of 2)
      G04464580Courtesy of © TOYOTA, LICENSE AGREEMENT TMS1002
  4. INSTALL DRIVEN PINION 
    1. Install the driven pinion to the transfer case.
      Fig 4: Installing Driven Pinion
      G04464581Courtesy of © TOYOTA, LICENSE AGREEMENT TMS1002
    2. Install a new transfer pinion bearing spacer and driven pinion rear bearing inner race to the driven pinion.

      HINT:

      Install the pinion bearing spacer with the larger inner diameter coming to the front side.

      Fig 5: Installing Transfer Pinion Bearing Spacer
      G04464582Courtesy of © TOYOTA, LICENSE AGREEMENT TMS1002
    3. Using SST, install a new gear nut.

      SST 09326-20011, 09556-16030 

      Torque: 260 to 355 N*m (2,647 to 3,616 kgf*cm, 191 to 262 ft.*lbf) 

      HINT:

      • Using a torque wrench with a fulcrum length of 380 mm (15.03 in.).
      • This torque value is effective in the case that SST is parallel to a torque wrench.
        NOTE: Do not stake the nut until the final adjustment of the preload, tooth contact and backlash is completed.
        Fig 6: Installing Gear Nut
        G04464583Courtesy of © TOYOTA, LICENSE AGREEMENT TMS1002
  5. ADJUST DRIVEN PINION PRELOAD 
    1. Using SST and a torque wrench, measure the driven pinion preload.

      SST 09326-20011 

      Torque: New bearing preload (at starting) 

      0.53 to 0.97 N*m (5.4 to 9.9 kgf*cm, 4.7 to 8.6 in.*lbf) 

      Reused bearing preload (at starting) 

      0.30 to 0.53 N*m (3.0 to 5.4 kgf*cm, 2.6 to 4.7 in.*lbf) 

      Fig 7: Adjusting Driven Pinion Preload
      G04464584Courtesy of © TOYOTA, LICENSE AGREEMENT TMS1002

      HINT:

      • Using a torque wrench with a fulcrum length of 160 mm (6.3 in.).
      • This torque value is effective in case that SST is parallel to torque wench.
      • If the preload is not sufficient, adjust the driven pinion by tightening the lock nut by 5° to 10° and measuring the preload until the preload is with in the standard value.
      • If the preload is more than standard value, replace the spacer with a new one.
      • Even if the tightening torque of gear nut exceeds the specified torque, if the preload is not enough, loosen the gear nut once and apply rust preventive oil or gear oil super to the gear nut and to the screw or bearing surface of driven pinion. Then do the procedure again. If the tightening torque is smaller than the specified value, replace the pinon bearing spacer with a new one and adjust it.
  6. INSTALL RING GEAR 
    1. Clean the contact surface of the ring gear and transfer ring gear mounting case.
    2. Heat the ring gear in water and boil for 10 minutes.
    3. Carefully remove the ring gear from the water.
      Fig 8: Installing Ring Gear
      G04464585Courtesy of © TOYOTA, LICENSE AGREEMENT TMS1002
    4. After the moisture on the ring gear has completely evaporated, quickly install the ring gear to the transfer ring gear mounting case.
    5. Install the 10 bolts.

      Torque: 78 N*m (790 kgf*cm, 57 ft.*lbf) 

      NOTE:
      • Tighten the bolts in diagonal order in splitting several times.
      • After the ring gear has well cooled down, tighten the bolts.
      • Make paint marks, etc, do the procedure while checking the bolts retightened.
        Fig 9: Installing Ring Gear To Transfer Ring Gear Mounting Case
        G04464586Courtesy of © TOYOTA, LICENSE AGREEMENT TMS1002
  7. INSTALL RING GEAR MOUNTING CASE BEARING 
    1. Using SST and a press, press the ring gear mounting case bearing RH inner race into the transfer ring gear mounting case.

      SST 09950-60010 (09951-00420) 

    2. Install the ring gear mounting case bearing RH outer race to the transfer ring gear mounting case.
    3. Apply gear oil to the ring gear mounting case bearing RH.
      Fig 10: Installing Ring Gear Mounting Case Bearing
      G04464587Courtesy of © TOYOTA, LICENSE AGREEMENT TMS1002
    4. Using SST and a press, press the ring gear mounting case LH inner race into the transfer ring gear mounting case.

      SST 09223-00010, 09726-40010 

    5. Install the ring gear mounting case plate washer to the case.

      HINT:

      Use a new washer with the same thickness as the removed one when installation.

      Fig 11: Installing Ring Gear Mounting Case Plate Washer To Case
      G04464588Courtesy of © TOYOTA, LICENSE AGREEMENT TMS1002
    6. Using SST and a press, press the ring gear mounting case bearing LH outer race into the transfer case.

      SST 09950-60010 (09951-00620), 09950-70010 (09951-07200) 

    7. Apply gear oil to the ring gear mounting case bearing.
      Fig 12: Applying Gear Oil To Ring Gear Mounting Case Bearing
      G04464589Courtesy of © TOYOTA, LICENSE AGREEMENT TMS1002
  8. INSTALL TRANSFER RING GEAR MOUNTING CASE 
    1. Apply gear oil to the transfer ring gear mounting case.
    2. Install the transfer ring gear mounting case to the transfer case.
      Fig 13: Installing Transfer Ring Gear Mounting Case
      G04464590Courtesy of © TOYOTA, LICENSE AGREEMENT TMS1002
  9. INSTALL NO. 1 TRANSFER OUTPUT SHAFT SPACER 
    1. To install a new transfer output shaft spacer No. 1, align the cutouts on it with the hole of the transfer case as shown in the illustration.
      Fig 14: Installing No. 1 Transfer Output Shaft Spacer
      G04464591Courtesy of © TOYOTA, LICENSE AGREEMENT TMS1002
  10. INSTALL NO. 2 TRANSFER RING GEAR MOUNTING CASE WASHER 
    1. Using a brass bar and a hammer, install a new transfer ring gear mounting case washer No. 2.

      HINT:

      Install a new washer No. 2 with the same thickness as the removed one.

      Fig 15: Installing No. 2 Transfer Ring Gear Mounting Case Washer
      G04464592Courtesy of © TOYOTA, LICENSE AGREEMENT TMS1002
  11. INSTALL BEARING CAP 
    1. Install the bearing cap with the 2 bolts.

      Torque: 63 N*m (644 kgf*cm, 47 ft.*lbf) 

      Fig 16: Installing Bearing Cap
      G04464593Courtesy of © TOYOTA, LICENSE AGREEMENT TMS1002
  12. INSPECT RING GEAR BACKLASH 
    1. Place a dial gauge on the teeth surface on the ring gear vertically, check with fixing the driven pinion and moving the ring gear.

      Backlash: 0.10 to 0.18 mm (0.0039 to 0.0071 in.) 

      NOTE: Check at least 3 positions on the circumference of the ring gear.
    2. If the backlash is not in the range of specified value, select the ring gear mounting case bearing LH side washer from the table and install it to meet the specified value.

      Washer thickness: mm (in.) 

      WASHER THICKNESS

      Mark Thickness Mark Thickness
      50 2.05 (0.0807) 68 2.59 (0.1020)
      51 2.08 (0.0819) 69 2.62 (0.1031)
      52 2.11 (0.0831) 70 2.65 (0.1043)
      53 2.14 (0.0843) 71 2.68 (0.1055)
      54 2.17 (0.0854) 72 2.71 (0.1067)
      55 2.20 (0.0866) 73 2.74 (0.1079)
      56 2.23 (0.0878) 74 2.77 (0.1091)
      57 2.26 (0.0890) 75 2.80 (0.1102)
      58 2.29 (0.0902) 76 2.83 (0.1114)
      59 2.32 (0.0913) 77 2.86 (0.1126)
      60 2.35 (0.0925) 78 2.89 (0.1138)
      61 2.38 (0.0937) 79 2.92 (0.1150)
      62 2.41 (0.0949) 80 2.95 (0.1161)
      63 2.44 (0.0961) 81 2.98 (0.1173)
      64 2.47 (0.0973) 82 3.01 (0.1185)
      65 2.50 (0.0984) 83 3.04 (0.1197)
      66 2.53 (0.0996) 84 3.07 (0.1209)
      67 2.56 (0.1008) - -
      Fig 17: Inspecting Ring Gear Backlash
      G04464594Courtesy of © TOYOTA, LICENSE AGREEMENT TMS1002
  13. INSTALL TOOTH CONTACT BETWEEN RING GEAR AND DRIVE PINION 
    1. Coat 3 or 4 teeth at the 4 different positions on the ring gear with red read.
      Fig 18: Installing Tooth Contact Between Ring Gear And Drive Pinion
      G04464595Courtesy of © TOYOTA, LICENSE AGREEMENT TMS1002
    2. Rotate the ring gear, inspect the teeth pattern.
      Fig 19: Inspecting Teeth Pattern
      G04464596Courtesy of © TOYOTA, LICENSE AGREEMENT TMS1002
    3. If the teeth are not contacting properly, select the proper washer again.

      Washer thickness: mm (in.) 

      WASHER THICKNESS

      Mark Thickness Mark Thickness
      AA 2.10 (0.0827) JA 2.34 (0.0921)
      AC 2.12 (0.0835) JC 2.36 (0.0929)
      BB 2.14 (0.0843) KB 2.38 (0.0937)
      CA 2.16 (0.0850) LA 2.40 (0.0945)
      CC 2.18 (0.0858) LC 2.42 (0.0953)
      DB 2.20 (0.0866) MB 2.44 (0.0961)
      EA 2.22 (0.0874) NA 2.46 (0.0969)
      EC 2.24 (0.0882) NC 2.48 (0.0976)
      FB 2.26 (0.0890) PB 2.50 (0.0984)
      GA 2.28 (0.0898) QA 2.52 (0.0992)
      GC 2.30 (0.0906) QC 2.54 (0.1000)
      HB 2.32 (0.0913) - -
      Fig 20: Installing Washer
      G04464597Courtesy of © TOYOTA, LICENSE AGREEMENT TMS1002
      NOTE: When the board thickness is changed, readjust the backlash.
  14. INSPECT AND ADJUST TOTAL PRELOAD 
    1. Using SST and a torque wrench, measure the total preload.

      SST 09326-20011 

      Torque: New bearing total preload 

      0.30 to 0.45 N*m (3.0 to 4.6 kgf*cm, 2.6 to 4.0 in.*lbf) + Driven pinion preload 

      Torque: Reused bearing total preload 

      0.19 to 0.34 N*m (1.9 to 3.4 kgf*cm, 1.7 to 3.0 in.*lbf) + Driven pinion preload 

      HINT:

      • Using a torque wrench with a fulcrum length of 160 mm 6.3 in.).
      • Turn the driven pinion counterclockwise and clockwise several times.

      If the preload non-standard, again select proper washer.

      Washer thickness: mm (in.) 

      WASHER THICKNESS

      Mark Thickness Mark Thickness
      A0 2.47 (0.0972) C3 3.16 (0.1244)
      A1 2.50 (0.0984) C4 3.19 (0.1256)
      A2 2.53 (0.0996) C5 3.22 (0.1268)
      A3 2.56 (0.1008) C6 3.25 (0.1280)
      A4 2.59 (0.1020) C7 3.28 (0.1291)
      A5 2.62 (0.1031) C8 3.31 (0.1303)
      A6 2.65 (0.1043) C9 3.34 (0.1315)
      A7 2.68 (0.1055) D0 3.37 (0.1327)
      A8 2.71 (0.1067) D1 3.40 (0.1339)
      A9 2.74 (0.1079) D2 3.43 (0.1350)
      B0 2.77 (0.1091) D3 3.46 (0.1362)
      B1 2.80 (0.1102) D4 3.49 (0.1374)
      B2 2.83 (0.1114) D5 3.52 (0.1386)
      B3 2.86 (0.1126) D6 3.55 (0.1398)
      B4 2.89 (0.1138) D7 3.58 (0.1409)
      B5 2.92 (0.1150) D8 3.61 (0.1421)
      B6 2.95 (0.1161) D9 3.64 (0.1433)
      B7 2.98 (0.1173) E0 3.67 (0.1445)
      B8 3.01 (0.1185) E1 3.70 (0.1457)
      B9 3.04 (0.1197) E2 3.73 (0.1469)
      C0 3.07 (0.1209) E3 3.76 (0.1480)
      C1 3.10 (0.1220) E4 3.79 (0.1492)
      C2 3.13 (0.1232) E5 3.82 (0.1504)
      Fig 21: Installing Washer
      G04464598Courtesy of © TOYOTA, LICENSE AGREEMENT TMS1002
    2. Using a chisel and a hammer, stake the gear nut.
      Fig 22: Staking Gear Nut
      G04464599Courtesy of © TOYOTA, LICENSE AGREEMENT TMS1002
  15. INSTALL TRANSFER CASE RH OIL SEAL 
    1. Using SST and a hammer, drive a new transfer case RH oil seal into the case until it reaches the position shown in the illustration.

      SST 09950-60010 (09951-00360, 09951-00590, 09952-06010), 09950-70010 (09951-07150) 

      Drive in depth: 33.7 to 34.3 mm (1.328 to 1.350 in.) 

      NOTE: Do not install the oil seal at an angle.
    2. Apply a little MP grease to the lip of the transfer case RH oil seal.
      Fig 23: Installing Transfer Case RH Oil Seal
      G04464600Courtesy of © TOYOTA, LICENSE AGREEMENT TMS1002
  16. INSTALL TRANSFER CASE OIL SEAL 
    1. Using SST and a hammer, drive a new transfer case oil seal into the transfer case until the position in the illustration.

      SST 09316-60011 (09316-00011) 

      Drive in depth: 9.7 to 10.3 mm (0.328 to 0.406 in.) 

    2. Apply a little MP grease to the lip of the transfer case oil seal.
      Fig 24: Installing Transfer Case Oil Seal
      G04464601Courtesy of © TOYOTA, LICENSE AGREEMENT TMS1002
  17. INSTALL TRANSFER EXTENSION HOUSING TYPE T OIL SEAL 
    1. Using SST and a hammer, drive a new transfer extension housing type T oil seal into the extension housing until the position in the illustration.

      SST 09950-60010 (09951-00380, 09951-00580, 09952-06010), 09950-70010 (09951-07150) 

      Drive in depth: 1.1 to 1.9 mm (0.043 to 0.075 in.) 

    2. Apply a little MP grease to the lip of the transfer extension housing type T oil seal.
      Fig 25: Installing Transfer Extension Housing Type T Oil Seal
      G04464602Courtesy of © TOYOTA, LICENSE AGREEMENT TMS1002
  18. INSTALL TRANSFER EXTENSION HOUSING DUST DEFLECTOR 
    1. Using SST and a press, install the extension housing dust deflector to the transfer extension housing sub-assembly.

      SST 09950-60010 (09951-00640), 09950-70010 (09951-07150) 

      Fig 26: Installing Transfer Extension Housing Dust Deflector
      G04464603Courtesy of © TOYOTA, LICENSE AGREEMENT TMS1002
  19. INSTALL TRANSFER EXTENSION HOUSING SUB-ASSEMBLY 
    1. Remove any FIPG material and be careful not to drop oil on the contacting surfaces of the transfer extension housing sub-assembly and the transfer case.
    2. Degrease the surface with white gasoline.
    3. Apply FIPG to the transfer extension housing sub-assembly.

      FIPG: Part No.08826-00090, THREE BOND 1281 or equivalent 

      Fig 27: Installing Transfer Extension Housing Sub-Assembly
      G04464604Courtesy of © TOYOTA, LICENSE AGREEMENT TMS1002
    4. Install the transfer extension housing sub-assembly with the 4 bolts to the transfer case.

      Torque: 26 N*m (260 kgf*cm, 19 ft.*lbf) 

      NOTE: Assemble transfer extension housing sub-assembly within 10 minutes after FIPG application.
  20. SEPARATE TRANSFER ASSEMBLY 
    1. Remove the transfer assy from the overhaul attachment.
      Fig 28: Separating Transfer Assembly
      G04464605Courtesy of © TOYOTA, LICENSE AGREEMENT TMS1002
  21. INSTALL TRANSFER CASE STRAIGHT PIN 
    1. Using a plastic hammer, drive the 4 transfer case straight pins into the position in the illustration of the transfer case.
      Fig 29: Installing Transfer Case Straight Pin
      G04464606Courtesy of © TOYOTA, LICENSE AGREEMENT TMS1002
  22. INSTALL TRANSFER DYNAMIC DAMPER 
    1. Install the transfer dynamic damper with the 3 bolts to the transfer extension housing sub-assembly.

      Torque: 26 N*m (260 kgf*cm, 19 ft.*lbf) 

  23. INSTALL TRANSFER CASE BREATHER PLUG 
    Fig 30: Installing Transfer Dynamic Damper
    G04464607Courtesy of © TOYOTA, LICENSE AGREEMENT TMS1002
  24. INSTALL NO. 1 TRANSFER CASE COVER 
    1. Install the breather oil deflector with the bolt.

      Torque: 6.5 N*m (66 kgf*cm, 58 in.*lbf) 

    2. Remove any FIPG material and be careful not to drop oil on the contacting surfaces of the transfer case cover No. 1 and the transfer case.
    3. Degrease the surface with white gasoline.
    4. Apply FIPG to the transfer case cover No. 1.

      FIPG: Part No. 08826-00090, THREE BOND 1281 or equivalent 

      Fig 31: Installing No. 1 Transfer Case Cover
      G04464608Courtesy of © TOYOTA, LICENSE AGREEMENT TMS1002
    5. Install the transfer case cover No. 1 with the 8 bolts.

      Torque: 20 N*m (200 kgf*cm, 14 ft.*lbf) 

      NOTE:
      • Before pouring transfer oil, leave it at least an hour.
      • Assemble transfer case cover No. 1 within 10 minutes after FIPG application.
        Fig 32: Installing Transfer Case Cover No. 1
        G04464609Courtesy of © TOYOTA, LICENSE AGREEMENT TMS1002
  25. INSTALL TRANSFER DRAIN PLUG 
    1. Install a new gasket to the transfer drain plug.
    2. Install the transfer drain plug to the transfer assembly.

      Torque: 49 N*m (500 kgf*cm, 36 ft.*lbf) 

      Fig 33: Installing Transfer Drain Plug
      G04464610Courtesy of © TOYOTA, LICENSE AGREEMENT TMS1002
  26. INSTALL NO. 1 TRANSFER CASE PLUG 
    1. Install a new gasket to the transfer case No. 1 plug.
    2. Temporary tighten the transfer case No. 1 plug to the transfer assembly.
      Fig 34: Installing No. 1 Transfer Case Plug
      G04464611Courtesy of © TOYOTA, LICENSE AGREEMENT TMS1002
  27. INSTALL NO. 2 TRANSFER CASE PLUG 
    1. Install a new gasket to the transfer case No. 2 plug.
    2. Install the transfer case No. 2 plug to the transfer assembly.

      Torque: 49 N*m (500 kgf*cm, 36 ft.*lbf) 

  28. INSTALL TRANSFER & TRANSAXLE SETTING STUD BOLT 
    1. Install the 4 transfer & transaxle setting stud bolts to the position in the illustration of the transfer case.

      Torque: 39 N*m (400 kgf*cm, 29 ft.*lbf) 

      Fig 35: Installing Transfer & Transaxle Setting Stud Bolt
      G04464612Courtesy of © TOYOTA, LICENSE AGREEMENT TMS1002

      HINT:

      In the case of this transfer & transaxle setting stud bolts in the illustration, the bottom side is the transfer case installation side.

      Fig 36: Identifying Transfer & Transaxle Setting Stud Bolts
      G04464613Courtesy of © TOYOTA, LICENSE AGREEMENT TMS1002

      Stud bolt length: 

      A: 30 mm (1.1811 in.) 

      B: 12 mm (0.4724 in.) 

      C: 22 mm (0.8661 in.)