LEMON Manuals: Even more car manuals for everyone
Home >> Toyota >> 2006 >> Matrix Base, 4WD >> Repair and Diagnosis >> General Information >> Identification >> Introduction >> Identification Information >> Vehicle Identification And Serial Numbers

Vehicle Identification And Serial Numbers

  1. VEHICLE IDENTIFICATION NUMBER 
    1. The vehicle identification number is stamped on the vehicle body and on the certification label, as shown in the illustration.
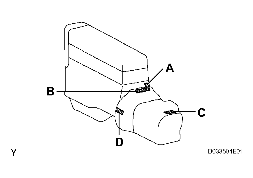
      Fig 1: Locating Vehicle Identification And Serial Numbers
      G04458844Courtesy of © TOYOTA, LICENSE AGREEMENT TMS1002
      1. Vehicle Identification Number 
      2. Certification Label 
      3. Frame Number 
  2. ENGINE SERIAL NUMBER AND TRANSMISSION SERIAL NUMBER 
    1. The engine serial number is stamped on the cylinder block of the engine, and the transaxle serial number is stamped on the housing, as shown in the illustration.
      1. 1ZZ-FE, 2ZZ-GE 
      2. C59, C60 
      3. A246E 
      4. U341F 
        Fig 2: Locating Engine Serial Number And Transmission Serial Number
        G04458845Courtesy of © TOYOTA, LICENSE AGREEMENT TMS1002