LEMON Manuals: Even more car manuals for everyone
Home >> Toyota >> 2006 >> Land Cruiser >> Repair and Diagnosis >> Engine Performance >> System >> Engine Control System - System And Component Testing >> VC Output Circuit >> Wiring Diagram

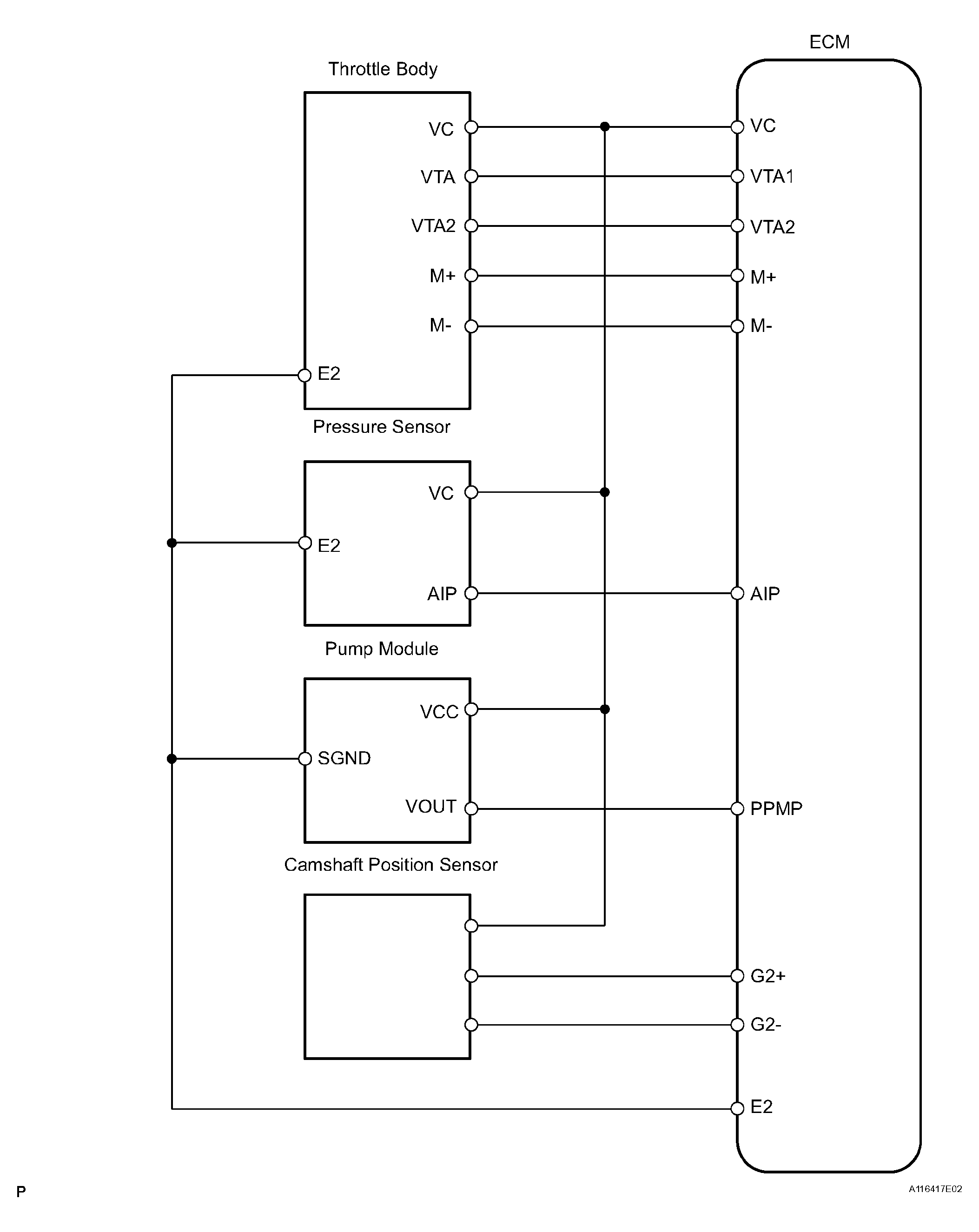
VC Output Circuit: Wiring Diagram

Fig 1: VC Output Circuit Wiring Diagram
G04435486Courtesy of © TOYOTA, LICENSE AGREEMENT TMS1002