LEMON Manuals: Even more car manuals for everyone
Home >> Toyota >> 2005 >> Matrix Base, FWD, Standard >> Repair and Diagnosis >> Engine Performance >> Remove, Overhaul & Install >> Engine Control System >> ECM (1ZZ-FE/2ZZ-GE) >> Replacement

ECM (1ZZ-FE/2ZZ-GE): Replacement

  1. DISCONNECT BATTERY NEGATIVE TERMINAL 
  2. REMOVE GLOVE COMPARTMENT DOOR ASSY 
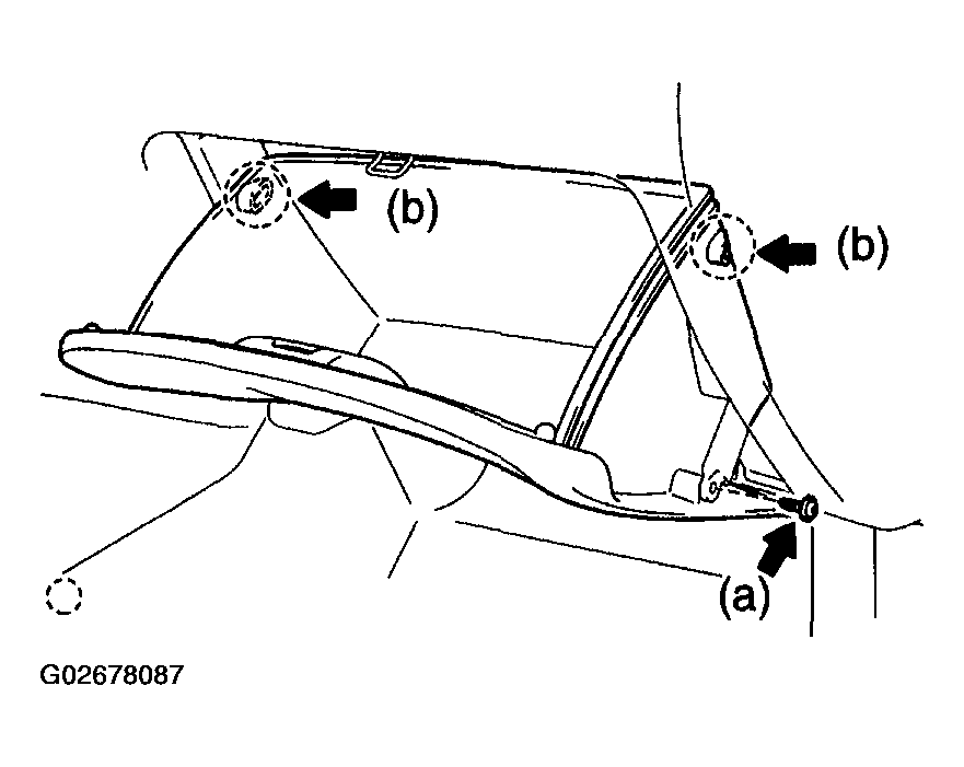
    1. Remove the screw from the glove compartment door stoppers.
    2. Deform the upper part of the glove compartment door assy to release the stoppers.
    3. Pull the glove compartment door assy upward to remove it.
      Fig 1: Pulling Glove Compartment Door
      G02678087Courtesy of © TOYOTA, LICENSE AGREEMENT TMS1002
  3. REMOVE ECM 
    1. Remove the 2 clips using a clip remover, then open the cover.
      Fig 2: Removing Clips Then Open Cover
      G02678088Courtesy of © TOYOTA, LICENSE AGREEMENT TMS1002
    2. Disconnect the 4 ECM connectors.
    3. Remove the wire harness from the wire harness clamp.
      Fig 3: Disconnecting ECM Connectors
      G02678089Courtesy of © TOYOTA, LICENSE AGREEMENT TMS1002
    4. Remove the 2 screws.
    5. Unfasten the claw and clip, and then remove the ECM.
      Fig 4: Removing Claw And Clip
      G02678090Courtesy of © TOYOTA, LICENSE AGREEMENT TMS1002
  4. REMOVE ECM COVER 
    1. Remove the ECM cover from the ECM.
      Fig 5: Identifying ECM Cover
      G02678091Courtesy of © TOYOTA, LICENSE AGREEMENT TMS1002
  5. REMOVE ECM BRACKET (DELCO MADE) 
    1. Remove the 4 screws, then remove the ECM bracket.
      Fig 6: Removing Screws Then ECM Bracket (Delco Made)
      G02678092Courtesy of © TOYOTA, LICENSE AGREEMENT TMS1002
  6. REMOVE ECM BRACKET (DENSO MADE) 
    1. Remove the 2 screws, then remove the ECM bracket.
      Fig 7: Removing Screws Then ECM Bracket (Denso Made)
      G02678093Courtesy of © TOYOTA, LICENSE AGREEMENT TMS1002
  7. REMOVE ECM BRACKET NO. 2 (DENSO MADE) 
    1. Remove the 2 screws, then remove the ECM bracket No. 2.
      Fig 8: Removing Screws Then ECM Bracket No. 2
      G02678094Courtesy of © TOYOTA, LICENSE AGREEMENT TMS1002
  8. REMOVE ECM BRACKET NO.3 (DENSO MADE) 
    1. Remove the 2 screws, then remove the ECM bracket No. 3.
      Fig 9: Removing Screws Then ECM Bracket No. 3
      G02678095Courtesy of © TOYOTA, LICENSE AGREEMENT TMS1002
  9. INSTALL ECM BRACKET NO. 3 (DENSO MADE) 
    1. Install the ECM bracket No. 3 with the 2 screws.

      Torque: 3.2 N.m (33 kgf.cm, 28 in..lbf) 

      Fig 10: Installing ECM Bracket No. 3 Tightening Screws
      G02678096Courtesy of © TOYOTA, LICENSE AGREEMENT TMS1002
  10. INSTALL ECM BRACKET NO. 2 (DENSO MADE) 
    1. Install the ECM bracket No. 2 with the 2 screws.

      Torque: 3.2 N.m (33 kgf.cm, 28 in..lbf) 

      Fig 11: Installing ECM Bracket No. 2 Tightening Screws
      G02678097Courtesy of © TOYOTA, LICENSE AGREEMENT TMS1002
  11. INSTALL ECM BRACKET (DENSO MADE) 
    1. Install the ECM bracket with the 2 screws.

      Torque: 3.2 N.m (33 kgf.cm, 28 in..lbf) 

      Fig 12: Installing ECM Bracket Tightening Screws (Denso Made)
      G02678098Courtesy of © TOYOTA, LICENSE AGREEMENT TMS1002
  12. INSTALL ECM BRACKET (DELCO MADE) 
    1. Install the ECM bracket with the 4 screws.

      Torque: 3.2 N.m (33 kgf.cm, 28 in..lbf) 

      Fig 13: Installing ECM Bracket Tightening Screws (Delco Made)
      G02678099Courtesy of © TOYOTA, LICENSE AGREEMENT TMS1002
  13. INSTALL ECM COVER 
    1. Install a new ECM cover onto the ECM as shown in the illustration.
      Fig 14: Installing ECM Cover
      G02678100Courtesy of © TOYOTA, LICENSE AGREEMENT TMS1002
  14. INSTALL ECM 
    1. Install the ECM with the 2 screws.

      Torque: 3.0 N.m (31 kgf.cm, 27 in..lbf) 

      Fig 15: Installing ECM And Screws
      G02678101Courtesy of © TOYOTA, LICENSE AGREEMENT TMS1002
    2. Connect the 4 ECM connectors.
    3. Install the wire harness clamp.
      Fig 16: Connecting ECM Connectors
      G02678102Courtesy of © TOYOTA, LICENSE AGREEMENT TMS1002
    4. Install the cover with the 2 clips.
      Fig 17: Installing Cover And Clips
      G02678103Courtesy of © TOYOTA, LICENSE AGREEMENT TMS1002
  15. INSTALL GLOVE COMPARTMENT DOOR ASSY 
  16. CONNECT BATTERY NEGATIVE TERMINAL 

    Torque: 5.4 N.m (55 kgf.cm, 48 in..lbf) 

  17. REGISTRATION VIN (See  REGISTRATION  )