LEMON Manuals: Even more car manuals for everyone
Home >> Toyota >> 2004 >> Matrix Base, FWD, Automatic >> Repair and Diagnosis >> External Pages >> Different car >> Section 75 (Automatic Transmission Shift Interlock Systems) >> Component Tests >> Key Interlock Solenoid >> Lexus GS300 & GS430

Lexus GS300 & GS430

WARNING: This page does not describe the selected car, but rather 45 other vehicles, including the 2002 Toyota Tundra, 2002 Toyota Tacoma, 2002 Toyota Sienna, 2002 Toyota Sequoia, and 2002 Toyota RAV4. However, it is still accessible from the selected car via links, so may be relevant.
  1. Disconnect the solenoid connector. Using an ohmmeter, measure the resistance between terminals. See Fig 1. Resistance should be 12-17 ohms. If resistance value is not as specified, replace the solenoid. See KEY INTERLOCK SOLENOID  under REMOVAL & INSTALLATION.
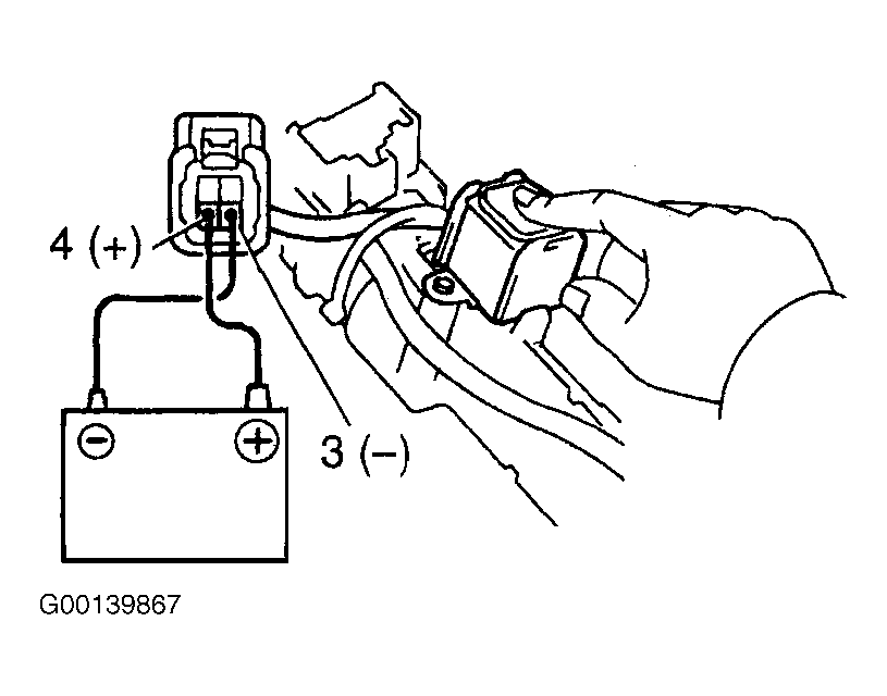
  2. Momentarily supply battery positive voltage and ground at terminals. See Fig 2. Ensure an operating noise can be heard from the solenoid. If the solenoid does not operated, replace the solenoid. See KEY INTERLOCK SOLENOID  under REMOVAL & INSTALLATION.
Fig 1: Measuring Resistance Of Key Interlock Solenoid (Lexus GS300 & GS430)
G00139866Courtesy of © TOYOTA, LICENSE AGREEMENT TMS1002
Fig 2: Testing Operation Of Key Interlock Solenoid (Lexus GS300 & GS430)
G00139867Courtesy of © TOYOTA, LICENSE AGREEMENT TMS1002