LEMON Manuals: Even more car manuals for everyone
Home >> Toyota >> 2004 >> Matrix Base, FWD, Automatic >> Repair and Diagnosis >> External Pages >> Different car >> Section 667 (Lighting System) >> Headlamp Assembly >> Replacement

Headlamp Assembly: Replacement

WARNING: This page is about a different car, the 2004 Toyota Camry. However, it is still accessible from the selected car via links, so may be relevant.
NOTE: For steps 1)-5)  , refer to FRONT BUMPER .
  1. REMOVE ENGINE UNDER COVER LH 
  2. REMOVE ENGINE UNDER COVER RH 
  3. REMOVE FRONT FENDER LINER RH 
  4. REMOVE FRONT FENDER LINER LH 
  5. REMOVE FRONT BUMPER COVER 
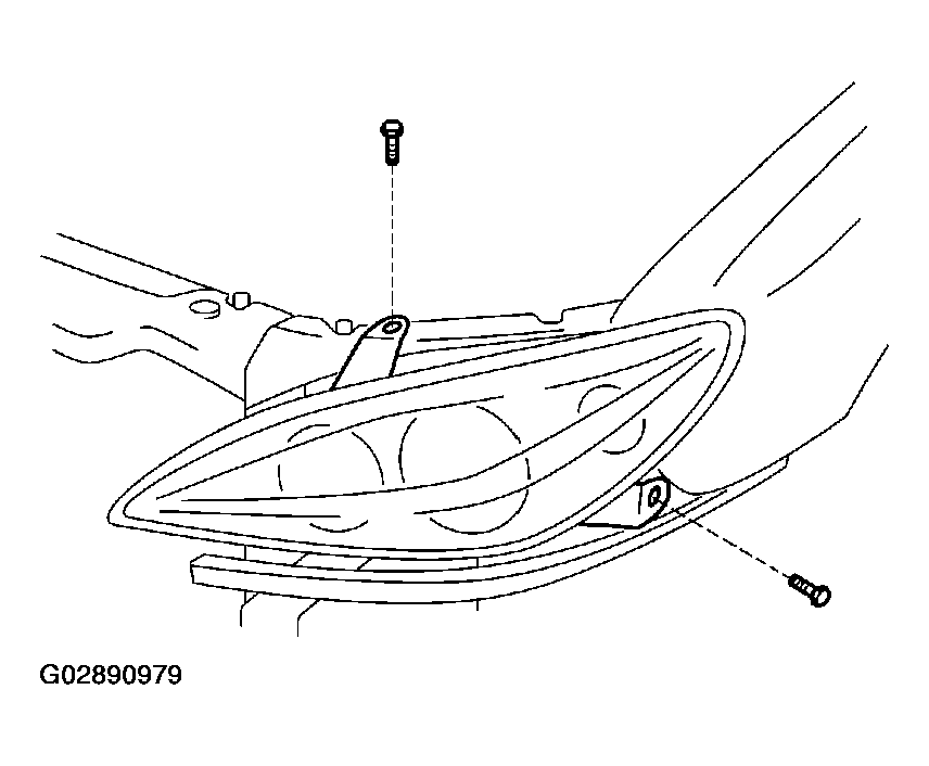
  6. REMOVE LH HEADLAMP ASSY 
    1. Remove the 2 bolts.
    2. Disconnect the connectors.
      Fig 1: Removing LH Headlamp Assembly (1 Of 2)
      G02890979Courtesy of © TOYOTA, LICENSE AGREEMENT TMS1002
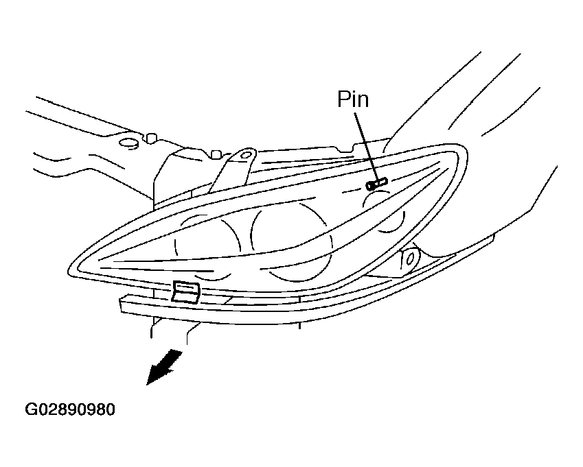
    3. Pull out the headlight unit forward.
    4. Remove the headlight assy.
      Fig 2: Removing Headlight Assembly (2 Of 2)
      G02890980Courtesy of © TOYOTA, LICENSE AGREEMENT TMS1002
  7. REMOVE HEADLAMP PROTECTOR RETAINER UPPER LH 
    NOTE: When only the installation part of the headlight unit assy LH is damaged, it can be repaired inexpensively by using a headlight protector retainer UPPER LH. In this case, however, the headlight unit assy LH itself should not be damaged.
    1. Cut off the part shaded in the illustration and sand smooth with sandpaper.
      NOTE: After cutting off the part roughly, place the headlight protector retainer UPPER LH against the bosses and gradually file any interfering part until the proper condition for installation is made.
      Fig 3: Removing Headlamp Protector Retainer Upper LH
      G02890981Courtesy of © TOYOTA, LICENSE AGREEMENT TMS1002
    2. Install the headlight protector retainer UPPER LH with the 2 screws.
      Fig 4: Installing Headlight Protector Retainer Upper LH
      G02890982Courtesy of © TOYOTA, LICENSE AGREEMENT TMS1002
  8. HEADLIGHT AIM ONLY (See  ADJUSTMENT  )