LEMON Manuals: Even more car manuals for everyone
Home >> Toyota >> 2004 >> Matrix Base, FWD, Automatic >> Repair and Diagnosis >> External Pages >> Different car >> Section 517 (Engine Control System) >> SFI System (1NZ-FXE) >> System Diagram

System Diagram

WARNING: This page is about a different car, the 2004 Toyota Prius. However, it is still accessible from the selected car via links, so may be relevant.

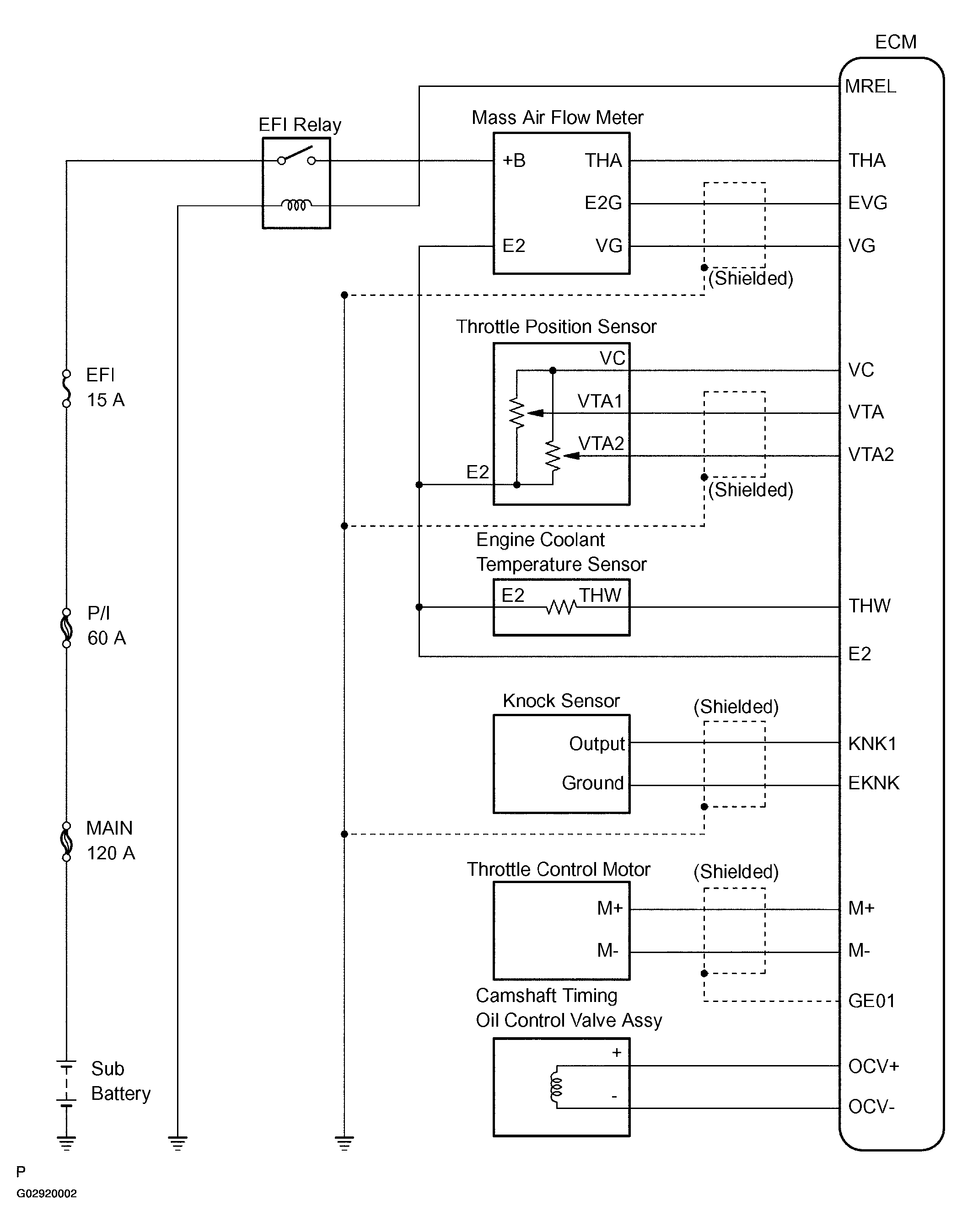
The engine control system is determined by the ECM based on signals from various sensors.

Fig 1: Wiring Diagram: SFI System (1NZ-FXE)
G02920002Courtesy of © TOYOTA, LICENSE AGREEMENT TMS1002