LEMON Manuals: Even more car manuals for everyone
Home >> Toyota >> 2004 >> Matrix Base, FWD, Automatic >> Repair and Diagnosis >> External Pages >> Different car >> Section 447 (Multiplex Communication System - Diagnostics) >> Circuit Inspection >> DTC B1248/48: AVC-LAN Circuit Communication Stop >> Wiring Diagram

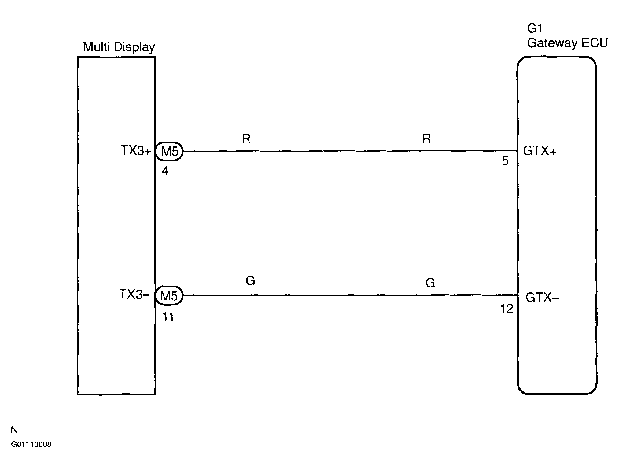
DTC B1248/48: AVC-LAN Circuit Communication Stop: Wiring Diagram

WARNING: This page is about a different car, the 2002 Toyota Prius. However, it is still accessible from the selected car via links, so may be relevant.
Fig 1: AVC-LAN Circuit
G01113008Courtesy of © TOYOTA, LICENSE AGREEMENT TMS1002