LEMON Manuals: Even more car manuals for everyone
Home >> Toyota >> 2004 >> Matrix Base, FWD, Automatic >> Repair and Diagnosis >> External Pages >> Different car >> Section 423 (Power Window Control System) >> Power Window Control System >> Inspection >> Step 5 - Inspect Power Main Relay Continuity

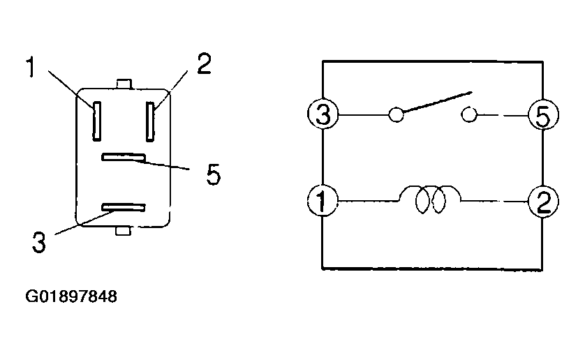
Step 5 - Inspect Power Main Relay Continuity

WARNING: This page is about a different car, the 2002 Toyota Tundra. However, it is still accessible from the selected car via links, so may be relevant.
Fig 1: Identifying Power Main Relay Terminals
G01897848Courtesy of © TOYOTA, LICENSE AGREEMENT TMS1002
Fig 2: Power Main Relay Terminal Specifications
G01897847Courtesy of © TOYOTA, LICENSE AGREEMENT TMS1002

If continuity is not as specified, replace the switch.