LEMON Manuals: Even more car manuals for everyone
Home >> Toyota >> 2004 >> Matrix Base, FWD, Automatic >> Repair and Diagnosis >> External Pages >> Different car >> Section 387 (Driver Door Control System - Diagnostics) >> Circuit Inspection >> Jam Protection Limit Switch Circuit >> Wiring Diagram

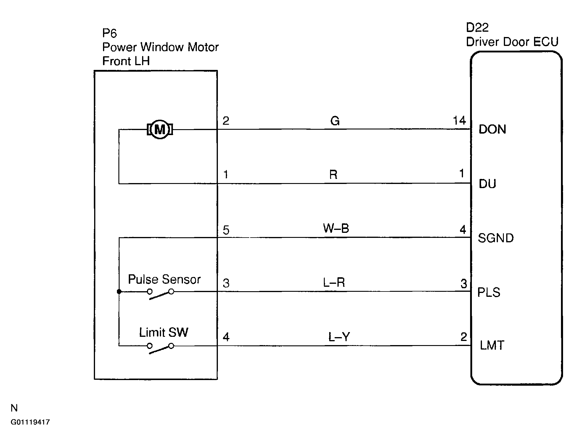
Jam Protection Limit Switch Circuit: Wiring Diagram

WARNING: This page is about a different car, the 2002 Toyota Sequoia. However, it is still accessible from the selected car via links, so may be relevant.
Fig 1: Jam Protection Limit Switch Circuit Wiring Diagram
G01119417Courtesy of © TOYOTA, LICENSE AGREEMENT TMS1002