LEMON Manuals: Even more car manuals for everyone
Home >> Toyota >> 2004 >> Matrix Base, FWD, Automatic >> Repair and Diagnosis >> External Pages >> Different car >> Section 201 (Power Mirror Control System) >> Component Tests >> Power Mirror Position Memory Sensors

Power Mirror Position Memory Sensors

WARNING: This page is about a different car, the 2002 Toyota Avalon. However, it is still accessible from the selected car via links, so may be relevant.
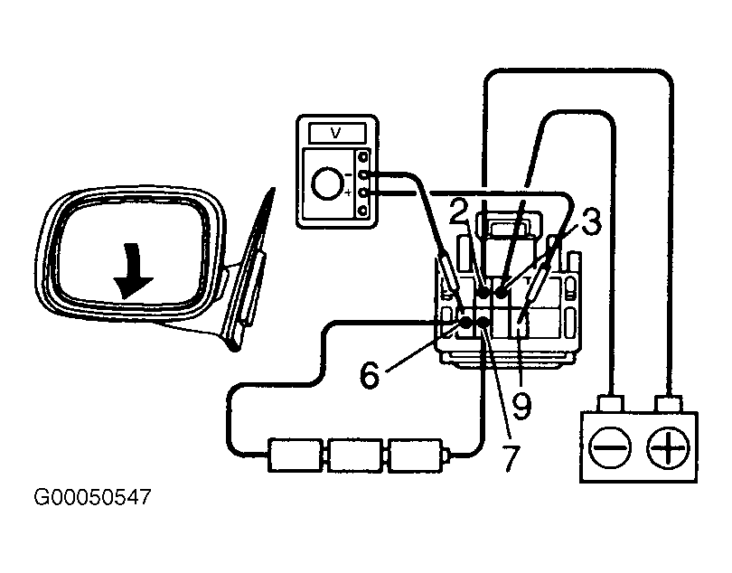
  1. Turn ignition off. Disconnect power mirror motor 10-pin electrical harness connector. Strip off vinyl tape from mirror side of connector and remove wire terminals No. 2, 3, 6, 7 and 9 from connector housing. Connect three 1.5-volt dry cell batteries in series. See Fig 1.
    Fig 1: Testing Power Mirror Position Memory Sensors
    G00050547Courtesy of © TOYOTA, LICENSE AGREEMENT TMS1002
  2. Using jumper wires, connect positive lead of dry cell batteries to mirror terminal No. 7 and negative lead of dry cell batteries to mirror terminal No. 6. Connect DVOM positive lead to mirror terminal No. 9 and negative lead to mirror terminal No. 6. See Fig 1.
  3. Using jumper wires, connect positive battery voltage to power mirror terminal No. 2 and connect negative battery voltage to power mirror terminal No. 3. See Fig 1. Monitor DVOM to ensure voltage changes gradually from mirror uppermost position of 0-1.8 volts to mirror lowermost position of 2.8-5.0 volts. If voltage is not as specified, replace power mirror assembly.
  4. Disconnect vehicle battery and DVOM leads. Leave dry cell battery leads connected to mirror terminals No. 6 and 7. Connect DVOM positive lead to mirror terminal No. 8 and negative lead to mirror terminal No. 6.
  5. Using jumper wires, connect positive battery voltage to power mirror terminal No. 2 and connect negative battery voltage to power mirror terminal No. 1. See Fig 1. Monitor DVOM to ensure voltage changes gradually from mirror left-most to right-most position. Reverse battery voltage jumper wires on terminals No. 1 and 2 and ensure voltage changes gradually from mirror right-most to left-most position.
  6. With mirror voltage applied in left position, voltage should gradually change from right-most position of 0-1.8 volts to 2.8-5.0 volts in left-most position. With mirror voltage applied in right position, voltage should gradually change from left-most position of 0-1.8 volts to 2.8-5.0 volts in right-most position. If voltage is not as specified, replace power mirror assembly.