LEMON Manuals: Even more car manuals for everyone
Home >> Toyota >> 2004 >> Matrix Base, FWD, Automatic >> Repair and Diagnosis >> External Pages >> Different car >> Section 185 (Body Control System) >> Circuit Tests >> Wireless Door Lock Tuner Circuit >> Circuit Description

Circuit Description

WARNING: This page is about a different car, the 2002 Lexus RX 300. However, it is still accessible from the selected car via links, so may be relevant.

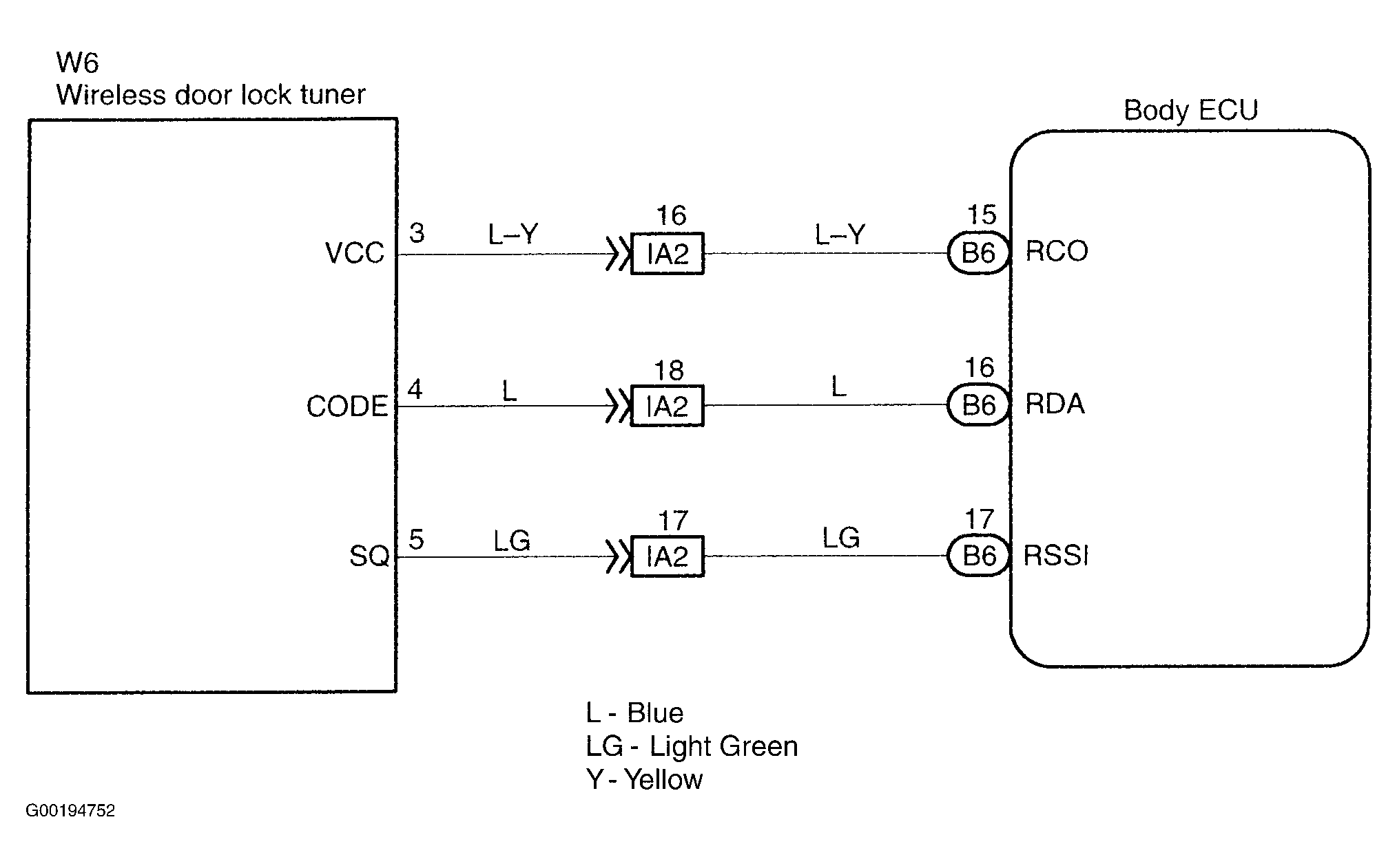
The signal from the transmitter will be input to the body ECU through RDA line. The RDA line is diagnosed by the body ECU, so check the DTC also in case of the failure of the wireless function. See Fig 1.

Fig 1: Identifying Wireless Door Lock Tuner Circuit
G00194752Courtesy of © TOYOTA, LICENSE AGREEMENT TMS1002