LEMON Manuals: Even more car manuals for everyone
Home >> Toyota >> 2004 >> Matrix Base, FWD, Automatic >> Repair and Diagnosis >> External Pages >> Different car >> Section 160 (Body Control Systems) >> Circuit Tests >> Stop Light Switch Circuit >> Inspection Procedure

Inspection Procedure

WARNING: This page is about a different car, the 2003 Lexus GS 430, 2003 Lexus GS 300, 2002 Lexus GS 430, and 2002 Lexus GS 300. However, it is still accessible from the selected car via links, so may be relevant.

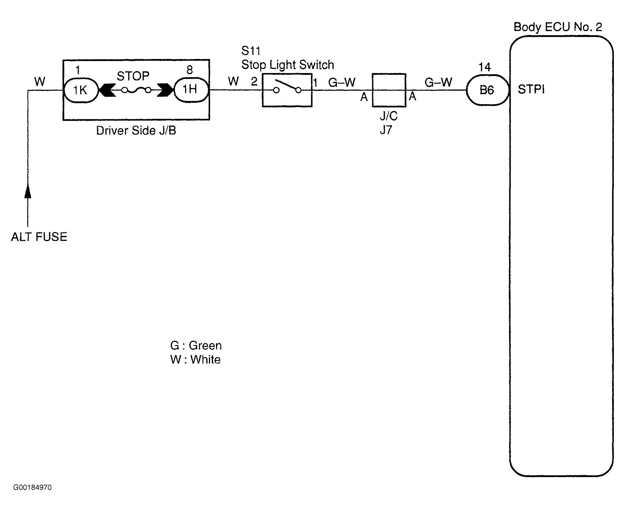
For circuit wiring diagram, see Fig 1.

NOTE: If using the hand-held tester, start the inspection from step  1 and if not using the hand-held tester, start from step  2.
  1. Check the stop light switch using the hand-held tester. Connect the hand-held tester to DLC3. See Figure. Check the stop light switch using DATA LIST. If the results are OK, inspect the Engine Control Module (ECM) and stop light switch circuit. See DTC P1520/52: SHORT IN STOP LIGHT SWITCH CIRCUIT article under DIAGNOSTIC TESTS under SELF-DIAGNOSTIC SYSTEM in CRUISE CONTROL SYSTEM. If the results are not OK, go to the next step.
  2. Check the stop light switch. See STOP LIGHT SWITCH  under COMPONENT TESTS. If the results are OK, go to the next step. If the results are not OK, replace the stop light switch.
  3. Check for short to power, short to ground and continuity in the wiring harness and connector between the stop light switch and body ECU No. 2. If the results are OK, inspect the Engine Control Module (ECM) and stop light switch circuit. See DTC P1520/52: SHORT IN STOP LIGHT SWITCH CIRCUIT article under DIAGNOSTIC TESTS under SELF-DIAGNOSTIC SYSTEM in CRUISE CONTROL SYSTEM. If the results are not OK, repair or replace the wiring harness or connector.
Fig 1: Stop Light Switch Circuit Wiring Diagram
G00184970Courtesy of © TOYOTA, LICENSE AGREEMENT TMS1002