LEMON Manuals: Even more car manuals for everyone
Home >> Toyota >> 2004 >> Matrix Base, 4WD >> Repair and Diagnosis >> External Pages >> Different car >> Section 660 (Skid Control Sensor) >> Replacement

Section 660 (Skid Control Sensor): Replacement

WARNING: This page is about a different car, the 2004 Toyota Camry. However, it is still accessible from the selected car via links, so may be relevant.

HINT:

Replace the RH side by the same procedure with LH side.

  1. REMOVE REAR WHEEL 
  2. DISCONNECT SKID CONTROL SENSOR WIRE 
    1. Disconnect the connector from the skid control sensor.
      Fig 1: Disconnecting Connector From Skid Control Sensor
      G02889804Courtesy of © TOYOTA, LICENSE AGREEMENT TMS1002
  3. REMOVE REAR DISC BRAKE CALIPER ASSY LH (See  REAR BRAKE CALIPER  ) 
  4. REMOVE REAR DISC 
  5. REMOVE REAR AXLE HUB & BEARING ASSY LH 
    1. Remove the 4 bolts and rear axle hub & bearing assy.
      Fig 2: Removing Bolts And Rear Axle Hub & Bearing Assy
      G02889805Courtesy of © TOYOTA, LICENSE AGREEMENT TMS1002
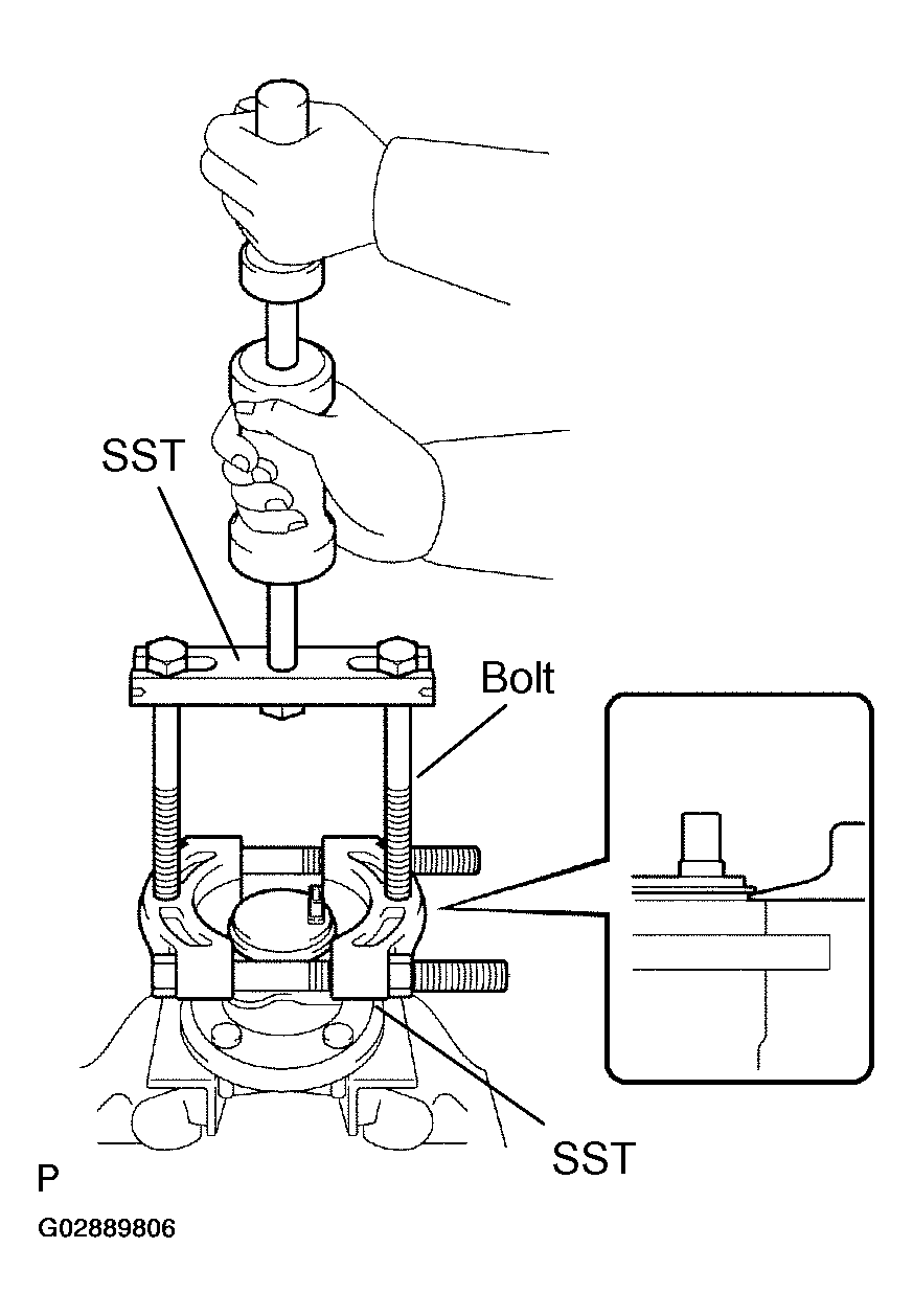
  6. REMOVE SKID CONTROL SENSOR 
    1. Mount the rear axle hub in a soft jaw vise.
      NOTE: Replace the axle hub assembly if it is dropped or a strong shock is given to it.
    2. Using a pin punch and hammer, drive out the 2 pins and remove the 2 attachments from SST.
    3. Using SST and 2 bolts (Diameter: 12 mm, pitch: 1.5 mm), remove the skid control sensor from the rear axle hub.

      SST 09520-00031 (09520-00040), 09521-00020, 09950-00020

      NOTE:
      • If a damage is inflicted to the sensor rotor, replace the axle hub assembly.
      • Do not scratch the contacting surface of axle hub and speed sensor.
  7. INSTALL SKID CONTROL SENSOR 
    1. Clean the contacting surface of the axle hub and a new skid control sensor.
      NOTE: Make sure the sensor rotor is clean.
      Fig 3: Removing Skid Control Sensor From Rear Axle Hub
      G02889806Courtesy of © TOYOTA, LICENSE AGREEMENT TMS1002
    2. Place the speed sensor on the axle hub so that the connector is positioned, as shown in the illustration.
      Fig 4: Placing Speed Sensor On Axle Hub
      G02889807Courtesy of © TOYOTA, LICENSE AGREEMENT TMS1002
    3. Using SST and a press, install the skid control sensor to the axle hub.

      SST 09830-36010, 09950-60010 (09951-00650), 09950-70010 (09951-07100)

      NOTE:
      • Do not tap the skid control sensor with a hammer directly.
      • Check that the skid control sensor detection part is clean.
      • Press in the skid control sensor straight and slowly.
      Fig 5: Installing Skid Control Sensor To Axle Hub
      G02889808Courtesy of © TOYOTA, LICENSE AGREEMENT TMS1002
  8. INSTALL REAR AXLE HUB & BEARING ASSY LH 
    1. Install the rear axle hub & bearing assy with the 4 bolts.

      Torque: 80 N.m (816 kgf.cm, 59 ft.lbf) 

      Fig 6: Installing Rear Axle Hub & Bearing Assy LH Bolts
      G02889809Courtesy of © TOYOTA, LICENSE AGREEMENT TMS1002
  9. INSTALL REAR DISC 
  10. INSTALL REAR DISC BRAKE CALIPER ASSY LH (See  REAR BRAKE CALIPER  ) 
  11. CONNECT SKID CONTROL SENSOR WIRE 
  12. INSTALL REAR WHEEL 

    Torque: 103 N.m (1,050 kgf.cm, 76 ft.lbf) 

  13. INSPECT TIRE (See  INSPECTION  ) 
  14. MEASURE VEHICLE HEIGHT (See  FRONT WHEEL ALIGNMENT (FROM JULY, 2003)  ) 
  15. INSPECT SIDE SLIP (See  SPECIFICATIONS & PROCEDURES  ) 
  16. INSPECT CAMBER (See  SPECIFICATIONS & PROCEDURES  ) 
  17. INSPECT TOE-IN (See  SPECIFICATIONS & PROCEDURES  ) 
  18. ADJUST CAMBER AND TOE-IN (See  SPECIFICATIONS & PROCEDURES  ) 
  19. CHECK ABS SPEED SENSOR SIGNAL: 

    (See ABS Bosch made, PRE-CHECK )

    (See ABS Denso made, PRE-CHECK )

    (See ABS diagnostics, PRE-CHECK )