LEMON Manuals: Even more car manuals for everyone
Home >> Toyota >> 2004 >> Avalon XLS >> Repair and Diagnosis >> Body & Frame >> Windows >> Power Window Control System >> Inspection

Power Window Control System: Inspection

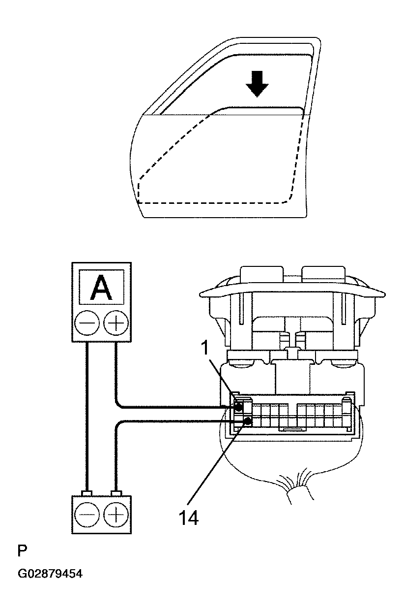
  1. Using an ammeter: 

    INSPECT ONE TOUCH POWER WINDOW SYSTEM/ CURRENT OF CIRCUIT 

    1. Disconnect the connector from the master switch.
    2. Connect the positive (+) lead from the ammeter to terminal 1 on the wire harness side connector and the negative (-) lead to negative (-) terminal of the battery.
    3. Connect the positive (+) lead from the battery to terminal 14 on the wire harness side connector.
    4. As the window goes down, check that the current flow is approximately 7 A.
    5. Check that the current increases up to approximately 14.5 A or more when the window stops going down.

    HINT:

    The PTC opens some 4 - 90 seconds after the window stops going down, so that check must be made before the PTC operates.

    If the operation is as specified, replace the driver door ECU.

    Fig 1: Inspecting One Touch Power Window System/ Current Of Circuit
    G02879454Courtesy of © TOYOTA, LICENSE AGREEMENT TMS1002
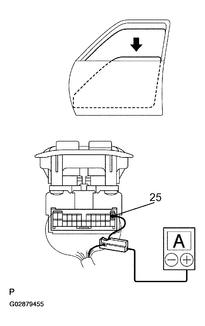
  2. Using an ammeter with a current-measuring probe: 

    INSPECT ONE TOUCH POWER WINDOW SYSTEM/ CURRENT OF CIRCUIT 

    1. Remove the driver door ECU with connectors connected.
    2. Attach a current-measuring probe to terminal 25 of the wire harness.
    3. Turn the ignition switch ON and set the power window switch in the down position.
    4. As the window goes down, check that the current flow is approximately 7 A.
    5. Check that the current increases up to approximately 14.5 A or more when the window stops going down.

    HINT:

    The PTC opens some 4 - 90 seconds after the window stops going down, so that check must be made before the PTC operates.

    If operation is as specified, replace the driver door ECU.

    Fig 2: Inspecting One Touch Power Window System/Current Of Circuit
    G02879455Courtesy of © TOYOTA, LICENSE AGREEMENT TMS1002
  3. INSPECT REAR POWER WINDOW SWITCH CONTINUITY 
    CONTINUITY CONDITION

    Switch position Tester connection Specified condition
    UP 5 - 4, 2 - 6 Continuity
    OFF 4 - 6, 2 - 6 No continuity
    DOWN 2 -5, 4 - 6 Continuity

    If continuity is not as specified, replace the switch.

    Fig 3: Identifying Connector Terminal
    G02879456Courtesy of © TOYOTA, LICENSE AGREEMENT TMS1002
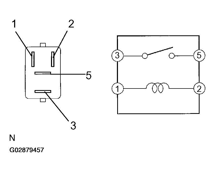
  4. INSPECT POWER MAIN RELAY CONTINUITY 
    CONTINUITY CONDITION

    Condition Tester connection Specified condition
    Constant 1 - 2 Continuity
    Apply B+ between terminals 1 and 2 3-5 Continuity

    If continuity is not as specified, replace the relay.

    Fig 4: Identifying Relay
    G02879457Courtesy of © TOYOTA, LICENSE AGREEMENT TMS1002
  5. Driver's Door: 

    INSPECT POWER WINDOW MOTOR OPERATION 

    1. Connect the positive (+) lead from the battery to terminal 1 and the negative (-) lead to terminal 2, and check that the motor turns clockwise.
      Fig 5: Inspecting Power Window Motor Operation - Driver Side (1 Of 2)
      G02879458Courtesy of © TOYOTA, LICENSE AGREEMENT TMS1002
    2. Reverse the polarity, check that the motor turns counterclockwise.

    If operation is not as specified, replace the motor.

    NOTE: Since the jam protection may not work properly be sure to conduct procedures described in "HOW TO RESET POWER MOTOR (RESET AND PULSE SWITCH)" after this inspection.
    Fig 6: Inspecting Power Window Motor Operation - Driver Side (2 Of 2)
    G02879459Courtesy of © TOYOTA, LICENSE AGREEMENT TMS1002
  6. Front Passenger's Door: 

    INSPECT POWER WINDOW MOTOR OPERATION 

    1. Connect the positive (+) lead from the battery to terminal 2 and the negative (-) lead to terminal 1, and check that the motor turns clockwise.
      Fig 7: Inspecting Power Window Motor Operation - Front Passenger's Door (1 Of 2)
      G02879460Courtesy of © TOYOTA, LICENSE AGREEMENT TMS1002
    2. Reverse the polarity, check that the motor turns counterclockwise.

    If operation is not as specified, replace the motor.

    Fig 8: Inspecting Power Window Motor Operation - Front Passenger's Door (2 Of 2)
    G02879461Courtesy of © TOYOTA, LICENSE AGREEMENT TMS1002
  7. Rear Left Side Door: 

    INSPECT POWER WINDOW MOTOR OPERATION 

    1. Connect the positive (+) lead from the battery to terminal 2 and the negative (-) lead to terminal 1, and check that the motor turns clockwise.
      Fig 9: Inspecting Power Window Motor Operation - Rear Left Side Door (1 Of 2)
      G02879462Courtesy of © TOYOTA, LICENSE AGREEMENT TMS1002
    2. Reverse the polarity, check that the motor turns counterclockwise.

    If operation is not as specified, replace the motor.

    Fig 10: Inspecting Power Window Motor Operation - Rear Left Side Door (2 Of 2)
    G02879463Courtesy of © TOYOTA, LICENSE AGREEMENT TMS1002
  8. Rear Right Side Door: 

    INSPECT POWER WINDOW MOTOR OPERATION 

    1. Connect the positive (+) lead from the battery to terminal 1 and the negative (-) lead to terminal 2, and check that the motor turns clockwise.
      Fig 11: Inspecting Power Window Motor Operation - Rear Right Side Door (1 Of 2)
      G02879464Courtesy of © TOYOTA, LICENSE AGREEMENT TMS1002
    2. Reverse the polarity, check that the motor turns counterclockwise.

    If operation is not as specified, replace the motor.

    Fig 12: Inspecting Power Window Motor Operation - Rear Right Side Door (2 Of 2)
    G02879465Courtesy of © TOYOTA, LICENSE AGREEMENT TMS1002
  9. Driver's door: 

    INSPECT POWER WINDOW MOTOR PTC THERMISTOR OPERATION 

    1. Disconnect the connector from the power window motor.
    2. Connect the positive (+) lead from the ammeter to terminal 2 on the wire harness side connector and the negative (-) lead to negative terminal of the battery.
    3. Connect the positive (+) lead from the battery to terminal 1 on the wire harness side connector, and raise the window to the fully up position.
      Fig 13: Inspecting Power Window Motor PTC Thermistor Operation - Driver's Door
      G02879466Courtesy of © TOYOTA, LICENSE AGREEMENT TMS1002
    4. Continue to apply voltage, and check that the current changes to less than 1 A with 4 to 90 seconds.
    5. Disconnect the leads from terminals.
    6. Approximately 60 seconds later, connect the positive (+) lead from the battery to terminal 2 and negative (-) lead to terminal 1, and check that the window begins to descend.

    If operation is not as specified, replace the motor.

    Fig 14: Checking Window Begins To Descended
    G02879467Courtesy of © TOYOTA, LICENSE AGREEMENT TMS1002
  10. Front Passenger's door: 

    INSPECT POWER WINDOW MOTOR PTC THERMISTOR OPERATION 

    1. Disconnect the connector from the power window motor.
    2. Connect the positive (+) lead from the ammeter to terminal 1 on the wire harness side connector and the negative (-) lead to negative terminal of the battery.
    3. Connect the positive (+) lead from the battery to terminal 2 on the wire harness side connector, and raise the window to the fully up position.
      Fig 15: Inspecting Power Window Motor PTC Thermistor Operation - Front Passenger's Door
      G02879468Courtesy of © TOYOTA, LICENSE AGREEMENT TMS1002
    4. Continue to apply voltage and check that the current changes to less than 1 A within 4 to 90 seconds.
    5. Disconnect the leads from the terminals.
    6. Approximately 60 seconds later, connect the positive (+) lead from the battery to terminal 1 and the negative (-) lead to terminal 2, and check that the window begins to descend.

    If operation is not as specified, replace the motor.

    Fig 16: Checking Window Begins To Descend
    G02879469Courtesy of © TOYOTA, LICENSE AGREEMENT TMS1002
  11. Rear LH door: 

    INSPECT POWER WINDOW MOTOR PTC THERMISTOR OPERATION 

    1. Disconnect the connector from the power window motor.
    2. Connect the positive (+) lead from the ammeter to terminal 2 on the wire harness side connector and the negative (-) lead to negative terminal of the battery.
    3. Connect the positive (+) lead from the battery to terminal 2 on the wire harness side connector, and raise the window to the fully up position.
      Fig 17: Inspecting Power Window Motor PTC Thermistor Operation - Rear LH Door
      G02879470Courtesy of © TOYOTA, LICENSE AGREEMENT TMS1002
    4. Continue to apply voltage and check that the current changes to less than 1 A within 4 to 90 seconds.
    5. Disconnect the leads from the terminals.
    6. Approximately 60 seconds later, connect the positive (+) lead from the battery to terminal 1 and the negative (-) lead to terminal 2, and check that the window begins to descend.
    Fig 18: Checking Window Begins To Descend
    G02879471Courtesy of © TOYOTA, LICENSE AGREEMENT TMS1002

    If operation is not as specified, replace the motor.

  12. Rear RH Door: 

    INSPECT POWER WINDOW MOTOR PTC THERMISTOR OPERATION 

    1. Disconnect the connector from the power window motor.
    2. Connect the positive (+) lead from the ammeter to terminal 2 on the wire harness side connector and the negative (-) lead to negative terminal of the battery.
    3. Connect the positive (+) lead from the battery to terminal 1 on the wire harness side connector, and raise the window to the fully up position.
      Fig 19: Inspecting Power Window Motor PTC Thermistor Operation - Rear RH Door
      G02879472Courtesy of © TOYOTA, LICENSE AGREEMENT TMS1002
    4. Continue to apply voltage and check that the current changes to less than 1 A within 4 to 90 seconds.
    5. Disconnect the leads from the terminals.
    6. Approximately 60 seconds later, connect the positive (+) lead from the battery to terminal 2 and the negative (-) lead to terminal 1, and check that the window begins to descend.

    If operation is not as specified, replace the motor.

    Fig 20: Checking Window Begins To Descend
    G02879473Courtesy of © TOYOTA, LICENSE AGREEMENT TMS1002
  13. INSPECT JAM PROTECTION FUNCTION 
    NOTE: Never, catch any part of your body when checking.

    HINT:

    In case of performing resetting of the limit switch, do checking after repeating up and down of the glass with automatic operation.

    1. Confirmation of AUTO up operation:

      Confirm that the window will fully close with AUTO up operation.

    2. Checking operation of the jam protection function:
      1. Move up the window with AUTO up operation and check that the window will go down when it touches the handle of the hammer stetted.
      2. Confirm that the window will then stop going down about 200 mm.

      HINT:

      In case of removing the glass, glass guide, regulator and etc. be sure to perform checking of the jam protection function.

  14. Driver's Door (Window Up): 

    INSPECT JAM PROTECTION LIMIT SWITCH OPERATION 

    1. Connect the negative (-) lead from the ohmmeter to terminal 5 and the positive (+) lead to terminal 4.
    2. Connect the positive (+) lead from the battery to terminal 1 and the negative (-) lead to terminal 2.
    3. Check that the continuity exists when the window goes up.
      Fig 21: Inspecting Jam Protection Limit Switch Operation - Driver's Door (Window Up)
      G02879474Courtesy of © TOYOTA, LICENSE AGREEMENT TMS1002
    4. Check that the no continuity exists when the window is in the fully closed position.

    If operation is not as specified, replace the motor.

    NOTE: If connecting the wire harness wrongly, the sensor might be damaged so caution is necessary.
    Fig 22: Checking Continuity
    G02879475Courtesy of © TOYOTA, LICENSE AGREEMENT TMS1002
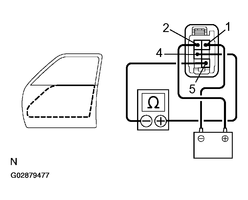
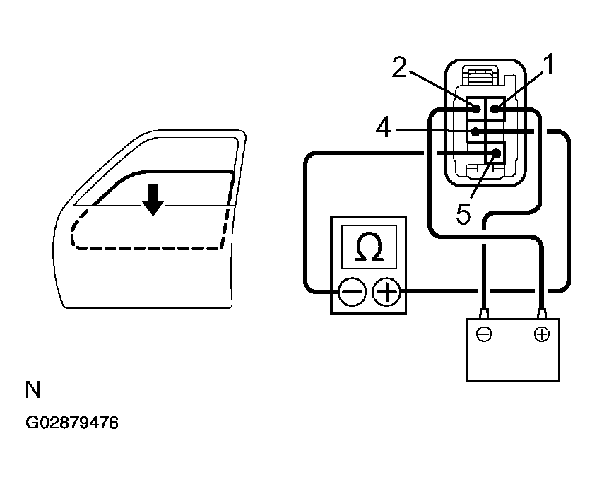
  15. Driver's Door (Window Down): 

    INSPECT JAM PROTECTION LIMIT SWITCH OPERATION 

    1. Connect the negative (-) lead from the ohmmeter to terminal 5 and the positive (+) lead to terminal 4.
    2. Connect the positive (+) lead from the battery to terminal 2 and the negative (-) lead to terminal 1.
    3. Check that the continuity exists when the window goes down.
      Fig 23: Inspecting Jam Protection Limit Switch Operation - Driver's Door (Window Down)
      G02879476Courtesy of © TOYOTA, LICENSE AGREEMENT TMS1002
    4. Check that the no continuity exists when the window is in the fully opened position.

    If operation is not as specified, replace the motor.

    NOTE: If connecting the wire harness wrongly, the sensor might be damaged so caution is necessary.
    Fig 24: Checking Continuity
    G02879477Courtesy of © TOYOTA, LICENSE AGREEMENT TMS1002
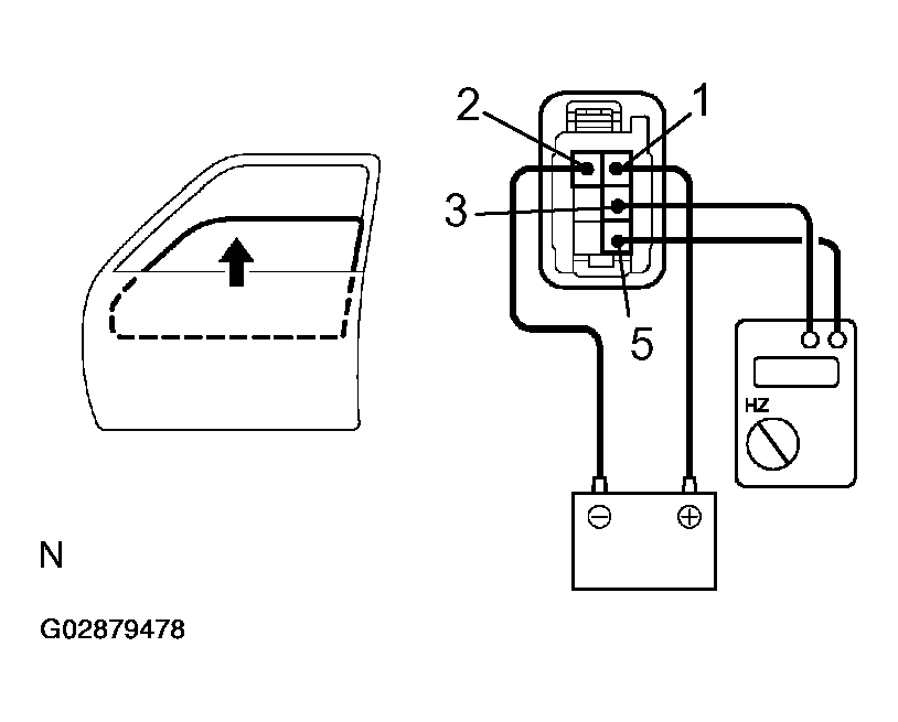
  16. Driver's Door: 

    INSPECT JAM PROTECTION PULSE SWITCH OPERATION 

    1. Connect the positive (+) lead from the TOYOTA electrical tester to terminal 3 and the negative (-) lead to terminal 5.
    2. Connect the positive (+) lead from the battery to terminal
    3. Check that pulse is generated during the motor running.
      Fig 25: Inspecting Jam Protection Pulse Switch Operation - Driver's Door
      G02879478Courtesy of © TOYOTA, LICENSE AGREEMENT TMS1002
    4. Reverse the polarity and check that pulse is generated. If operation is not as specified, replace the motor.
    NOTE: If connecting the wire harness wrongly, the sensor might be damaged so caution is necessary.
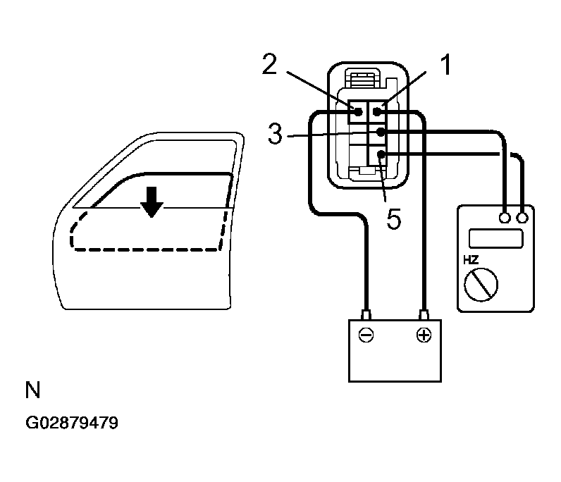
  17. INSPECT JAM PROTECTION FUNCTION 
    NOTE: Never, catch any part of your body when checking.
    Fig 26: Inspecting Jam Protection Function
    G02879479Courtesy of © TOYOTA, LICENSE AGREEMENT TMS1002

    HINT:

    In case of performing resetting of the limit switch, do checking after repeating up and down of the glass with automatic operation.

    1. Confirmation of AUTO up operation:

      Confirm that the window will fully close with AUTO up operation.

    2. Checking of the operation of the jam protection function:
      1. Move up the window with AUTO up operation and check that the window will go down when it touches the handle of the hammer stetted.
      2. Confirm that the window will then stop going down about 200 mm.

      HINT:

      In case of removing the glass, glass guide, regulator and etc. be sure to perform checking of the jam protection function. If the jam protection is not function properly, adjust power window motor reset switch and pulse switch.