LEMON Manuals: Even more car manuals for everyone
Home >> Toyota >> 2003 >> Sienna LE >> Repair and Diagnosis >> Body & Frame >> Windows >> Power Window Control System >> Inspection

Power Window Control System: Inspection

  1. INSPECT POWER WINDOW MASTER SWITCH CONTINUITY 

    Front Driver's Switch (Window unlock): 

    CONTINUITY REFERENCE

    Switch Position Tester Connection Specified Condition
    AUTO UP 1-9, 4-7 Continuity
    UP 1-9, 4-7 Continuity
    OFF 1-4-9 Continuity
    DOWN 1-4, 7-9 Continuity
    AUTO DOWN 1-4, 7-9 Continuity

    Front Passenger's Switch (Window unlock): 

    CONTINUITY REFERENCE

    Switch Position Tester Connection Specified Condition
    UP 1-15, 6-13 Continuity
    OFF 1-13-15 Continuity
    DOWN 1-13, 6-15 Continuity

    Front Passenger's Switch (Window lock): 

    CONTINUITY REFERENCE

    Switch Position Tester Connection Specified Condition
    UP 6 - 13 Continuity
    OFF 13 - 15 Continuity
    DOWN 6 - 15 Continuity

    If continuity is not as specified, replace the master switch.

    Fig 1: Inspecting Power Window Master Switch Continuity
    G02840397Courtesy of © TOYOTA, LICENSE AGREEMENT TMS1002
  2. INSPECT POWER WINDOW MASTER SWITCH ILLUMINATION 
    1. Set the window lock switch to the unlock position.
    2. Connect the positive (+) lead from the battery to terminal 7 and the negative (-) lead to terminal 1, and check that all the illuminations light up.
      Fig 2: Inspecting Power Window Master Switch Illumination
      G02840398Courtesy of © TOYOTA, LICENSE AGREEMENT TMS1002
    3. Set the window lock switch to the lock position, check that all the passenger's power window switch illuminations go out.

      If operation is not as specified, replace the master switch.

      Fig 3: Checking All Passenger Power Window Switch
      G02840399Courtesy of © TOYOTA, LICENSE AGREEMENT TMS1002
  3. INSPECT PASSENGER'S DOOR POWER WINDOW SWITCH CONTINUITY 
    Fig 4: Inspecting Passenger's Door Power Window Switch Continuity
    G02840400Courtesy of © TOYOTA, LICENSE AGREEMENT TMS1002
    PASSENGER'S DOOR POWER WINDOW SWITCH CONTINUITY REFERENCE

    Switch Position Tester Connection Specified Condition
    UP 1-2, 3-4 Continuity
    OFF 1-2, 3-5 Continuity
    DOWN 1-4, 3-5 Continuity

    If continuity is not as specified, replace the switch.

  4. INSPECT POWER MAIN RELAY CONTINUITY 
    Fig 5: Inspecting Power Main Relay Continuity
    G02840401Courtesy of © TOYOTA, LICENSE AGREEMENT TMS1002

    If continuity is not as specified, replace the switch.

    Fig 6: Inspecting Power Main Relay Continuity Table
    G02840402Courtesy of © TOYOTA, LICENSE AGREEMENT TMS1002
  5. Driver's door: INSPECT POWER WINDOW MOTOR OPERATION 
    Fig 7: Inspecting Power Window Motor Operation (Driver's Door)
    G02840403Courtesy of © TOYOTA, LICENSE AGREEMENT TMS1002
    1. Connect the positive (+) lead from the battery to terminal 2 and the negative (-) lead to terminal 1, and check that the motor turns clockwise.
    2. Reverse the polarity, check that the motor turns counterclockwise.

      If operation is not as specified, replace the motor.

  6. Passenger's door: INSPECT POWER WINDOW MOTOR OPERATION 
    Fig 8: Inspecting Power Window Motor Operation (Passenger's Door)
    G02840404Courtesy of © TOYOTA, LICENSE AGREEMENT TMS1002
    1. Connect the positive (+) lead from the battery to terminal 2 and the negative (-) lead to terminal 1, and check that the motor turns clockwise.
    2. Reverse the polarity, check that the motor turns counterclockwise.

      If operation is not as specified, replace the motor.

  7. Driver's door: INSPECT POWER WINDOW MOTOR PTC THERMISTOR OPERATION 
    Fig 9: Inspecting Power Window Motor PTC Thermistor (Driver's Door)
    G02840405Courtesy of © TOYOTA, LICENSE AGREEMENT TMS1002
    1. Disconnect the connector from the power window motor.
    2. Connect the positive (+) lead from the ammeter to terminal 1 on the wire harness side connector and the negative (-) lead to negative terminal of the battery.
    3. Connect the positive (+) lead from the battery to terminal 2 on the wire harness side connector, and raise the window to the fully position.
    4. Continue to apply voltage, and check that the current changes to less than 1 A with 4 to 90 seconds.
    5. Disconnect the leads from terminals.
    6. Fig 10: Disconnecting Leads From Terminals
      G02840406Courtesy of © TOYOTA, LICENSE AGREEMENT TMS1002
    7. Approximately 60 seconds later, connect the positive (+) lead from the battery to terminal 1 and negative (-) lead to terminal 2, and check that the window begins to descended.

      If operation is not as specified, replace the motor.

  8. Passenger's door: INSPECT POWER WINDOW MOTOR PTC THERMISTOR OPERATION 
    Fig 11: Inspecting Power Window Motor PTC Thermistor Operation (Passenger's Door)
    G02840407Courtesy of © TOYOTA, LICENSE AGREEMENT TMS1002
    1. Disconnect the connector from the power window motor.
    2. Connect the positive (+) lead from the ammeter to terminal 2 on the wire harness side connector and the negative (-) lead to negative terminal of the battery.
    3. Connect the positive (+) lead from the battery to terminal 2 on the wire harness side connector, and raise the window to the fully position.
    4. Continue to apply voltage and check that the current changes to less than 1 A within 4 to 90 seconds.
    5. Disconnect the leads from the terminals.
    6. Fig 12: Disconnecting Leads From Terminals
      G02840408Courtesy of © TOYOTA, LICENSE AGREEMENT TMS1002
    7. Approximately 60 seconds later, connect the positive (+) lead from the battery to terminal 1 and the negative (-) lead to terminal 2, and check that the window begins to descend.

      If operation is not as specified, replace the motor.

  9. INSPECT JAM PROTECTION FUNCTION 
    NOTE: Never, ever be caught any part of your body when checking.
    NOTE: In case of performing resetting of the limit switch, do checking after repeating up and down of the glass with automatic operation.
    1. Confirmation of AUTO up operation:

      Confirm that the window will be fully close with AUTO up operation.

    2. Checking of the operation of the jam protection function:
      1. Move up the window with AUTO up operation and check that the window will go down when it touches the handle of the hammer stetted.
      2. Confirm that the window will then stop going down about 200 mm.
        NOTE: In case of removing the glass, glass guide, regulator and etc. be sure to perform checking of the jam protection function. If the jam protection is not function properly, adjust power window motor reset switch and pulse switch.
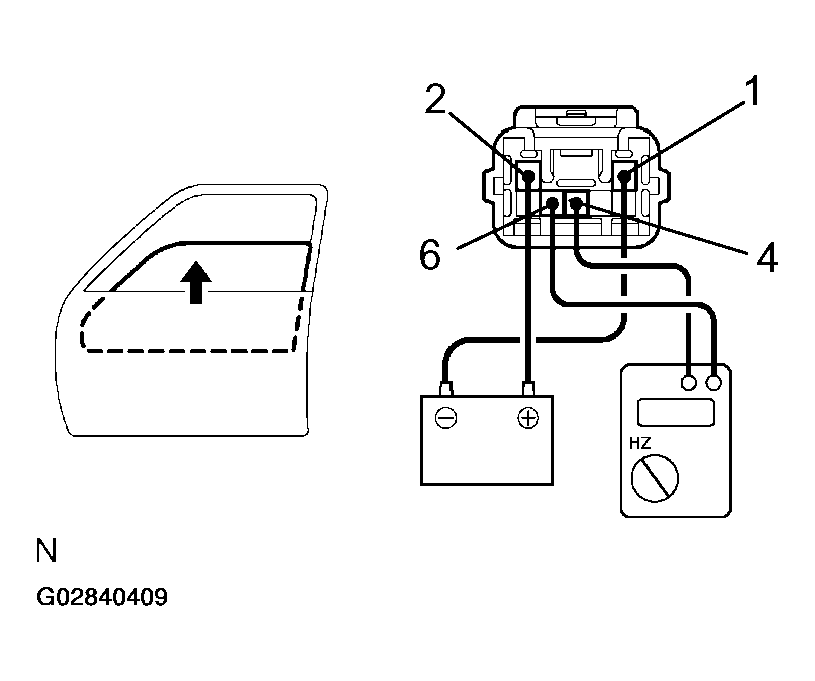
  10. Driver's Door: INSPECT JAM PROTECTION LIMIT SWITCH OPERATION 
    1. Connect the negative (-) lead from the ohmmeter to terminal 6 and the positive (+) lead to terminal 4.
    2. Connect the positive (+) lead from the battery to terminal 2 and the negative (-) lead to terminal 1.
    3. Fig 13: Connecting Negative (-) & Positive (+) Leads From Ohmmeter & From Battery To Terminals
      G02840409Courtesy of © TOYOTA, LICENSE AGREEMENT TMS1002
    4. Check that the continuity exists when the window goes up.
    5. Check that the no continuity exists when the window is in the fully closed position.
      Fig 14: Checking No Continuity Exists When Window In Fully Closed Position
      G02840410Courtesy of © TOYOTA, LICENSE AGREEMENT TMS1002

      If operation is not as specified, replace the motor.

      NOTE: If connecting the wire harness wrongly, the sensor might be damaged so caution is necessary.
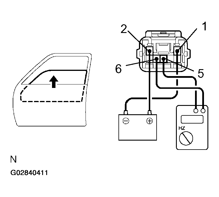
  11. Driver's Door: INSPECT JAM PROTECTION PULSE SWITCH OPERATION 
    1. Connect the positive (+) lead from the TOYOTA electrical tester to terminal 5 and the negative (-) lead to terminal 6.
    2. Connect the positive (+) lead from the battery to terminal 2 and the negative (-) lead to terminal 1.
    3. Check that pulse is generated during the motor running.
      Fig 15: Checking Pulse Generated During Motor Running
      G02840411Courtesy of © TOYOTA, LICENSE AGREEMENT TMS1002
    4. Reverse the polarity and check that pulse is generated.

      If operation is not as specified, replace the motor.

      NOTE: If connecting the wire harness wrongly, the sensor might be damaged so caution is necessary.
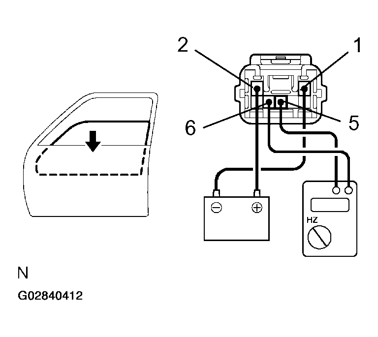
  12. INSPECT JAM PROTECTION FUNCTION 
    Fig 16: Inspecting Jam Protection Pulse Switch Operation
    G02840412Courtesy of © TOYOTA, LICENSE AGREEMENT TMS1002
    NOTE: Never, ever be caught any part of your body when checking.
    NOTE: In case of performing resetting of the limit switch, do checking after repeating up and down of the glass with automatic operation.
    1. Confirmation of AUTO up operation:

      Confirm that the window will be fully close with AUTO up operation.

    2. Checking of the operation of the jam protection function:
      1. Move up the window with AUTO up operation and check that the window will go down when it touches the handle of the hammer stetted.
      2. Confirm that the window will then stop going down about 200 mm.
        NOTE: In case of removing the glass, glass guide, regulator and etc. be sure to perform checking of the jam protection function. If the jam protection is not function properly, adjust power window motor reset switch and pulse switch.