LEMON Manuals: Even more car manuals for everyone
Home >> Toyota >> 2003 >> Matrix Base, 4WD >> Repair and Diagnosis >> General Information >> Identification >> Introduction >> Repair Instruction >> Precaution

Repair Instruction: Precaution

  1. BASIC REPAIR HINT 
    1. HINTS ON OPERATIONS
      Fig 1: Basic Repairing Hint Table
      G02836661Courtesy of © TOYOTA, LICENSE AGREEMENT TMS1002
      Fig 2: Repairing Introduction Hints Chart
      G02836662Courtesy of © TOYOTA, LICENSE AGREEMENT TMS1002
    2. JACKING UP AND SUPPORTING VEHICLE
      1. Care must be taken when jacking up and supporting the vehicle. Be sure to lift and support the vehicle at the proper locations (See VEHICLE LIFT AND SUPPORT LOCATIONS ).
    3. PRECOATED PARTS
      1. Precoated parts are bolts, nuts, etc. that are coated with a seal lock adhesive at the factory.
        Fig 3: Locating Precoated Bolt
        G02836663Courtesy of © TOYOTA, LICENSE AGREEMENT TMS1002
      2. If a precoated part is retightened, loosened or caused to move in any way, it must be recoated with the specified adhesive.
      3. When reusing precoated parts, clean off the old adhesive and dry the part with compressed air. Then apply the specified seal lock adhesive to the bolt, nut or threads.
        CAUTION: Perform the torque checking with the lower limit value of the torque tolerance.
      4. Depending on the seal lock agent to apply, there may be a case where it is necessary to leave it for a specified time until it hardens.
    4. GASKETS
      1. When necessary, use a sealer on gaskets to prevent leaks.
    5. BOLTS, NUTS AND SCREWS
      1. Carefully observe all the specifications for tightening torques. Always use a torque wrench.
    6. FUSES
      1. When replacing fuses, be sure that a new fuse has the correct amperage rating. DO NOT exceed the rating, or use one with a lower rating.
        Fig 4: Locating Fuse Ratings
        G02836664Courtesy of © TOYOTA, LICENSE AGREEMENT TMS1002
        Fig 5: Illustration Symbol Part Name Table
        G02836665Courtesy of © TOYOTA, LICENSE AGREEMENT TMS1002
    7. CLIPS
      1. The removal and installation methods of typical clips used in body parts are shown in Fig 6.
        Fig 6: Removal And Installation Of Different Kinds Clips Table
        G02836666Courtesy of © TOYOTA, LICENSE AGREEMENT TMS1002
      NOTE:

      If the clip is damaged during the operation, always replace it with a new clip.

    8. REMOVAL AND INSTALLATION OF VACUUM HOSES
      1. To disconnect vacuum hoses, pull them by holding the end, not the middle of the hose.
        Fig 7: Disconnecting Vacuum Hoses
        G02836667Courtesy of © TOYOTA, LICENSE AGREEMENT TMS1002
      2. When disconnecting vacuum hoses, use tags to identify where they should be reconnected.
        Fig 8: Locating Vacuum Hoses With Tags
        G02836668Courtesy of © TOYOTA, LICENSE AGREEMENT TMS1002
      3. After completing the job, make a double check whether the vacuum hoses are properly connected. A label under the hood shows the proper layout.
      4. When using a vacuum gauge, never force the hose onto a connector that is too large. Use a step-down adapter for adjustment. Once the hose has been stretched, it may leak air.
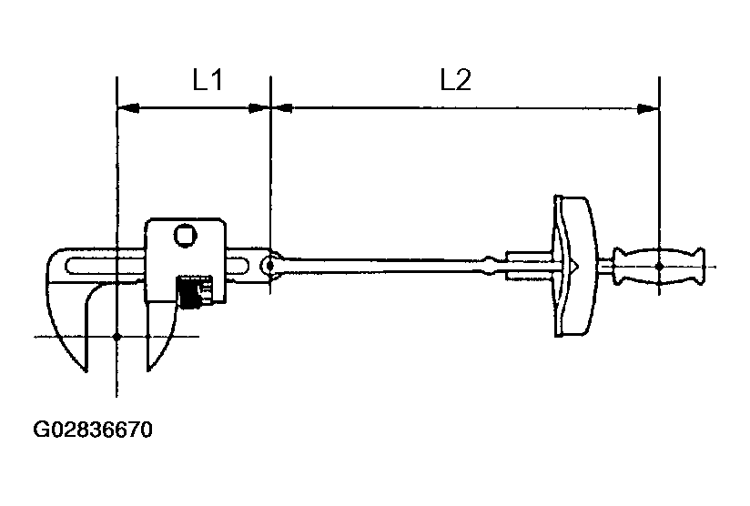
    9. TORQUE WHEN USING TORQUE WRENCH WITH EXTENSION TOOL
      1. In case of tightening with a torque wrench which has an extended length by combining the torque wrench with SST or extension tool, if you tighten until the reading of the torque wrench reaches the specified torque value the actual torque becomes excessive.
      2. Only the specified torque is described. In case of using SST or an extension tool, calculate the reading of the torque wrench by the following formula.
      3. Formula T'=T X L2/(L1 + L2)
      TORQUE WRENCH MEASURING

      T' Reading of torque wrench {N.m (kgf.cm, ft.lbf)}
      T Torque {N.m (kgf.cm, ft.lbf)}
      L1 Length of SST or extension tool (cm)
      L2 Length of torque wrench (cm)
      Fig 9: Measuring SST Tool Length
      G02836669Courtesy of © TOYOTA, LICENSE AGREEMENT TMS1002
      Fig 10: Calculating Torque Wrench
      G02836670Courtesy of © TOYOTA, LICENSE AGREEMENT TMS1002
  2. FOR VEHICLES EQUIPPED WITH SRS AIRBAG AND SEAT BELT PRETENSIONER 
    NOTE:

    The vehicle is equipped with an SRS (Supplemental Restraint System), such as the horn button assembly, the instrument panel passenger airbag assembly, the front seat airbag assembly, the center airbag sensor assembly, the front airbag sensor, the side airbag sensor and the seat belt pretensioner.

    Failure to carry out the service operations in the correct sequence could cause the supplemental restraint system to unexpectedly deploy during servicing. It may lead to a serious accident.

    Furthermore, if a mistake is made in servicing the supplemental restraint system, it is possible that the SRS will fail to operate when required. Before servicing (including removal or installation of parts, inspection or replacement), be sure to read the following items carefully. Then follow the correct procedure described in AIR BAG RESTRAINT SYSTEMS article.

    1. GENERAL NOTICE
      1. Malfunction symptoms of the supplemental restraint system are difficult to confirm, so the diagnostic trouble codes become the most important source of information when troubleshooting. When troubleshooting the supplemental restraint system, always check the diagnostic trouble codes before disconnecting the battery (See AIR BAG RESTRAINT SYSTEMS article).
      2. Work must be started after 90 seconds from the time the ignition switch is turned to the "LOCK" position and the negative (-) terminal cable is disconnected from the battery.

        (The supplemental restraint system is equipped with a back-up power source, so, if work is started within 90 seconds after disconnecting the negative (-) terminal cable from the battery, the SRS may deploy.)

        When the negative (-) terminal cable is disconnected from the battery, memory of the clock and audio systems will be cancelled. So, before starting work, make a record of the memorized contents in each memory system. Then, when work is finished, reset the clock and audio systems as before. To avoid erasing the memory in each memory system, never use a back-up power supply from another battery.

      3. Even in case of a minor collision where the SRS does not deploy, the horn button assembly, the instrument panel passenger airbag assembly, the front seat airbag assembly and the seat belt pretensioner should be inspected (See , , and ).
      4. Never use SRS related parts from another vehicle. When replacing parts, replace them with new parts.
      5. Before repairs, remove the airbag sensor if shocks are likely to be applied to the sensor during repairs.
      6. Never disassemble and repair the airbag sensor assembly, the horn button assembly, the instrument panel passenger airbag assembly, the front seat airbag assembly or the seat belt pretensioner.
      7. If the airbag sensor assembly, the side airbag sensor assembly, the horn button assembly, the instrument panel passenger airbag assembly, the front seat airbag assembly or the seat belt pretensioner have been dropped, or if there are cracks, dents or other defects in the case, bracket or connector, replace them with new ones.
      8. Do not directly expose the airbag sensor assembly, the horn button assembly, the instrument panel passenger airbag assembly, the front seat airbag assembly or the seat belt pretensioner to hot air or flames.
      9. Use a volt/ohmmeter with high impedance (10 kΩ/V minimum) for troubleshooting of an electrical circuit.
      10. Information labels are attached to the SRS components. Follow the instructions on the notices.
      11. After work on the supplemental restraint system is completed, check the SRS warning light (See AIR BAG RESTRAINT SYSTEMS article).
    2. SPIRAL CABLE (in Combination Switch)
      1. The steering wheel must be fitted correctly to the steering column with the spiral cable at the neutral position, otherwise cable disconnection and other troubles may occur. Refer to AIR BAG RESTRAINT SYSTEMS article concerning the correct installation of the steering wheel.
        Fig 11: Locating Spiral Cable
        G02836671Courtesy of © TOYOTA, LICENSE AGREEMENT TMS1002
    3. HORN BUTTON ASSEMBLY (with Airbag)
      1. When removing the horn button assembly or handling a new horn button, it should be placed with the pad top surface facing upward. Placing it with the pad surface facing downward may lead to a serious accident if the airbag accidentally inflates. Also, do not place the horn button on top of one another.
      2. Never measure the resistance of the airbag squib (This may cause the airbag to inflate, which is very dangerous).
      3. Grease should not be applied to the horn button assembly, and the pad should not be cleaned with detergents of any kinds.
      4. Store the horn button assembly where the ambient temperature remains below 93°C (200°F), without high humidity and away from electrical noise.
      5. When using electric welding, first disconnect the airbag connector (2 yellow pins) under the steering column near the combination switch connector before starting work.
      6. When disposing of the vehicle or the horn button assembly alone, the airbag should be deployed using an SST before disposal (See AIR BAG RESTRAINT SYSTEMS article).

        Perform the operation in a safe place away from electrical noise.

        Fig 12: Locating Button Assembly (With Air Bag)
        G02836672Courtesy of © TOYOTA, LICENSE AGREEMENT TMS1002
        Fig 13: Testing Horn Button Assembly (With Airbag)
        G02836673Courtesy of © TOYOTA, LICENSE AGREEMENT TMS1002
    4. INSTRUMENT PANEL PASSENGER AIRBAG ASSEMBLY
      1. Always store a removed or new instrument panel passenger airbag assembly with the airbag in-inflation direction facing upward. Placing the airbag assembly with the airbag inflation direction facing downward could cause a serious accident if the airbag inflates.
      2. Never measure the resistance of the airbag squib (This may cause the airbag to inflate, which is very dangerous).
      3. Grease should not be applied to the instrument panel passenger airbag assembly, and the airbag door should not be cleaned with detergents of any kind.
      4. Store the airbag assembly where the ambient temperature remains below 93°C (200°F), without high humidity and away from electrical noise.
      5. When using electric welding, first disconnect the airbag connector (2 yellow pins) installed on the assembly before starting work.
      6. When disposing of a vehicle or the airbag assembly alone, the airbag should be deployed using an SST before disposal (See AIR BAG RESTRAINT SYSTEMS article ).

        Perform the operation in a safe place away from electrical noise.

        Fig 14: Locating Instrument Penal Airbag Assembly
        G02836674Courtesy of © TOYOTA, LICENSE AGREEMENT TMS1002
        Fig 15: Testing Air Bag Electrical Component
        G02836675Courtesy of © TOYOTA, LICENSE AGREEMENT TMS1002
    5. FRONT SEAT AIRBAG ASSEMBLY
      1. Always store a removed or new front seat airbag assembly with the airbag inflation direction facing upward. Placing the airbag assembly with the airbag inflation direction facing downward could cause a serious accident if the airbag inflates.
      2. Never measure the resistance of the airbag squib (This may cause the airbag to inflate, which is very dangerous).
      3. Grease should not be applied to the front seat airbag assembly, and the airbag door should not be cleaned with detergents of any kind.
      4. Store the airbag assembly where the ambient temperature remains below 93°C (200°F), without high humidity and away from electrical noise.
      5. When using electric welding, first disconnect the airbag connector (2 yellow pins) installed on the assembly before starting work.
      6. When disposing of a vehicle or the side airbag assembly alone, the airbag should be deployed using an SST before disposal (See AIR BAG RESTRAINT SYSTEMS article ).

        Perform the operation in a safe place away from electrical noise.

      Fig 16: Testing Front Seat Air Bag Assembly Using SST-Tools
      G02836676Courtesy of © TOYOTA, LICENSE AGREEMENT TMS1002
    6. SEAT BELT PRETENSIONER
      1. Never measure the resistance of the seat belt pretensioner (This may cause the seat belt pretensioner to activate, which is very dangerous).
      2. Never disassemble the seat belt pretensioner.
      3. Never install the seat belt pretensioner to another vehicle.
      4. Store the seat belt pretensioner where the ambient temperature remains below 80°C (176°F) without high humidity and away from electrical noise.
      5. When using electric welding, first disconnect the connector (2 yellow pins) before starting work.
      6. When disposing of a vehicle or the seat belt pretensioner alone, the seat belt pretensioner should be activated before disposal (See SEAT BELT article ).

        Perform the operation in a safe place away from electrical noise.

      7. The seat belt pretensioner is hot after activation, so let it cool down sufficiently before disposal. Never apply water to cool down the seat belt pretensioner.
      8. Oil or water should not be put on the front seat outer belt, and the front seat outer belt should not be cleaned with detergents of any kind.
      Fig 17: Testing Seat Belt Pretensioner Assembly
      G02836677Courtesy of © TOYOTA, LICENSE AGREEMENT TMS1002
    7. AIRBAG SENSOR ASSEMBLY
      1. Never reuse the airbag sensor assembly involved in a collision where the SRS has deployed.
      2. The connectors to the airbag sensor assembly should be connected or disconnected with the sensor mounted on the floor. If the connectors are connected or disconnected while the airbag sensor assembly is not mounted to the floor, it could cause an undesired ignition of the supplemental restraint system.
      3. Work must be started after 90 seconds from the time the ignition switch is turned to the "LOCK" position and the negative (-) terminal cable is disconnected from the battery, even if only loosening the set bolts of the airbag sensor assembly.
    8. WIRE HARNESS AND CONNECTOR
      1. The SRS wire harness is integrated with the instrument panel wire harness assembly. All the connectors in the system are in a standard yellow color. If the SRS wire harness becomes disconnected or the connector becomes broken due to an accident, etc., repair or replace it.
  3. ELECTRONIC CONTROL 
    1. REMOVAL AND INSTALLATION OF BATTERY TERMINAL
      1. Before performing electrical work, disconnect the battery negative (-) terminal cable beforehand so as to prevent burnt-out damage by short.
      2. When disconnecting and installing the terminal cable, turn the ignition switch and lighting switch OFF, and loosen the terminal nut completely. Perform these operations without twisting or prying the terminal.
      3. When the battery terminal is removed, all the memories of the clock, radio, DTCs, etc. will be erased. So before removing it, check them and note them down.
      Fig 18: Locating Negative Battery Terminal Wire
      G02836678Courtesy of © TOYOTA, LICENSE AGREEMENT TMS1002
    2. HANDLING OF ELECTRONIC PARTS
      1. Do not open the cover or case of the ECU unless absolutely necessary (If the IC terminals are touched, the IC may be destroyed by static electricity).
      2. To disconnect electronic connectors, pull the connector itself, not the wires.
      3. Be careful not to drop electronic components, such as sensors or relays. If they are dropped on a hard floor, they should be replaced and not be reused.
      4. When cleaning the engine with steam, protect the electronic components, air filter and emission-related components from water.
      5. Never use an impact wrench to remove or install temperature switches or temperature sensors.
      6. When checking the continuity at the wire connector, insert the tester probe carefully to prevent terminals from bending.
      Fig 19: Locating Electronic Parts Handling Procedure
      G02836679Courtesy of © TOYOTA, LICENSE AGREEMENT TMS1002
  4. REMOVAL AND INSTALLATION OF FUEL CONTROL PARTS 
    1. PLACE FOR REMOVING AND INSTALLING OF FUEL SYSTEM PARTS
      1. Work in a place with good air ventilation and without anything flammable such as welder, grinder, drill, electric motor or stove in the surroundings.
      2. Never work in a place such as a pit or nearby a pit, as there is a possibility that vaporized fuel is filled in those places.
    2. REMOVING AND INSTALLING OF FUEL SYSTEM PARTS
      1. Prepare a fire extinguisher before starting the operation.
      2. For prevention of the static electricity, install a ground on the fuel changer, vehicle and fuel tank, and do not spray much water so as to prevent slipping.
      3. Never use any electric equipment like an electric motor or a working light, as they may cause sparks or high temperature.
      4. Never use an iron hammer, as it may cause sparks.
      5. Dispose of the shop rag separately from any fuel deposit.
  5. REMOVAL AND INSTALLATION OF ENGINE INTAKE PARTS 
    1. If any metal tip is mixed in the inlet pass, that may give a bad effect to the engine and turbocharger.
    2. When removing and installing the inlet system parts, close the opening of the removed inlet system parts and the engine with a clean shop rag or gummed tape.
    3. When installing the inlet system parts, check that there is in order no mixing of a metal tip.
    Fig 20: Installing Inlet System Parts
    G02836680Courtesy of © TOYOTA, LICENSE AGREEMENT TMS1002
  6. HANDLING OF HOSE CLAMPS 
    1. Before removing the hose, check the clamp position in order to restore it securely.
    2. Change a deformed or dented clamp into a new one.
    3. In case of reusing the hose, install the clamp on the hose where it has a clamp track.
    4. For a spring type clamp, make adjustment by adding force to the arrow mark direction after the installation.
    Fig 21: Locating Spring Type Clamp
    G02836681Courtesy of © TOYOTA, LICENSE AGREEMENT TMS1002
  7. FOR VEHICLES EQUIPPED WITH MOBILE COMMUNICATION SYSTEM 
    1. Install an antenna as far as possible away from the ECU and sensors of the vehicle's electronic systems.
    2. Install an antenna feeder at least 20 cm (7.87 in.) away from the ECU and sensors of the vehicle's electronic systems. For details of the ECU and sensors locations, refer to the section on the applicable component.
    3. Prevent the antenna feeder from getting entangled with the other wirings, and keep the antenna feeder separately from the other wirings as much as possible.
    4. Check that the antenna and feeder are correctly adjusted.
    5. Do not install any powerful mobile communication system.
    Fig 22: Locating Mobile Communication System
    G02836682Courtesy of © TOYOTA, LICENSE AGREEMENT TMS1002
  8. WHEN SERVICING FULL-TIME 4WD VEHICLES 
    1. BEFORE BEGINNING TEST
      NOTE: Tester with a function of 2-wheel load setting (2-wheel power absorption type) cannot be used; such as a 2-wheel chassis dynamometer, and a combined tool of a 2-wheel chassis dynamometer, a speedometer tester and a brake tester.
    2. BRAKING FORCE TEST (Vehicle speed: 0.5 km/h or 0.3 mph)

      When performing measurement with a low-speed type brake tester, observe the following instructions.

      1. Position the wheels to be tested (front or rear) on the rollers.
      2. Set another wheels free by free rollors or safety stands.
      3. Shift the transmission shift lever into the "N" range.
      4. Fasten the vehicle with lock chains.
      5. Idle the engine, and perform measurement by driving the tester rollers.
      NOTE:
      • Tester with a function of load measurement cannot be used.
      • High-speed type brake tester cannot be used. 
    3. SPEEDOMETER TEST OR OTHER TESTS (Using speedometer or chassis dynamometer) When performing test, use the method shown below.
      1. Place the front wheels onto the rollers.
      2. Set the rear wheels free with free rollers or safety stands.
      3. Fasten the vehicle with lock chains.
      4. Start the engine, and then measure the vehicle speed by increasing the speed gradually in the "D" range.
      5. After the measurement completion, decrease the vehicle speed with brake gradually, and then stop the vehicle.
      NOTE:
      • Inspection should be performed in the front wheels.
      • Do not start, accelerate or decelerate the vehicle suddenly.
      • Maximum vehicle speed must be below 60 km/h or 37 mph (when using a free roller, it must be below 50 km/h or 31 mph).
      • Driving time for the test should be within 1 minute.

      HINT:

      Only the tests of No.3 and No.4, shown in the table below, can have a high-speed test or heavy load test.

      Fig 23: Speedometer Test Condition Table
      G02836683Courtesy of © TOYOTA, LICENSE AGREEMENT TMS1002
      NOTE:
      • Confirm that the vehicle is securely immobilized.
      • Never operate the clutch or brakes, and never drive the wheels or decelerate suddenly.
      • Be sure to strictly follow the above procedure for the test, because functions of 4WD system might fail, parts of driving system might malfunction, or the vehicle might unexpectedly jump out.
    4. ON-VEHICLE WHEEL BALANCING MEASUREMENT

      When doing on-vehicle wheel balancing measurement on a full-time 4WD vehicle, to prevent the wheels from rotating at different speeds in different directions from each other (which could damage the center differential), always be sure to observe the following precautions:

      1. Jack up all the 4 wheels with a 2-post-type lift. All the 4 wheels should be jacked up, clearing the ground completely.
      2. Fasten the vehicle by setting 2 pick-up stands in the bottom of the suspension arm's tip of the front wheels or rear wheels to be measured.
      3. Support the vehicle with safety stands so that the vehicle will not lean in the vehicle's front/rear direction.
      4. Release the parking brake.
      5. Check that no dragging force exists by turning each wheel by hand.
      6. Set the wheel balancers.
      7. Measurement should be performed by using both of the engine drive and wheel balancer roller drive.
      Fig 24: Locating Vehicle Wheel Balancing Measuring Procedure
      G02836684Courtesy of © TOYOTA, LICENSE AGREEMENT TMS1002
      NOTE:
      • Start the engine, and then increase the vehicle speed gradually in the "D" range.
      • Do not accelerate or decelerate suddenly.
      • Deceleration should be performed by brake gradually.
      • Take special care so that the vehicle will not move.
      • Measurement should be performed quickly.
  9. WHEN TOWING FULL-TIME 4WD VEHICLES 
    • Use one of the methods shown below to tow a vehicle.
    • When there is trouble with the chassis and drive train, use method 1 (flat bed truck).
    • Recommended method: No.1, No.2, No.3

      Emergency Method: No.4

      Fig 25: Vehicle Towing Method Table
      G02836685Courtesy of © TOYOTA, LICENSE AGREEMENT TMS1002
      NOTE: Do not use any towing method other than those shown above.
    • For example, the towing methods shown below are dangerous or damage the vehicle, and therefore do not use them.
      NOTE: Towing a vehicle with the front wheels only or the rear wheels only held up might cause the drive train to be burned-out or the wheels to be flying off the dolly.
      Fig 26: Towing Vehicle With Front Wheels Table
      G02836686Courtesy of © TOYOTA, LICENSE AGREEMENT TMS1002
  10. FOR VEHICLES EQUIPPED WITH CATALYTIC CONVERTER 
    CAUTION: If large amount of unburned gasoline flows into the converter, it may cause overheating and a fire hazard. To prevent this, observe the following precautions.
    1. Use only unleaded gasoline.
    2. Avoid prolonged idling.

      Avoid running the engine at idle speed for more than 20 minutes.

    3. Avoid a spark jump test.
      1. Perform a spark jump test only when absolutely necessary. Perform this test as rapidly as possible.
      2. While testing, never race the engine.
    4. Avoid a prolonged engine compression measurement.

      Engine compression measurements must be performed as rapidly as possible.

    5. Do not run the engine when the fuel tank is nearly empty. This may cause the engine to misfire and create an extra load on the converter.