LEMON Manuals: Even more car manuals for everyone
Home >> Toyota >> 2002 >> RAV4 Base, AWD, Standard >> Repair and Diagnosis >> Body & Frame >> Power Windows Control System >> Power Window Control System >> Inspection

Power Window Control System: Inspection

  1. Inspect power window master switch continuity  .
    Fig 1: Displaying Power Window Master Switch
    G01895775Courtesy of © TOYOTA, LICENSE AGREEMENT TMS1002

    Front driver's switch (Window unlock and lock) 

    Fig 2: Displaying Front Driver's Switch Window Unlock Specifications
    G01895769Courtesy of © TOYOTA, LICENSE AGREEMENT TMS1002

    Front passenger's switch (Window unlock): 

    Fig 3: Displaying Front Passenger's Switch Window Unlock Specifications
    G01895770Courtesy of © TOYOTA, LICENSE AGREEMENT TMS1002

    Front passenger's switch (Window lock): 

    Fig 4: Displaying Front Passenger's Switch Window Lock Specifications
    G01895771Courtesy of © TOYOTA, LICENSE AGREEMENT TMS1002

    Rear left switch (Window unlock): 

    Fig 5: Displaying Rear Passenger's Switch Windows
    G01895772Courtesy of © TOYOTA, LICENSE AGREEMENT TMS1002

    Rear left switch (Window lock): 

    Fig 6: Displaying Rear Left Switch Window Lock Specifications
    G01895773Courtesy of © TOYOTA, LICENSE AGREEMENT TMS1002

    Rear right switch (Window unlock): 

    Fig 7: Displaying Rear Right Switch Window Unlock Specifications
    G01895774Courtesy of © TOYOTA, LICENSE AGREEMENT TMS1002

    Rear right switch (Window lock): 

    Fig 8: Displaying Rear Right Switch Window Lock
    G01895776Courtesy of © TOYOTA, LICENSE AGREEMENT TMS1002

    If continuity and voltage is not as specified, replace the master switch.

  2. Using an ammeter: Inspect one touch power window system/current of circuit  .
    1. Disconnect the connector from the master switch.
    2. Connect the positive (+) lead from the ammeter to terminal 4 on the wire harness side connector and the negative (-) lead to negative (-) terminal of the battery.
    3. Connect the positive (+) lead from the battery to terminal 9 on the wire harness side connector.
    4. As the window goes down, check that the current flow is approximately 7 A.
      Fig 9: Checking Current Flow As Windows Goes Down
      G01895777Courtesy of © TOYOTA, LICENSE AGREEMENT TMS1002
    5. Check that the current increases up to approximately 14.5 A or more when the window stops going down.
      Fig 10: Checking Current Flow As Windows Is Down
      G01895778Courtesy of © TOYOTA, LICENSE AGREEMENT TMS1002
    NOTE: The circuit breaker opens some 4 - 40 seconds after the window stops going down, so that check must be made before the circuit breaker operates.

    If the operation is not as specified, replace the master switch.

  3. Using an ammeter with a current-measuring probe: Inspect one touch power window system/current of circuit 
    1. Remove the master switch with connector connected.
    2. Attach a current-measuring probe to terminal 5 of the wire harness.
    3. Turn the ignition switch ON and set the power window switch in the down position.
    4. As the window goes down, check that the current flow is approximately 7 A.
      Fig 11: Checking Current Flow With A Current-Measuring Probe As Window Goes Down
      G01895779Courtesy of © TOYOTA, LICENSE AGREEMENT TMS1002
    5. Check that the current increases up to approximately 14.5 A or more when the window stops going down.
      Fig 12: Checking Current Increases When Window Is Down
      G01895780Courtesy of © TOYOTA, LICENSE AGREEMENT TMS1002
    NOTE: The circuit breaker opens some 4 - 40 seconds after the window stops going down, so that check must be made before the circuit breaker operates.

    If the operation is not as specified, replace the master switch.

  4. Passenger's and rear switch: Inspect passenger's and rear power window switch continuity 
    Fig 13: Displaying Passenger's & Rear Power Window Switch
    G01895782Courtesy of © TOYOTA, LICENSE AGREEMENT TMS1002
    Fig 14: Displaying Passenger's & Rear Power Window Switch Continuity Specifications
    G01895781Courtesy of © TOYOTA, LICENSE AGREEMENT TMS1002

    If continuity is not as specified, replace the switch.

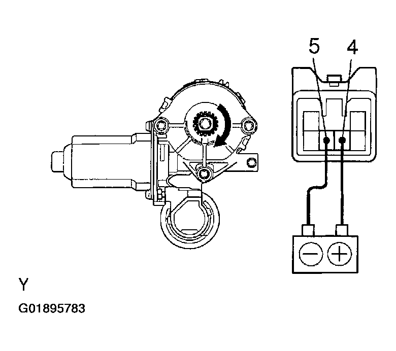
  5. Front left side door and rear right side door: Inspect power window motor operation 
    1. Connect the positive (+) lead from the battery to terminal 4 and the negative (-) lead to terminal 5, check that the motor turns clockwise.
      Fig 15: Displaying Power Window Motor Operation
      G01895783Courtesy of © TOYOTA, LICENSE AGREEMENT TMS1002
    2. Reverse the polarity, check that the motor turns counterclockwise.
      Fig 16: Checking Motor Turns Counterclockwise
      G01895784Courtesy of © TOYOTA, LICENSE AGREEMENT TMS1002

    If operation is not as specified, replace the motor.

  6. Front right side door and rear left side door: Inspect power window motor operation 
    1. Connect the positive (+) lead from the battery to terminal 5 and the negative (-) lead to terminal 4, check that the motor turns clockwise.
      Fig 17: Displaying Power Window Motor Operation
      G01895785Courtesy of © TOYOTA, LICENSE AGREEMENT TMS1002
    2. Reverse the polarity, check that the motor turns counterclockwise.
      Fig 18: Checking Motor Turns Counterclockwise
      G01895786Courtesy of © TOYOTA, LICENSE AGREEMENT TMS1002

    If operation is not as specified, replace the motor.

  7. Driver's door: Inspect power window motor PTC operation 
    1. Connect the positive (+) lead from the battery to terminal 4 and the negative (-) lead to terminal 9 on the wire harness side connector, and raise the window to fully closed position.
      Fig 19: Inspecting Driver's Power Window Motor PTC Operation
      G01895787Courtesy of © TOYOTA, LICENSE AGREEMENT TMS1002
    2. Continue to apply voltage, check that a circuit breaker operation noise is heard within approximately 4 to 90 seconds.
      Fig 20: Checking Circuit Breaker Operation
      G01895788Courtesy of © TOYOTA, LICENSE AGREEMENT TMS1002
    3. Reverse the polarity, check that the window begins to descend within approximately 60 seconds.

    If operation is not as specified, replace the motor.

  8. Passenger's door and rear door: Inspect power window motor PTC operation 
    1. Disconnect the connector from the power window switch.
    2. Connect the positive (+) lead from the battery to terminal 3 and the negative (-) lead to terminal 1 on the wire harness side connector, and raise the window to fully closed position.
      Fig 21: Inspecting Passenger's & Rear Power Window Motor PTC Operation
      G01895789Courtesy of © TOYOTA, LICENSE AGREEMENT TMS1002
    3. Continue to apply voltage, check that circuit breaker operation noise is heard within approximately 4 to 90 seconds.
    4. Reverse the polarity, check that the window begins to descend within approximately 60 seconds.
      Fig 22: Checking Window Begins To Descend
      G01895790Courtesy of © TOYOTA, LICENSE AGREEMENT TMS1002

    If operation is not as specified, replace the motor.

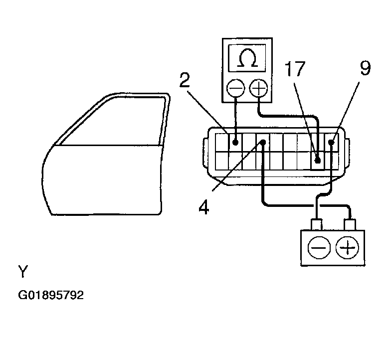
  9. Window up: Inspect front window jam protection limit switch operation 
    1. Disconnect the connector from the master switch.
    2. Connect the positive (+) lead from the ohmmeter to terminal 17 and the negative (-) lead to terminal 2.
    3. Connect the positive (+) lead from the battery to terminal 4 and the negative (-) lead to terminal 9.
    4. Check that the continuity exists when the window goes up.
      Fig 23: Checking Continuity Exists When Window Goes Up
      G01895791Courtesy of © TOYOTA, LICENSE AGREEMENT TMS1002
    5. Check that the no continuity exists when the window is in the fully closed position.
      Fig 24: Checking No Continuity Exists When Window Is Fully Closed
      G01895792Courtesy of © TOYOTA, LICENSE AGREEMENT TMS1002

    If operation is not as specified, replace the motor.

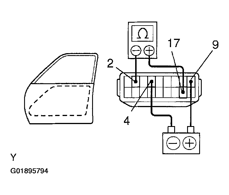
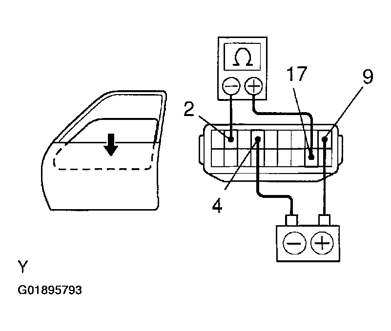
  10. Window down: Inspect front window jam protection limit switch operation 
    1. Connect the positive (+) lead from the ohmmeter to terminal 17 and the negative (-) lead to terminal 2.
    2. Connect the positive (+) lead from the battery to terminal 9 and the negative (-) lead to terminal 4.
    3. Check that the continuity exists when the window goes up.
      Fig 25: Inspecting Front Window Continuity When Going Up
      G01895793Courtesy of © TOYOTA, LICENSE AGREEMENT TMS1002
    4. Check that the no continuity exists when the window is in the fully opened position.
      Fig 26: Inspecting Front Window Continuity When Fully Open
      G01895794Courtesy of © TOYOTA, LICENSE AGREEMENT TMS1002
      NOTE: If connecting the wire harness wrongly, the sensor might be damaged so caution is necessary.
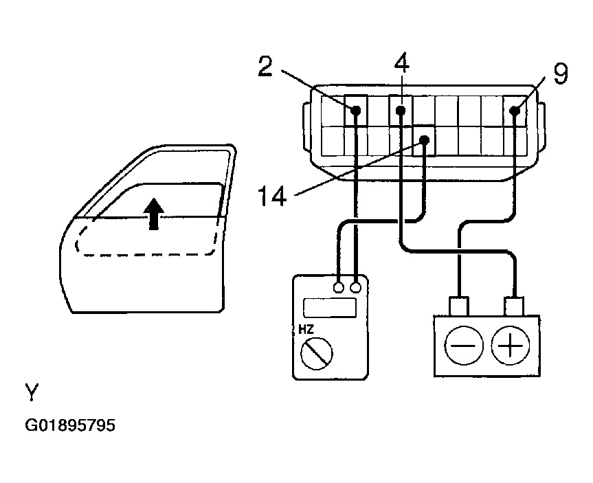
  11. Inspect front window jam protection pulse switch operation  .
    1. Connect the positive (+) lead from the electrical tester to terminal 14 and the negative (-) lead to terminal 2.
    2. Connect the positive (+) lead from the battery to terminal 4 and the negative (-) lead to terminal 9.
    3. Check that pulse is generated during the motor running.
      Fig 27: Inspecting Pulse Is Generated With Window Going Up
      G01895795Courtesy of © TOYOTA, LICENSE AGREEMENT TMS1002
    4. Reverse the polarity and check that the pulse is generated.
      Fig 28: Inspecting Pulse Is Generated With Window Going Down
      G01895796Courtesy of © TOYOTA, LICENSE AGREEMENT TMS1002

    If operation is not as specified, replace the motor.

    NOTE: If connecting the wire harness wrongly, the sensor might be damaged so caution is necessary.
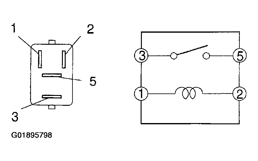
  12. Inspect power relay continuity  .
    Fig 29: Displaying Power Relay Specifications
    G01895797Courtesy of © TOYOTA, LICENSE AGREEMENT TMS1002

    If continuity is not as specified, replace the relay.

    Fig 30: Inspecting Power Relay Continuity
    G01895798Courtesy of © TOYOTA, LICENSE AGREEMENT TMS1002