LEMON Manuals: Even more car manuals for everyone
Home >> Toyota >> 1993 >> Tercel Base >> Repair and Diagnosis >> Engine Performance >> System >> Engine Controls - Tests W/Codes >> Diagnostic Code Charts >> Code 14/Test No. 3 - Ignition Signal

Code 14/Test No. 3 - Ignition Signal

NOTE: To check ignition system components, see I - SYS/COMP TESTS article in the ENGINE PERFORMANCE Section.
CODE 14/TEST NO. 3-IGNITION SIGNAL TROUBLE

Terminals Trouble Condition STD Voltage
IGT - E1 No Voltage Idling 0.7 - 1.0V
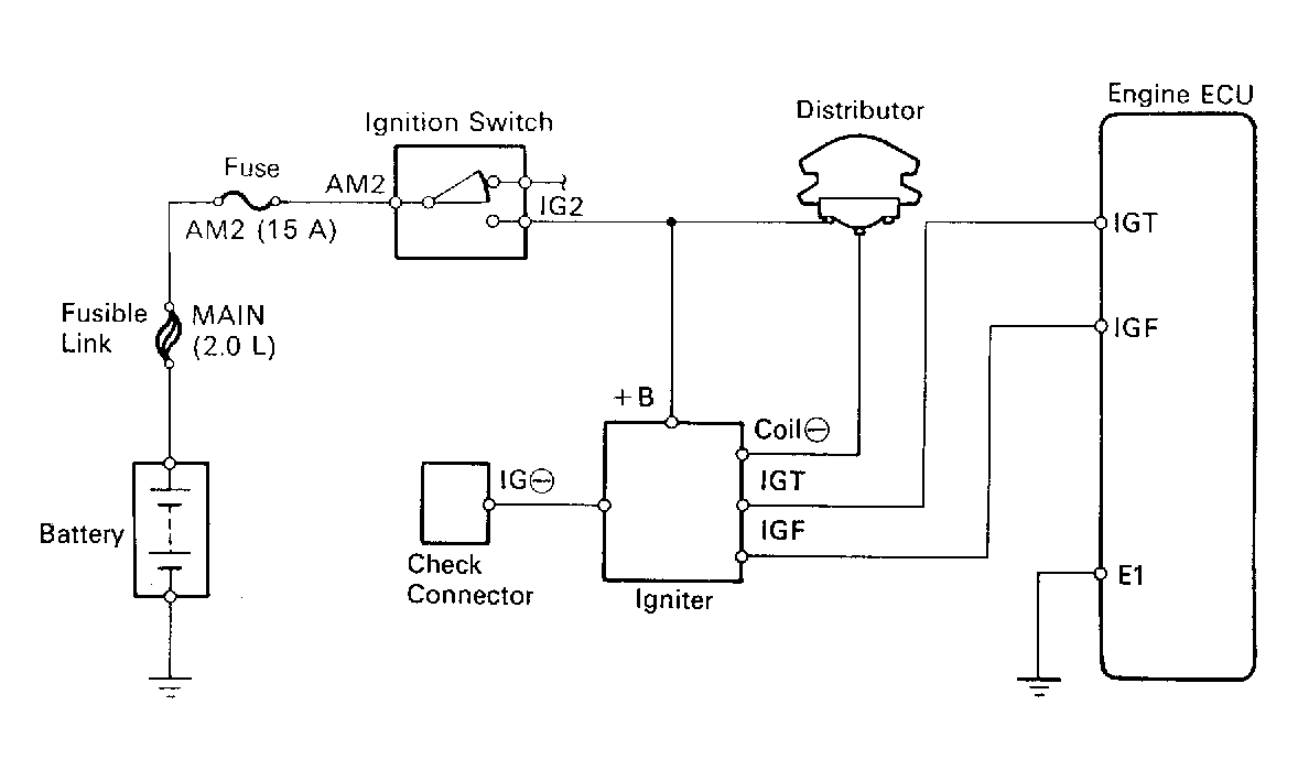
Fig 1: Code 14/Test No. 3 Schematic Ignition Signal
G91D18153Courtesy of © TOYOTA, LICENSE AGREEMENT TMS1002
Fig 2: Code 14/Test No. 3 Flow Chart Ignition Signal
G91C17543Courtesy of © TOYOTA, LICENSE AGREEMENT TMS1002