LEMON Manuals: Even more car manuals for everyone
Home >> Toyota >> 1991 >> Land Cruiser >> Repair and Diagnosis >> Engine Performance >> System >> Engine Controls - System/Component Tests >> Idle Control Systems >> Idle Speed Control (ISC) System

Idle Speed Control (ISC) System

  1. Listen for clicking sound after engine is shut off. If no sound is heard, check ISC valve and wiring.
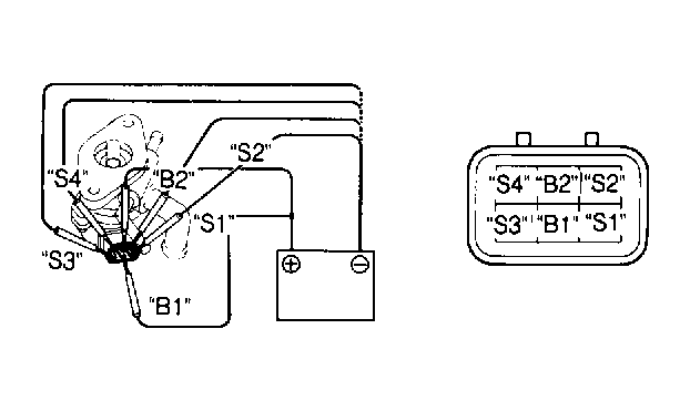
  2. To check wiring circuit, turn engine off. Unplug ISC valve connector. Turn ignition on with engine off. Connect voltmeter between B1 and B2 terminals of wiring harness connector. See Fig 1. Battery voltage should be present. If not, check wiring between ISC valve and EFI main relay.
  3. To check ISC valve, turn ignition off. Unplug ISC valve connector. Measure resistance between ISC valve terminals. See Fig 1. See ISC VALVE RESISTANCE SPECIFICATIONS  table. Replace ISC valve if resistance is not as specified.
    ISC VALVE RESISTANCE SPECIFICATIONS

    Terminals Ohms
    B1 to S1 or S3 10-30
    B2 to S2 or S 10-30
    NOTE: Before removing ISC valve, drain coolant from cooling system. Remove both coolant by-pass hoses. On Supra Turbo only, ensure check valve and seal washer are installed in air intake chamber.
  4. To check valve operation, remove ISC valve from vehicle. Apply battery voltage to terminal B1 and terminal B2. See Fig 1. Repeatedly ground terminals S1, S2, S3 and S in sequence. Valve should close. Remove ground wires.
  5. Apply battery voltage to terminals B1 and B2. Repeatedly ground terminals S, S3, S2 and S1 in sequence. Valve should move toward open position. Replace valve if operation is not as specified.
Fig 1: Checking ISC Valve
G118945Courtesy of © TOYOTA, LICENSE AGREEMENT TMS1002