LEMON Manuals: Even more car manuals for everyone
Home >> Toyota >> 1986 >> Pickup Base, 22-RTE, R151F >> Repair and Diagnosis >> Engine Performance >> System >> TCCS System >> Diagnosis & Testing >> Trouble Code 7 TPS Sensor & Circuit

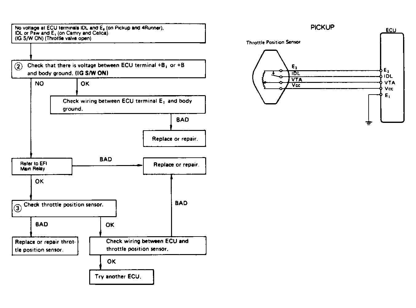
Trouble Code 7 TPS Sensor & Circuit

Fig 1: Terminals IDL - E2
G48507Courtesy of © TOYOTA, LICENSE AGREEMENT TMS1002
Fig 2: Terminals VTA - E2 & Vcc - E2
G48510Courtesy of © TOYOTA, LICENSE AGREEMENT TMS1002