LEMON Manuals: Even more car manuals for everyone
Home >> Toyota >> 1985 >> Van LE, Standard >> Repair and Diagnosis >> Engine Performance >> System >> ECS CEC System >> System Testing >> Diagnostic Circuit Check

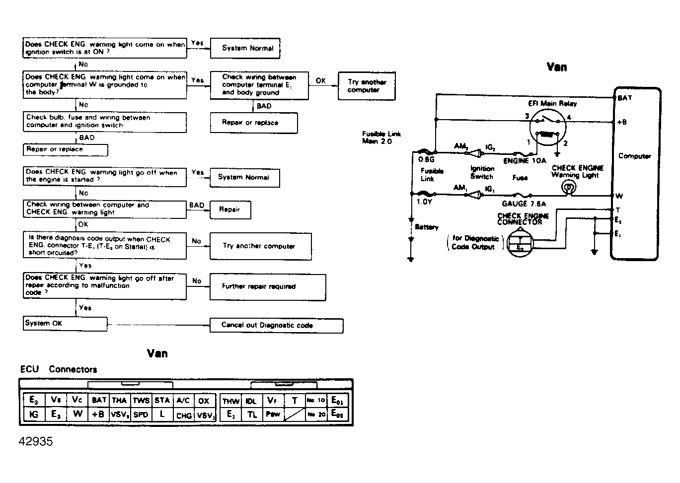
Diagnostic Circuit Check

Fig 1: Diagnostic Circuit Check
G42935Courtesy of © TOYOTA, LICENSE AGREEMENT TMS1002