LEMON Manuals: Even more car manuals for everyone
Home >> Toyota >> 1983 >> Tercel Base >> Repair and Diagnosis >> Engine Performance >> System >> Feedback Carburetor System >> Component Testing >> Oxygen Sensor

Oxygen Sensor

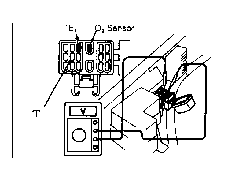
  1. Warm engine to normal operating temperature. Connect voltmeter to check connector. See CHECK CONNECTOR LOCATION  table for location of connector.
  2. Ensure positive probe is connected O "Ox" terminal and negative probe is connected to terminal "E". Start and race engine to 2500 RPM for about 90 seconds. Maintain engine speed at 2500 RPM and ensure voltmeter needle fluctuates 8 times or more in 10 seconds within 0 - 7 volts. If voltmeter fluctuates as indicated, oxygen sensor is okay.
  3. If not, inspect hoses and wiring of fuel feedback control system and air suction system. If no problem is found, replace oxygen sensor.
CHECK CONNECTOR LOCATION

Model Location
Wagon Right Fender Apron Below Wiper Motor
Sedan Near Clutch Reservoir Tank
Fig 1: Oxygen Sensor Testing (Typical)
G95467Courtesy of © TOYOTA, LICENSE AGREEMENT TMS1002