LEMON Manuals: Even more car manuals for everyone
Home >> Toyota >> 1983 >> Tercel Base >> Repair and Diagnosis >> Engine Performance >> System >> CCE System >> Wiring Diagrams

Wiring Diagrams

Fig 1: Carbureted Celica Computer Controlled Emission System Wiring Diagram
G43700Courtesy of © TOYOTA, LICENSE AGREEMENT TMS1002
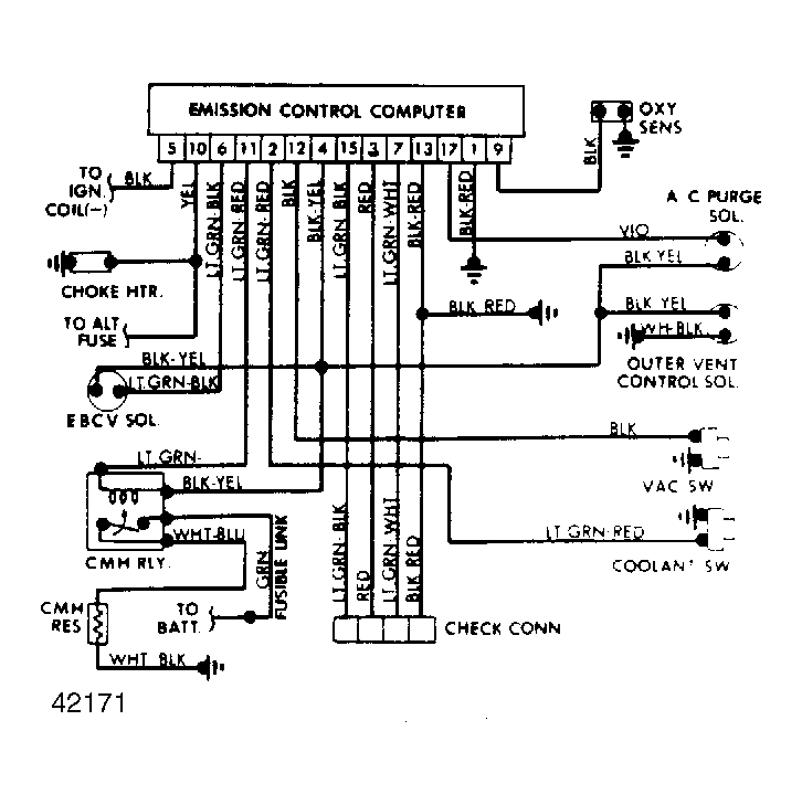
Fig 2: Corolla Computer Controlled Emission System Wiring Diagram
G42171Courtesy of © TOYOTA, LICENSE AGREEMENT TMS1002
Fig 3: Land Cruiser Computer Controlled Emission System Wiring Diagram
G42172Courtesy of © TOYOTA, LICENSE AGREEMENT TMS1002
Fig 4: Pickup Computer Controlled Emission System Wiring Diagram
G42173Courtesy of © TOYOTA, LICENSE AGREEMENT TMS1002
Fig 5: Tercel Computer Controlled Emission System Wiring Diagram
G42174Courtesy of © TOYOTA, LICENSE AGREEMENT TMS1002