LEMON Manuals: Even more car manuals for everyone
Home >> Suzuki >> 2013 >> Kizashi Base, Standard Trans >> Repair and Diagnosis >> External Pages >> Different variant/trim >> Section 2 (Transfer Assembly) >> Repair Instructions >> Transfer Assembly Disassembly and Reassembly >> Reassembly

Transfer Assembly Disassembly and Reassembly: Reassembly

WARNING: This page is about a different variant/trim than selected.
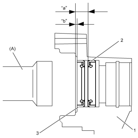
  1. Use special tool to install new oil seal (2) to transfer left case (1) directing oil seal lip as shown.

    Special Tool 

    : 09913-85210 

  2. Use special tools to install new oil seal (3) to transfer left case directing oil seal lip as shown.

    Special Tool 

    1. 09924-74510 
    2. 09944-88210 
    Fig 1: Installing Oil Seal To Transfer Left Case
    G06528618Courtesy of SUZUKI OF AMERICA CORP.
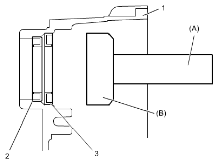
  3. Use special tool to install new oil seal (2) to transfer right case (1) directing oil seal lip as shown until depth reaches "a".

    Oil seal (outer) installing depth 

    "a": 16 - 17 mm (0.6 - 0.7 in.) 

    Special Tool 

    : 09925-15410 

  4. Use special tool to install new oil seal (3) to transfer right case directing oil seal lip as shown until depth reaches "b".

    Oil seal (inner) installing depth 

    "b": 3 - 4 mm (0.1 - 0.2 in.) 

    Special Tool 

    1. 09925-15410 
    Fig 2: Identifying Oil Seal Inner Depth
    G06528619Courtesy of SUZUKI OF AMERICA CORP.
  5. Apply grease to lip of all installed oil seals.

    : Grease 99000-25011 (SUZUKI Super Grease A) 

  6. Install following parts to transfer right case (5).
    • Oil pump inner rotor (1)
    • Oil pump outer rotor (2)
    • Oil pump outer cover (3)
    • Oil pump drive pin (4)
  7. Tighten new oil pump outer cover bolts (6) to specified torque.
    CAUTION: The oil pump cover bolts are pre-coated with adhesive. If these bolts are reused, they may work loose. Be sure to replace the oil pump cover bolts with new ones whenever they are removed.

    Tightening torque 

    Oil pump outer cover bolt (a): 8.0 N.m (0.82 kg-m, 6.0 lbf-ft) 

    Fig 3: Identifying Oil Pump Outer Cover Bolts
    G06528620Courtesy of SUZUKI OF AMERICA CORP.
  8. Install new O-ring and oil strainer to transfer right case.
  9. Use special tools and hydraulic press to install right bearing (1) to reduction driven gear (2).

    Special Tool 

    1. 09924-74510 
    2. 09924-07730 
    Fig 4: Installing Right Bearing To Reduction Driven Gear
    G06528621Courtesy of SUZUKI OF AMERICA CORP.
  10. Use special tools and hydraulic press to install bevel gear (1) to reduction driven gear (2).

    Special Tool 

    1. 09924-07710 
    2. 09924-84510-005 
    3. 09925-15410 
    Fig 5: Installing Bevel Gear To Reduction Driven Gear
    G06528622Courtesy of SUZUKI OF AMERICA CORP.
  11. Use special tools and hydraulic press to install left bearing (1) to reduction driven gear (2).

    Special Tool 

    1. 09913-84510 
    2. 09924-84510-005 
    Fig 6: Installing Left Bearing To Reduction Driven Gear
    G06528623Courtesy of SUZUKI OF AMERICA CORP.
  12. Use special tool, bearing puller (3) and hydraulic press (4) to install bearings (1) to reduction drive gear (2).

    Special Tool 

    1. 09913-85230 
    Fig 7: Installing Bearings To Reduction Drive Gear
    G06528624Courtesy of SUZUKI OF AMERICA CORP.
  13. Select reduction driven gear shim using the following procedures:
    1. Calculate thickness of shim "e" with calculating formula.

      "e" = ("b" + "c") - "a" + 0.1 mm (0.004 in.)

      • "a": distance between outer race end of reduction driven gear bearings (mm (in.))
      • "b": depth of bearing retaining surface on transfer left case (2) (mm (in.))
      • "c": depth of bearing retaining surface on transfer right case (3) (mm (in.))
        Fig 8: Calculating Thickness Of Shim
        G06528625Courtesy of SUZUKI OF AMERICA CORP.
    2. Select a shim which is close to half thickness of the calculated value (necessary shim thickness) from among the available shims to install it between bearing and case at each of right and left sides.

      Available reduction driven gear left shim (2) thickness 

      REDUCTION DRIVEN GEAR LEFT SHIM THICKNESS SPECIFICATION

      Select shim
      1.00 mm (0.039 in.)
      1.05 mm (0.041 in.)
      1.10 mm (0.043 in.)
      1.15 mm (0.045 in.)
      1.20 mm (0.047 in.)
      1.25 mm (0.049 in.)
      1.30 mm (0.051 in.)
      1.35 mm (0.053 in.)
      1.40 mm (0.055 in.)

      Available reduction driven gear right shim (4) thickness 

      REDUCTION DRIVEN GEAR RIGHT SHIM THICKNESS SPECIFICATION

      Select shim
      0.60 mm (0.024 in.)
      0.65 mm (0.026 in.)
      0.70 mm (0.028 in.)
      0.75 mm (0.030 in.)
      0.80 mm (0.031 in.)
      0.85 mm (0.033 in.)
      0.90 mm (0.035 in.)
      0.95 mm (0.037 in.)
      1.00 mm (0.039 in.)
      1.05 mm (0.041 in.)
      Fig 9: Identifying Reduction Driven Gear Left Shim
      G06528626Courtesy of SUZUKI OF AMERICA CORP.
      Fig 10: Identifying Reduction Driven Gear Left Bearing Outer Race To Transfer Left Case
      G06528627Courtesy of SUZUKI OF AMERICA CORP.
    3. Install reduction driven gear (1) to transfer left case (2).
      NOTE: Do not install reduction drive gear yet.
      Fig 11: Identifying Reduction Driven Gear And Transfer Left Case
      G06528628Courtesy of SUZUKI OF AMERICA CORP.
    4. Install transfer right case (1) to left case and tighten transfer case bolts (2) to specified torque.
      NOTE: Do not apply sealant to mating surface of transfer left case (3) and transfer right case in this stage.

      Tightening torque 

      Transfer case bolt (a): 23 N.m (2.3 kg-m, 17.0 lbf-ft) 

      Fig 12: Identifying Transfer Case Bolts
      G06528629Courtesy of SUZUKI OF AMERICA CORP.
    5. Install shim (1) selected in TRANSFER OUTPUT RETAINER ASSEMBLY DISASSEMBLY AND REASSEMBLY  and transfer output retainer (2) to transfer case (3) and tighten retainer bolts (4) to specified torque.

      Tightening torque 

      Transfer output retainer bolt (a): 55 N.m (5.6 kg-m, 40.5 lbf-ft) 

      Fig 13: Identifying Transfer Output Retainer, Transfer Case And Retainer Bolts
      G06528630Courtesy of SUZUKI OF AMERICA CORP.
    6. Use dial gauge to measure play of flange (2) rotative direction. If check result is not specified, change distribution of reduction driven gear right and left shims installed on transfer left case and transfer right case in Step  b) and measure its play again.

      Bevel pinion & bevel gear backlash 

      : 0.1 - 0.2 mm (0.04 - 0.08 in.) 

      Special Tool 

      1. 09900-20607 
      Fig 14: Measuring Play Of Flange Using Dial Gauge
      G06528631Courtesy of SUZUKI OF AMERICA CORP.
    7. Remove transfer output retainer and inspect teeth contact of bevel gear (1).
      1. After cleaning tooth surface of bevel gear, paint them with gear marking compound evenly by using brush or sponge etc.
      2. Install shim selected in TRANSFER OUTPUT RETAINER ASSEMBLY DISASSEMBLY AND REASSEMBLY  and transfer output retainer to transfer case and tighten retainer bolts to specified torque.

        Tightening torque 

        Transfer output retainer bolt (a): 55 N.m (5.6 kg-m, 40.5 lbf-ft) 

      3. Turn transfer output flange clockwise and counterclockwise repeatedly, and remove transfer output retainer assembly and shim from transfer assembly.
      4. Bring painted part up and check contact pattern referring to the following chart. If contact pattern is not normal, readjust or replace if necessary according to instruction in chart.
        Fig 15: Identifying Transfer Output Retainer And Teeth Contact Of Bevel Gear
        G06528632Courtesy of SUZUKI OF AMERICA CORP.
      NOTE:
      • Be careful not to turn bevel gear more than one full revolution, for it will hinder accurate check.
      • If bevel gear backlash and bevel pinion shims are adjusted properly, correct tooth contact should be provided.

        If correct tooth contact is not provided even when they are adjusted properly, however, there may be an abnormal condition in warm tooth, transfer case or retainer. Check each component and replace if necessary.

      Gear tooth contact table 

      GEAR TOOTH CONTACT PATTERN CHART

      Tooth contact pattern Diagnosis and remedy
      G06528633Courtesy of SUZUKI OF AMERICA CORP.
      Normal
      G06528634Courtesy of SUZUKI OF AMERICA CORP.
      High contact 
      Pinion (1) is positioned too far from the center of bevel gear (2).
      • Decrease thickness of transfer output retainer shim and position pinion closer to gear center.
      • Adjust bevel gear backlash to specification.
      G06528635Courtesy of SUZUKI OF AMERICA CORP.
      Low contact 
      Pinion (1) is positioned too close to the center of bevel gear (2).
      • Increase thickness of transfer output retainer shim and position pinion farther from gear center.
      • Adjust bevel gear backlash to specification.
      G06528636Courtesy of SUZUKI OF AMERICA CORP.
      These contact patterns indicate that the "offset" of reduction driven gear is too much or too little. The remedy is to change the division of the reduction driven gear shim(s).
      G06528637Courtesy of SUZUKI OF AMERICA CORP.
      These contact patterns, located on toe or heel on both drive and coast sides, mean that 1) both pinion and gear are defective, 2) retainer is not true, or 3) gear is not properly seated on transfer case. The remedy is to replace the defective member.
      G06528638Courtesy of SUZUKI OF AMERICA CORP.
      Irregular patterns: If the pattern is not oval, it means that bevel gear is defective. High or low spots on tooth surfaces or on the seat of bevel gear are the cause of irregular patterns appearing on some teeth. The remedy is to replace the pinion and gear set and, if the seat is defective, so is transfer case.
      CAUTION: Bevel gear and pinion must be replaced as a set when replacement of either one becomes necessary.
  14. Separate transfer right case from transfer left case.
  15. Install reduction drive gear assembly (1) and reduction driven gear assembly (2) to transfer left case (3).
  16. Clean mating surface of right and left cases, and apply sealant to right case as shown in figure.

    "A": Sealant 99000-31260 (SUZUKI Bond No. 1217G) 

    Fig 16: Identifying Reduction Drive Gear Assembly, Reduction Driven Gear Assembly And Transfer Left Case
    G06528639Courtesy of SUZUKI OF AMERICA CORP.
  17. Install transfer right case (1) to transfer left case (3) and tighten transfer case bolts (2) to specified torque.

    Tightening torque 

    Transfer case bolt (a): 23 N.m (2.3 kg-m, 17.0 lbf-ft) 

    Fig 17: Identifying Transfer Case Bolts
    G06528640Courtesy of SUZUKI OF AMERICA CORP.
  18. Install shim (1) selected in TRANSFER OUTPUT RETAINER ASSEMBLY DISASSEMBLY AND REASSEMBLY  and transfer output retainer (2) to transfer case (3) and tighten retainer bolts (4) to specified torque.

    Tightening torque 

    Transfer output retainer bolt (a): 55 N.m (5.6 kg-m, 40.5 lbf-ft) 

    Fig 18: Identifying Transfer Output Retainer, Transfer Case And Retainer Bolts
    G06528641Courtesy of SUZUKI OF AMERICA CORP.