LEMON Manuals: Even more car manuals for everyone
Home >> Suzuki >> 2013 >> Kizashi Base, Standard Trans >> Repair and Diagnosis >> External Pages >> Different variant/trim >> Section 2 (Transfer Assembly) >> Repair Instructions >> Transfer Assembly Disassembly and Reassembly >> Disassembly

Transfer Assembly Disassembly and Reassembly: Disassembly

WARNING: This page is about a different variant/trim than selected.
  1. Remove intermediate shaft, see INTERMEDIATE SHAFT DISASSEMBLY AND REASSEMBLY .
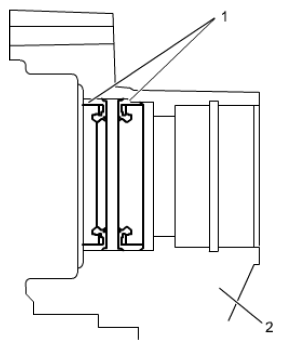
  2. Remove transfer output retainer assembly (2) and shim (3).
    Fig 1: Identifying Transfer Output Retainer Assembly And Shim
    G06528606Courtesy of SUZUKI OF AMERICA CORP.
  3. Disassemble transfer output retainer, see TRANSFER OUTPUT RETAINER ASSEMBLY DISASSEMBLY AND REASSEMBLY .
  4. Separate transfer right case (2) from transfer left case (3).
    Fig 2: Identifying Transfer Case And Bolts
    G06528607Courtesy of SUZUKI OF AMERICA CORP.
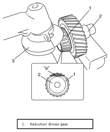
  5. Remove reduction drive gear assembly (1) and reduction driven gear assembly (2) from transfer left case (3).
    Fig 3: Identifying Reduction Drive Gear Assembly, Reduction Driven Gear Assembly And Transfer Left Case
    G06528608Courtesy of SUZUKI OF AMERICA CORP.
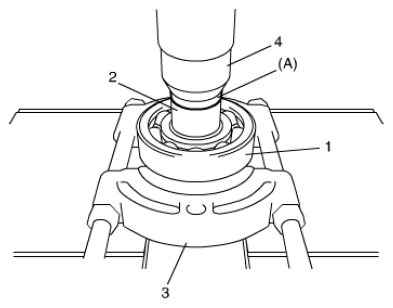
  6. Use special tool, bearing puller (3) and hydraulic press (4) to remove both sides of bearings (1).

    Special Tool 

    1. 09913-85230 
    Fig 4: Removing Bearings Using Special Tool
    G06528609Courtesy of SUZUKI OF AMERICA CORP.
  7. Use special tool, bearing puller (3) and hydraulic press (4) to remove left bearing (1) and bevel gear (2) from reduction driven gear.

    Special Tool 

    1. 09925-98221 
    Fig 5: Removing Left Bearing And Bevel Gear Using Special Tool
    G06528610Courtesy of SUZUKI OF AMERICA CORP.
  8. Grind portion "a" of right bearing (1) using grinder (3) as shown.
    CAUTION: If you grind the bearing too much, you will damage the reduction driven gear. Limit the amount of grinding to the minimum amount necessary.
    Fig 6: Identifying Reduction Driven Gear And Grind Portion
    G06528611Courtesy of SUZUKI OF AMERICA CORP.
  9. Use chisel (1) to break the thinnest portion of bearing inner race (2) and remove bearing.
    Fig 7: Removing Bearing Inner Race
    G06528612Courtesy of SUZUKI OF AMERICA CORP.
  10. Remove bearing outer race (1) and shim (2) from transfer left case (3).
    Fig 8: Identifying Bearing Outer Race, Shim And Transfer Left Case
    G06528613Courtesy of SUZUKI OF AMERICA CORP.
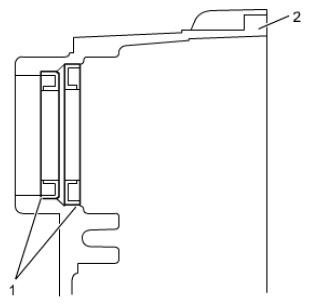
  11. Remove bearing outer race (1) and shim (2) from transfer right case (3).
    Fig 9: Identifying Bearing Outer Race, Shim And Transfer Right Case
    G06528614Courtesy of SUZUKI OF AMERICA CORP.
  12. Remove oil strainer from transfer right case.
  13. Remove oil pump outer cover bolts (1) and then remove following parts from transfer right case (6).
    • Oil pump outer cover (2)
    • Oil pump outer rotor (3)
    • Oil pump inner rotor (4)
    • Oil pump drive pin (5)
      Fig 10: Identifying Oil Pump Outer Cover Bolts And Components
      G06528615Courtesy of SUZUKI OF AMERICA CORP.
  14. Use special tool to remove oil seal (1) from transfer right case (2).

    Special Tool 

    : 09913-50121 

    Fig 11: Identifying Oil Seal And Transfer Right Case
    G06528616Courtesy of SUZUKI OF AMERICA CORP.
  15. Use special tool to remove oil seal (1) from transfer left case (2).

    Special Tool 

    : 09913-50121 

    Fig 12: Identifying Oil Seal And Transfer Left Case
    G06528617Courtesy of SUZUKI OF AMERICA CORP.