LEMON Manuals: Even more car manuals for everyone
Home >> Suzuki >> 2013 >> Kizashi Base, Standard Trans >> Repair and Diagnosis >> Engine Performance >> Fuel Delivery >> Fuel System >> Repair Instructions >> Sub Fuel Level Sensor Removal and Installation (4WD Model) >> Notes

Sub Fuel Level Sensor Removal and Installation (4WD Model): Notes

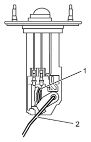
CAUTION: Failure to take proper precautions when removing or installing the fuel level sensor can result in damage. To prevent failure of the fuel level sensor, be careful not to touch the resister plate (1) or deforming the arm (2) when performing the service operations described below.
Fig 1: Identifying Sub Fuel Level Sensor And Touch Resister Plate
G06526567Courtesy of SUZUKI OF AMERICA CORP.