LEMON Manuals: Even more car manuals for everyone
Home >> Suzuki >> 2013 >> Kizashi Base, Standard Trans >> Repair and Diagnosis >> Engine Performance >> Fuel Delivery >> Fuel System >> Repair Instructions >> Fuel Level Sensor Inspection >> Sub Fuel Level Sensor (4WD Model)

Sub Fuel Level Sensor (4WD Model)

Reference: SUB FUEL LEVEL SENSOR REMOVAL AND INSTALLATION (4WD MODEL) 

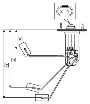
Check resistance between terminals (1) and (2) at each float position [a], [b] and [c].

If measured resistance is out of specification, replace sub fuel level sensor.

Sub fuel level sensor resistance 

Standard 

SUB FUEL LEVEL SENSOR RESISTANCE SPECIFICATION

Float position Resistance
[a] 53.6 mm (2.11 in.) 19.0 - 21.0 Ω
[b] 161.8 mm (6.370 in) 136.5 - 143.5 Ω
[c] 190.4 mm (7.496 in) 162.1 - 166.1 Ω
Fig 1: Checking Resistance Between Terminals 1 And 2 At Each Float Position (4WD Model)
G06526571Courtesy of SUZUKI OF AMERICA CORP.