LEMON Manuals: Even more car manuals for everyone
Home >> Suzuki >> 2013 >> Kizashi Base, Standard Trans >> Repair and Diagnosis >> Engine Performance >> Engine Control Systems >> Engine Electrical Devices >> Repair Instructions >> Electric Throttle Body Assembly On-Vehicle Inspection >> Throttle Position (TP) Sensor Performance Check

Throttle Position (TP) Sensor Performance Check

  1. Remove air cleaner outlet hose with ignition mode of keyless push start system in "OFF", see AIR CLEANER COMPONENTS .
  2. Disconnect connector from electric throttle body assembly.
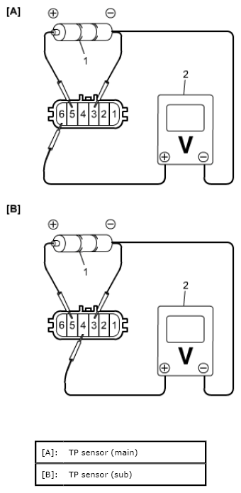
  3. Check TP sensor (main and sub) output voltage as follows.

    If faulty condition is found, replace throttle body, see THROTTLE BODY ASSEMBLY REMOVAL AND INSTALLATION .

    1. Connect 3 new 1.5 V batteries (1) in series and check that total voltage is 4.5 - 5.0 V.
    2. Connect voltmeter (2) and batteries to TP sensor as shown in figure.
      Fig 1: Checking TP Sensor (Main And Sub) Output Voltage
      G06528127Courtesy of SUZUKI OF AMERICA CORP.
    3. Check that voltage varies depending on throttle opening angle as shown in figure while throttle valve is opened and closed by finger.
      Fig 2: TP Sensor Voltage Graph
      G06528128Courtesy of SUZUKI OF AMERICA CORP.