LEMON Manuals: Even more car manuals for everyone
Home >> Suzuki >> 2012 >> SX4 Base >> Repair and Diagnosis >> Engine Performance >> System >> Aux. Emission Control Devices >> Diagnostic Information and Procedures >> EVAP System Smoke Test (EVAP Leak Check Model)

EVAP System Smoke Test (EVAP Leak Check Model)

WARNING: If any gas other than nitrogen gas is used, the gasoline in the fuel system may ignite and explode. Be sure to use only nitrogen gas for this inspection.
CAUTION:
  • Smoke-producing fluid will degrade the performance of vehicle systems other than the evaporative emission system. Use smoke-producing fluid only for testing the evaporative emission system.
NOTE:
  • The vehicle battery must be fully charged for optimum tester performance.
  • It is not recommended to use the tester in an outside repair bay area because wind and/or bright sunlight could make the tester very difficult to read.
  1. Connect the red battery clip from the tester to the positive battery terminal, and then connect the black battery clip from the tester to chassis ground.
    NOTE: Unwind the nitrogen/smoke hose completely from the bracket to optimize the tester's performance.
  2. Connect the nitrogen/smoke hose onto the fuel cap adapter (1).
  3. Remove fuel cap, and then install fuel cap adapter onto the fuel filler neck.
  4. Install fuel filler cap (2) onto the fuel cap adapter.
    NOTE: Connections must be tight and leak-free.
    Fig 1: Connecting Nitrogen/Smoke Hose Onto Fuel Cap Adapter
    G06866871Courtesy of SUZUKI OF AMERICA CORP.
  5. Turn the ignition switch ON leaving the engine OFF.
    WARNING: There is a risk of personal injury and damage to the tester if the evaporative emission system tester is used while the engine is running. Make sure the engine is off before performing the test.
  6. Using the scan tool, close the EVAP canister vent valve in EVAP leak check module as follows. If you have SUZUKI scan tool, perform the step a). If not, perform the step b).

    The evaporative emission system should be sealed and ready to be tested.

    1. Using SUZUKI scan tool
      1. Connect SUZUKI scan tool to DLC (1) with ignition switch OFF.
      2. Turn ignition switch to ON position, clear DTC and select "Active Test" mode on SUZUKI scan tool.
      3. Turn ON and OFF EVAP canister vent valve in EVAP leak check module by using SUZUKI scan tool.

        Special Tool 

        (A): SUZUKI scan tool (SUZUKI-SDT) 

        Fig 2: Connecting Suzuki Scan Tool To DLC
        G06866872Courtesy of SUZUKI OF AMERICA CORP.
    2. Not using SUZUKI scan tool
      1. Connect ECM Check Harness between ECM and ECM connector. Refer to SPECIAL TOOL
      2. Turn ignition switch ON.
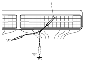
      3. Using service wire, ground "E01-59" terminal (1) of ECM connector (valve ON: "B") and un-ground it (valve OFF: "A").
        Fig 3: Connecting Service Wire, Ground "E01-59" Terminal (1) Of ECM Connector
        G06866873Courtesy of SUZUKI OF AMERICA CORP.
  7. Turn the NITROGEN/SMOKE valve (1) on the control panel to SMOKE.
    Fig 4: Identifying NITROGEN/SMOKE Valve On Control Panel
    G06866874Courtesy of SUZUKI OF AMERICA CORP.
  8. Press and release the remote switch to activate the tester and inject smoke into the EVAP system.
    NOTE: The remote switch operates in a push ON, push OFF manner.
  9. Remove engine cover. See AIR CLEANER ASSEMBLY REMOVAL AND INSTALLATION .
  10. Disconnect purge hose No. 1 (1) from EVAP canister purge valve (2) and check that smoke comes out of it in order to verify smoke is filled the EVAP system.
    NOTE: Inject smoke in less than two-minute cycles for optimum tester performance.
    Fig 5: Identifying Purge Hose
    G06866875Courtesy of SUZUKI OF AMERICA CORP.
  11. Press and release the remote switch to deactivate the tester.
  12. Connect purge hose No. 1 to EVAP canister purge valve.
  13. Charge smoke into the system for an additional 60 seconds.
  14. Continue charging smoke at 15 second intervals, as necessary.
    NOTE: For optimum visual smoke performance, deactivate the smoke flow and allow the system pressure to drop. Allowing the smoke to exit small holes at a low flow rate greatly enhances visibility.
  15. Using the halogen light (1), inspect the entire EVAP system path and look for any leak. Charge smoke at 15 second intervals, as needed, until leak source is identified. If any leak is not found, go to the next step. If any leak is found, skip the steps from  16 to  21) and go to the step  22).
    NOTE: Using the ultraviolet light (2) and shield glasses (3) if available, the exact location of the leak can be identified. The Ultra Trace UV™, which has been deposited at the exact location of the leak, fluoresces by shinning the ultraviolet light. Once the area of the leak is identified by the exiting smoke, this method is helpful when the leak is in an area that is not readily visible.
    Fig 6: Identifying Halogen Light
    G06866876Courtesy of SUZUKI OF AMERICA CORP.
  16. Using the scan tool, operate EVAP canister vent valve in EVAP leak check module referring to Step 6).
  17. Disconnect pipe from the outlet nozzle (1) of EVAP leak check module.
  18. Plug outlet nozzle with finger or the rubber plug.
    CAUTION: Be sure to block the ventilation nozzle of the EVAP leak check module securely when performing the test. If the ventilation nozzle of the EVAP leak check module is not blocked securely, the module is open to the atmosphere through the leak detection pump even with the EVAP canister vent valve and the EVAP canister purge valve both closed. Nitrogen gas will then leak through the nozzle, giving a false indication of leakage.
    Fig 7: Disconnecting Pipe From Outlet Nozzle Of EVAP Leak Check Module
    G06866877Courtesy of SUZUKI OF AMERICA CORP.
  19. Operate EVAP canister purge valve as follows. If you have SUZUKI scan tool, perform the step  a). If not, perform the step  b).
    1. Using SUZUKI scan tool
      1. Connect SUZUKI scan tool to DLC (1) with ignition switch OFF.
      2. Turn ON ignition switch, clear DTC and select "Active Test" mode on SUZUKI scan tool.

        Special Tool 

        (A): SUZUKI scan tool (SUZUKI-SDT)  . Refer to SPECIAL TOOL

        Fig 8: Identifying Data Link Connector
        G06866878Courtesy of SUZUKI OF AMERICA CORP.
    2. Not using SUZUKI scan tool
      1. Connect special tool between ECM and ECM connector. Refer to INSPECTION OF ECM AND ITS CIRCUITS .
      2. Turn ignition switch ON.
      3. Using service wire, ground "C01-7" terminal (1) of ECM connector (valve ON: "B") and unground it (valve OFF: "A").
        Fig 9: Connecting Service Wire, Ground "C01-7" Terminal Of ECM Connector
        G06866879Courtesy of SUZUKI OF AMERICA CORP.
  20. Disconnect pipe from the outlet nozzle of EVAP canister purge valve.
  21. Check EVAP canister purge valve (1) for any leak when valve is switched ON and OFF by using SUZUKI scan tool or service wire. If check result is not described below, replace EVAP canister purge valve.

    EVAP canister purge valve specification 

    [A] Valve OFF: Smoke should not come out of EVAP canister purge valve  .

    [B] Valve ON: Smoke should come out of EVAP canister purge valve  .

    Fig 10: Identifying EVAP Canister Purge Valve
    G06866880Courtesy of SUZUKI OF AMERICA CORP.
  22. Repair the leak.
  23. Perform the pressurization test again referring to EVAP LEAK CHECK SYSTEM LEAK INSPECTION  and check whether the leak is completely repaired.
  24. Charge the battery as necessary.
    NOTE: After the tester has been used in SMOKE mode, smoke may condense inside the nitrogen/smoke hose, turning into an oil.
    Over time, this buildup of oil could degrade the performance of the tester. Use the following procedure any time the tester has been used in SMOKE mode and will be set aside for a long period of time.
    1. Close the valve on the nitrogen tank.
    2. Disconnect the nitrogen/smoke hose from the vehicle.
    3. Turn the NITROGEN/SMOKE valve to NITROGEN.
    4. Press and release the remote switch to activate the tester, and then purge any residual smoke from the nitrogen/smoke hose.