LEMON Manuals: Even more car manuals for everyone
Home >> Suzuki >> 2012 >> SX4 Base >> Repair and Diagnosis >> Engine Performance >> Fuel Delivery >> Fuel System >> Repair Instructions >> Fuel Level Sensor Inspection

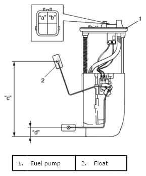
Fuel Level Sensor Inspection

Reference: FUEL LEVEL SENSOR REMOVAL AND INSTALLATION