LEMON Manuals: Even more car manuals for everyone
Home >> Suzuki >> 2012 >> Equator Base >> Repair and Diagnosis >> General Information >> OEM General Information >> Commercial Service Tools >> Commercial Service Tools >> Commercial Service Tools (Engine Overhaul, EVAP, Exhaust System, O2 Sensor, Spark Plug & Transmission)

Commercial Service Tools (Engine Overhaul, EVAP, Exhaust System, O2 Sensor, Spark Plug & Transmission)

(Kent-Moore No.) Tool name - Description
Anti-seize lubricant i.e.: (Permatex™ 133AR or equivalent meeting MIL specification MIL-A-907)
G07040778
Lubricating oxygen sensor thread cleaning tool when reconditioning exhaust system threads.
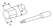
(J-24239-01) Cylinder head bolt wrench
G07040779
Loosening and tightening cylinder head bolt, and used with angle wrench [SST: KV10112100 (BT8653-A)]
  1. 13 (0.51) dia. 
  2. 12 (0.47) 
  3. 10 (0.39) 

Unit: mm (in)
(-)
  1. Compression tester
  2. Adapter
G07040780
Checking compression pressure
  1. Crowfoot
  2. Torque wrench
G07040781
Installing exhaust manifold nuts
  1. 14 mm (0.55 in) 
Deep socket
G07040782
Removing and installing oil pressure switch
  1. 27 mm (1.06 in) 
EVAP service port adapter i.e.:(J-41413-OBD)
G07040783
Applying positive pressure through EVAP service port
Fuel filler cap adapter i.e.: (J-41416)
G07040784
Checks fuel tank vacuum relief valve opening pressure (QR25DE)
Fuel filler cap adapter i.e.: (MLR-8382)
G07040785
Checks fuel tank vacuum relief valve opening pressure (VQ40DE)
Leak detector i.e.:(J-41416)
G07040786
Locating the EVAP leak
(-)
Manual lift table caddy
G07040787
Removing and installing engine
  1. (J-43897-18)
  2. (J-43897-12)

Oxygen sensor thread cleaner
G07040788
Reconditioning the exhaust system threads before installing a new heated oxygen sensor (Use with anti-seize lubricant shown below.)
  1. = 18 mm (0.71 in) dia. for zirconia heated oxygen sensor 
  2. = 12 mm (0.47 in) dia. for Titania heated oxygen sensor 
(-)
Piston ring expander
G07040789
Removing and installing piston ring
Power tool
G07040790
Loosening screws, nuts and bolts
(-)
Pulley holder
G07040791
Removing and installing crankshaft pulley
(-)
Pulley puller
G07040792
Removing crankshaft pulley
Socket wrench
G07040793
Removing and installing engine coolant temperature sensor
(-)
Spark plug wrench
G07040794
Removing and installing spark plug (QR25DE)
(-)
Spark plug wrench
G07040795
Removing and installing spark plug (VQ40DE)
KV991J0100
(J-46531)
TORX socket
G07040796
Removing and installing flywheel
Size: T55 
(-)
Valve guide drift
G07040797
Removing and installing valve guide
Intake and Exhaust: 
  1. 9.5 mm (0.374 in) dia. 
  2. 5.5 mm (0.217 in) dia. 
(-)
Valve guide reamer
G07040798
  1. Reaming valve guide inner hole
  2. Reaming hole for oversize valve guide

Intake and Exhaust: 
1  : 6.0 mm (0.236 in) dia. 
2  : 10.2 mm (0.402 in) dia. (QR25DE) 
2  : 10.175 - 10.196 mm (0.4006 - 0.4014 in) dia. (VQ40DE) 
(-)
Valve seat cutter set
G07040799
Finishing valve seat dimensions