LEMON Manuals: Even more car manuals for everyone
Home >> Suzuki >> 2012 >> Equator Base >> Repair and Diagnosis >> External Pages >> Different car >> Section 36 (Transfer) >> Repair Instructions >> Transfer Case Assemble >> Intermediate Drive Shaft Assembly

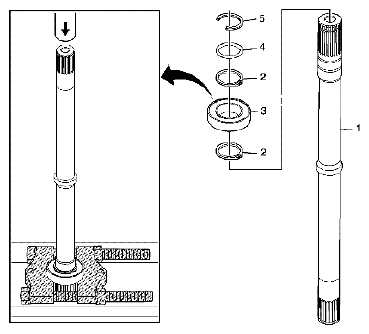
Intermediate Drive Shaft Assembly

WARNING: This page is about a different car, the 2007 Suzuki XL7. However, it is still accessible from the selected car via links, so may be relevant.
Fig 1: Identifying Intermediate Drive Shaft Assembly Components
G04843845Courtesy of SUZUKI OF AMERICA CORP.
CALLOUT AND COMPONENT NAME TABLE

Callout Component Name
1 Front Wheel Drive Intermediate Shaft
2 Front Wheel Drive Intermediate Shaft Bearing Retainers (Qty: 2)
3 Front Wheel Drive Intermediate Shaft Bearing Assembly
Tip:  Use a press, with the J 22912-B flat side up, in order to install the bearing assembly.
Special Tools 
J 22912-B Rear Pinion and Axle Bearing Remover
4 O-Ring
5 Half Shaft Retainer