LEMON Manuals: Even more car manuals for everyone
Home >> Suzuki >> 2012 >> Equator Base >> Repair and Diagnosis >> Electrical >> Body Electrical >> Power Control System >> Schematic and Routing Diagram >> Relay Control System: System Diagram

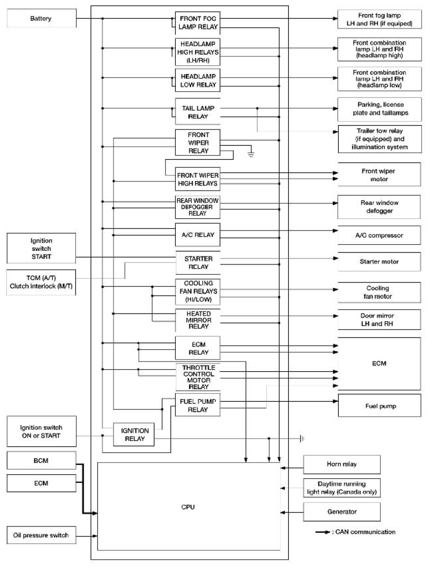
Relay Control System: System Diagram

Fig 1: Relay Control System - System Diagram
G06446772Courtesy of SUZUKI OF AMERICA CORP.