LEMON Manuals: Even more car manuals for everyone
Home >> Suzuki >> 2012 >> Equator Base >> Repair and Diagnosis (Single Page) >> Accessories & Equipment >> Headlights >> Lighting Systems >> Schematic and Routing Diagram >> Combination Switch Reading System: System Diagram

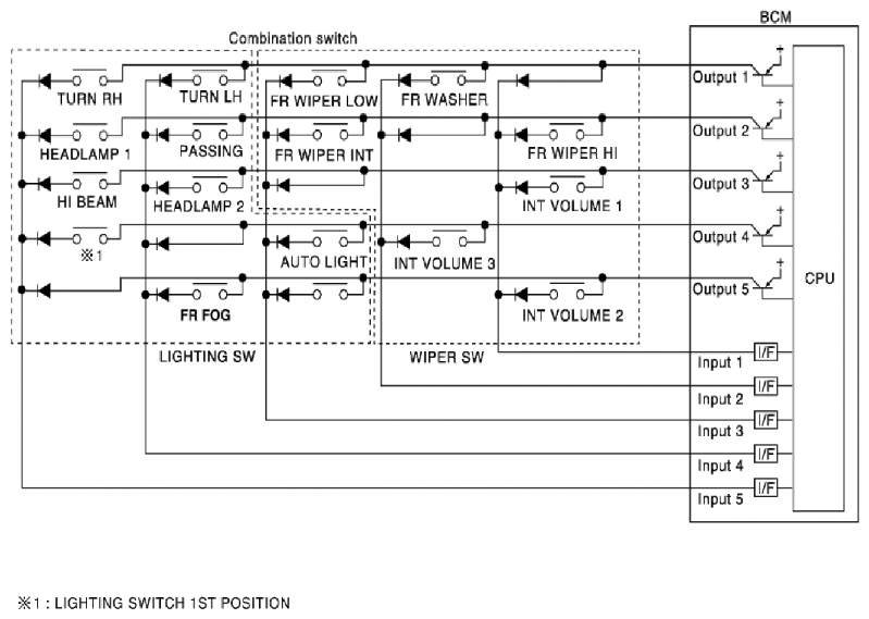
Combination Switch Reading System: System Diagram

Fig 1: Combination Switch Reading System Diagram
G06443404Courtesy of SUZUKI OF AMERICA CORP.