LEMON Manuals: Even more car manuals for everyone
Home >> Suzuki >> 2012 >> Equator Base >> Repair and Diagnosis (Single Page) >> Accessories & Equipment >> Communication Devices >> Body Electric Control System >> Diagnostic Information and Procedure >> Combination Switch Circuit Check >> Description >> Combination Switch Matrix

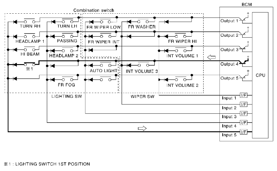
Combination Switch Matrix

Combination switch consists of INPUT circuit and OUTPUT circuit.

Fig 1: Combination Switch Circuit Diagram
G06446897Courtesy of SUZUKI OF AMERICA CORP.

Combination switch INPUT-OUTPUT system list 

COMBINATION SWITCH INPUT-OUTPUT CHART

System OUTPUT 1 OUTPUT 2 OUTPUT 3 OUTPUT 4 OUTPUT 5
INPUT 1 - FR WASHER FR WIPER LOW TURN LH TURN RH
INPUT 2 FR WIPER HI - FR WIPER INT PASSING HEADLAMP 1
INPUT 3 INT VOLUME 1 - - HEADLAMP 2 HI BEAM
INPUT 4 - INT VOLUME 3 AUTO LIGHT - TAIL LAMP
INPUT 5 INT VOLUME 2 - - FR FOG -
NOTE: Headlamp has a dual system switch.