LEMON Manuals: Even more car manuals for everyone
Home >> Suzuki >> 2011 >> Equator Base >> Repair and Diagnosis >> Accessories & Equipment >> Entertainment Systems >> Audio Visual/Navigation >> Premium Audio (Crew cab) >> Schematic and Routing Diagram >> Audio System: System Diagram

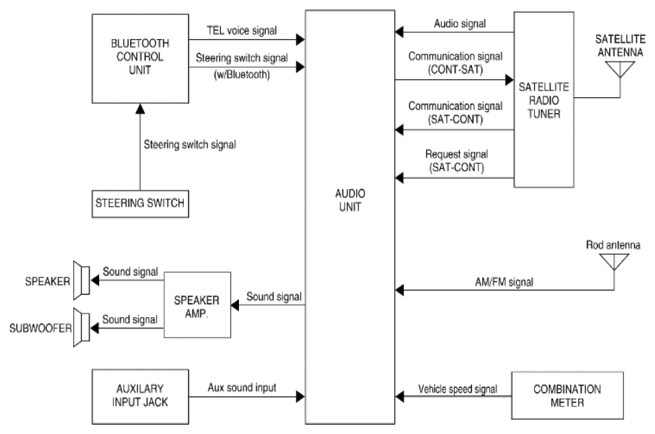
Audio System: System Diagram

Fig 1: Audio System - System Diagram
G06445531Courtesy of SUZUKI OF AMERICA CORP.