LEMON Manuals: Even more car manuals for everyone
Home >> Suzuki >> 2008 >> Reno Automatic >> Repair and Diagnosis >> External Pages >> Different car >> Section 249 (Lighting Systems) >> Repair Instructions >> Headlight Switch (In Lighting Switch) Inspection >> Headlight Relay Inspection

Headlight Relay Inspection

WARNING: This page is about a different car, the 2006 Suzuki Grand Vitara. However, it is still accessible from the selected car via links, so may be relevant.
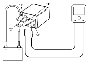
  1. Disconnect negative (-) cable at battery.
  2. Remove headlight relay from main fuse box.
  3. Check that there is no continuity between terminal "3" and "4". If there is continuity, replace relay.
  4. Connect battery positive (+) terminal to terminal "2" of relay and battery negative (-) terminal to terminal "1" of relay.
  5. Check continuity between terminal "3" and "4". If there is no continuity when relay is connected to the battery, replace relay.
    Fig 1: Testing Headlight Relay
    G04809744Courtesy of SUZUKI OF AMERICA CORP.