LEMON Manuals: Even more car manuals for everyone
Home >> Suzuki >> 2007 >> Swift + >> Repair and Diagnosis >> Accessories & Equipment >> Anti-Theft Systems >> Keyless Entry System And Remote Functions >> Component Locator >> Remote Function Connectors (Hatchback)

Remote Function Connectors (Hatchback)

Hood Ajar Switch Connector End View/Part Information/Terminal Identification

GM1467036Courtesy of GENERAL MOTORS CORP.
Connector Part Information
  • KET MG 610392
  • 2-Way F Series Sealed (WH)
Pin Wire Color Circuit No. Function
1 BN/BK 109 Hood Ajar Switch Signal
2 OG 1440 Battery Positive Voltage
Lock Cylinder Switch Connector End View/Part Information/Terminal Identification - Rear Compartment

GM1467020Courtesy of GENERAL MOTORS CORP.
Connector Part Information
  • KET MG 610070
  • 2-Way F 090 (2.3 mm) Series (WH)
Pin Wire Color Circuit No. Function
1 D-BU 737 Rear Compartment Lid Ajar Switch Signal
2 BK 850 Ground
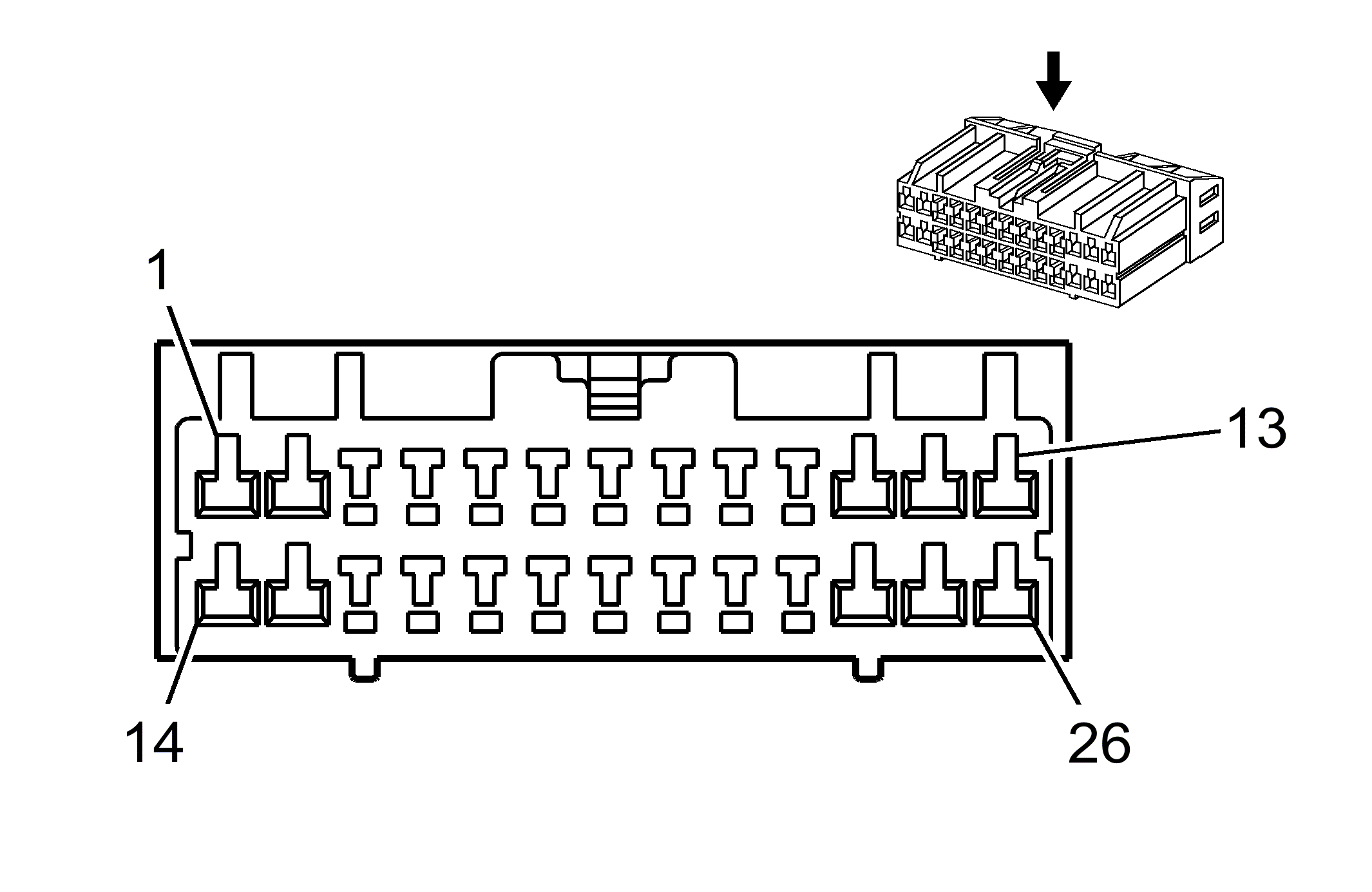
Remote Control Door Lock Receiver (RCDLR) Connector End View/Part Information/Terminal Identification

GM1467056Courtesy of GENERAL MOTORS CORP.
Connector Part Information
  • KET MG 611336
  • 26-Way F PCB Connector (WH)
Pin Wire Color Circuit No. Function
1 D-GN/WH 261 Arm Alarm Signal
2 BK 650 Ground
3 - - Not Used
4 D-BU 49 Tamper Switch Signal (4-Door)
5 OG/BK 737 Rear Compartment Lid Ajar Switch Signal
6 - - Not Used
7 BN/BK 109 Hood Ajar Switch Signal
8 D-GN/WH 157 Courtesy Lamp Control
9 GY 195 Door Lock Control
10 GY/D-GN 355 Low Speed Cooling Fan Relay Control
11 YE/D-GN 356 Driver Door Lock Relay Unlock Control
12 D-BU 49 Tamper Switch Signal
13 D-BU 15 Right Turn Signal Lamps Supply Voltage
14 - - Not Used
15 PK 239 Ignition 1 Voltage
16 - - Not Used
17 BK/WH 2051 Serial Data
18 L-GN 80 Key In Ignition Switch Signal
19 YE 749 Security Indicator Control
20 D-BU 49 Tamper Switch Signal
21-24 - - Not Used
25 OG 1340 Battery Positive Voltage
26 L-BU 14 Left Turn Signal Lamps Supply Voltage
Theft Deterrent Alarm Connector End View/Part Information/Terminal Identification

GM1468380Courtesy of GENERAL MOTORS CORP.
Connector Part Information
  • KUM PB 625-02027
  • 2-Way F NMWP 04F-B Assembly (BK)
Pin Wire Color Circuit No. Function
1 D-GN/WH 261 Arm Alarm Signal
2 BN 641 Ignition 3 Voltage
Theft Deterrent Control Module Connector End View/Part Information/Terminal Identification

GM1497622Courtesy of GENERAL MOTORS CORP.
Connector Part Information
  • SD 35508-0700
  • 7-Way Connector F (WH)
Pin Wire Color Circuit No. Function
1 PK 239 Ignition 1 Voltage
2 OG 240 Battery Positive Voltage
3 - - Not Used
4 BK 450 Ground
5 D-BU/WH 1800 Battery Positive Voltage
6 BK/WH 2051 Serial Data
7 YE 749 Security Indicator Control