LEMON Manuals: Even more car manuals for everyone
Home >> Suzuki >> 2007 >> SX4 Base, Standard >> Repair and Diagnosis >> Engine Performance >> System >> Engine Electrical Devices >> Repair Instructions >> Electric Throttle Body Assembly On-Vehicle Inspection >> Throttle Position (TP) Sensor Performance Check

Throttle Position (TP) Sensor Performance Check

  1. Remove air cleaner outlet hose.
  2. Turn OFF ignition switch.
  3. Disconnect connector from electric throttle body assembly.
  4. Check TP sensor (main and sub) output voltage as the following steps.
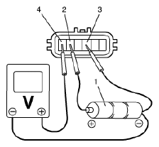
    1. For TP sensor (main), arrange 3 new 1.5 V batteries (1) in series (check that total voltage is 4.5 - 5.0 V) and connect its positive terminal to "Vin" terminal (2) and negative terminal to "Ground" terminal (3) of sensor. Then using voltmeter, connect positive terminal to "Vout 1" terminal (4) of sensor and negative terminal to battery.
      Fig 1: Checking TP Sensor Output Voltage
      G04846707Courtesy of SUZUKI OF AMERICA CORP.
    2. For TP sensor (sub), arrange 3 new 1.5 V batteries (1) in series (check that total voltage is 4.5 - 5.0 V) and connect its positive terminal to "Vin" terminal (2) and negative terminal to "Ground" terminal (3) of sensor. Then using voltmeter, connect positive terminal to "Vout 2" terminal (4) of sensor and negative terminal to battery.
      Fig 2: Connecting Positive Terminal To Vin Terminal
      G04846708Courtesy of SUZUKI OF AMERICA CORP.
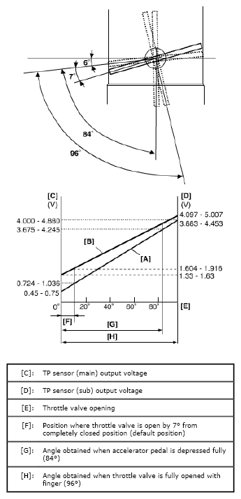
    3. Measure output voltage variation while throttle valve is opened and closed as the following specification.

    If sensor voltage is out of specified value and linear variation as the following graph, replace electric throttle body assembly.

TP sensor output voltage 

TP sensor (main) [A]: 0.45 - 4.88 V, varying according to throttle valve opening by finger (Voltage should vary by 0.04 V for each 1° valve opening) 

TP sensor (sub) [B]: 1.33 - 5.007 V, varying according to throttle valve opening by finger (Voltage should vary by about 0.032 V for each 1° valve opening) 

Fig 3: TP Sensor Output Voltage Variation Graph
G04846709Courtesy of SUZUKI OF AMERICA CORP.