LEMON Manuals: Even more car manuals for everyone
Home >> Suzuki >> 2007 >> SX4 Base, Standard >> Repair and Diagnosis >> Engine Performance >> System >> Engine Electrical Devices >> Repair Instructions >> Accelerator Pedal Position (APP) Sensor Assembly Inspection

Accelerator Pedal Position (APP) Sensor Assembly Inspection

Check APP sensor (main and sub) output voltage as the following steps.

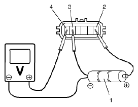
  1. For APP sensor (main), arrange 3 new 1.5 V batteries (1) in series (check that total voltage is 4.5 - 5.0 V) and connect its positive terminal to "Vin 1" terminal (2) and negative terminal to "Ground 1" terminal (3) of sensor. Then using voltmeter, connect positive terminal to "Vout 1" terminal (4) of sensor and negative terminal to battery.
    Fig 1: Checking APP Sensor (Main And Sub) Output Voltage
    G04846712Courtesy of SUZUKI OF AMERICA CORP.
  2. For APP sensor (sub), arrange 3 new 1.5 V batteries (1) in series (check that total voltage is 4.5 - 5.0 V) and connect its positive terminal to "Vin 2" terminal (2) and negative terminal to "Ground 2" terminal (3) of sensor. Then using voltmeter, connect positive terminal to "Vout 2" terminal (4) of sensor and negative terminal to battery.
    Fig 2: Connecting Positive Terminal To Vout 2 Terminal
    G04846713Courtesy of SUZUKI OF AMERICA CORP.
  3. Measure output voltage variation while accelerator pedal is released and fully depressed as the following specification.

    If sensor voltage is out of specified value or does not vary linearly as the following graph, replace APP sensor assembly.

APP sensor output voltage min. variation while accelerator pedal is released to depressed fully 

APP sensor (main) [A]: 0.82 - 3.50 V 

APP sensor (sub) [B]: 0.44 - 1.74 V 

Fig 3: APP Sensor Output Voltage Graph
G04846714Courtesy of SUZUKI OF AMERICA CORP.