LEMON Manuals: Even more car manuals for everyone
Home >> Suzuki >> 2007 >> Aerio Base, AWD >> Repair and Diagnosis >> Transmission >> Transfer Case >> Repair Instructions >> Transfer Output Retainer Assembly Disassembly and Assembly >> Assembly

Transfer Output Retainer Assembly Disassembly and Assembly: Assembly

CAUTION:
  • Bevel gear and pinion must be replaced as a set when either replacement becomes necessary.
  • When replacing taper roller bearing, replace as inner race & outer race assembly.
  1. To mesh bevel gears correctly, it is required to install bevel pinion to transfer output retainer properly by using adjusting shim (bevel pinion shim) as follows.
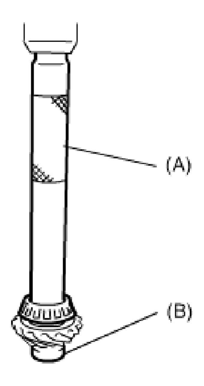
    1. Install pinion shaft front taper roller bearing (1) to bevel pinion dummy (special tools).

      Special Tool 

      1. 09922-76140 
      2. 09922-76420 
        Fig 1: Installing Pinion Shaft Front Taper Roller Bearing To Bevel Pinion Dummy
        G04590589Courtesy of SUZUKI OF AMERICA CORP.
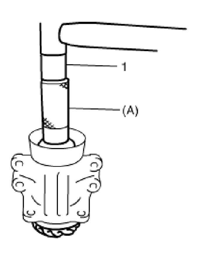
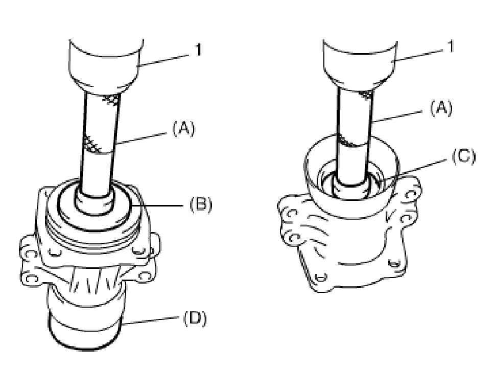
    2. Install bevel pinion dummy (1), pinion shaft rear taper roller bearing (2) and special tools to transfer output retainer (3).

      Special Tool 

      1. 09922-76140 
      2. 09922-76420 
      3. 09922-76310 
      4. 09922-76320 
      5. 09922-76340 
      6. 09922-76150 
        NOTE: Do not install spacer and oil seal for this adjustment.
        Fig 2: Installing Pinion Shaft Rear Taper Roller Bearing And Special Tools To Transfer Output Retainer
        G04590590Courtesy of SUZUKI OF AMERICA CORP.
    3. Tighten bevel pinion nut (special tool) so that specified bearing preload is obtained.
      NOTE: Before measurement, check for rotation by hand more than 15 revolutions.

      Tightening torque 

      Rotational torque of bevel pinion shaft (Bearing preload): 0.50 - 1.50 N.m (5.0 - 15.0 kg-m, 0.35 - 1.10 lb-ft) 

      Fig 3: Measuring Rotational Torque Of Bevel Pinion Shaft
      G04590591Courtesy of SUZUKI OF AMERICA CORP.
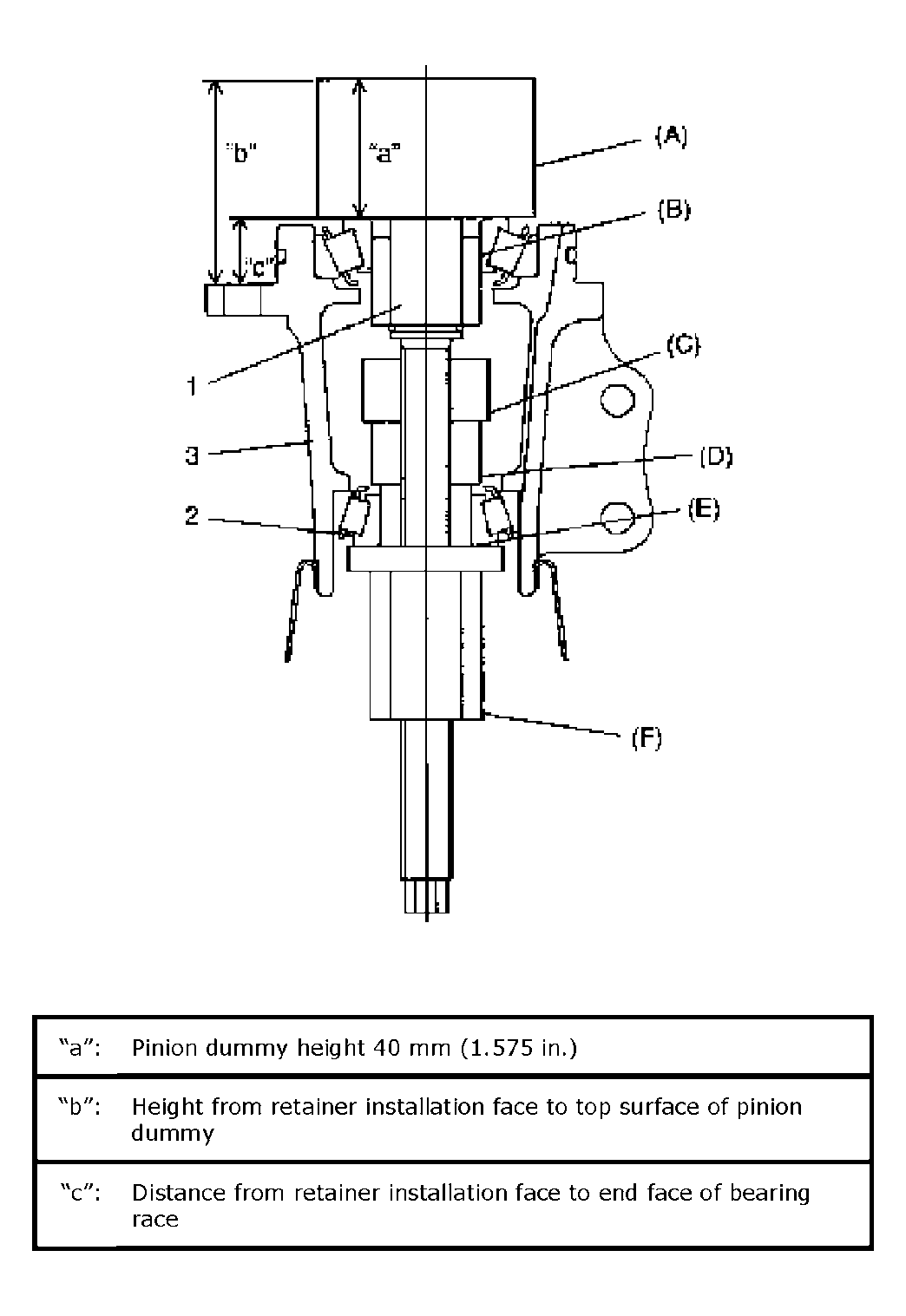
    4. Measure height "b" in figure by using vernier caliper.

      Calculate "c" by using measured value.

      Distance "c" = Height "b" - Height "a" 40 mm (1.575 in.)

    5. Obtain adjusting shim thickness by the following equation.

      Necessary shim thickness "f" = Distance "c" + Distance "d" 61.2 mm (2.409 in.) - Distance "e" 79.25 mm (3.120 in.)

      Fig 4: Identifying Distance From End Face Of Left Case To Axis To Reduction Driven Gear
      G04590592Courtesy of SUZUKI OF AMERICA CORP.
    6. Select adjusting shim closest to calculated value from among the following available sizes.

      Available bevel pinion shim thickness 

      0.30, 0.60, 0.63, 0.66, 0.69, 0.72, 0.75, 0.78, 0.81, 0.84 and 0.87 mm (0.012, 0.024, 0.025, 0.026, 0.027, 0.028, 0.030, 0.031, 0.032, 0.033 and 0.034 in.) 

  2. Press-fit pinion shaft taper roller bearing outer races (front and rear) by using special tools and hydraulic press (1).

    Special Tool 

    1. 09913-75821 
    2. 09924-84510-002 
    3. 09924-84510-005 
    4. 09951-18210 
      Fig 5: Installing Pinion Shaft Taper Roller Bearing Outer Races
      G04590593Courtesy of SUZUKI OF AMERICA CORP.
  3. Press-fit pinion shaft front taper roller bearing by using special tools and hydraulic press.

    Special Tool 

    1. 09941-74910 
    2. 09925-88210 
      Fig 6: Installing Pinion Shaft Front Taper Roller Bearing
      G04590594Courtesy of SUZUKI OF AMERICA CORP.
  4. Install bevel pinion shaft with new pinion shaft spacer to transfer output retainer.
  5. Drive in pinion shaft rear taper roller bearing by using special tool and tapping lightly with plastic hammer (1).

    Special Tool 

    1. 09913-75810 
      Fig 7: Installing Pinion Shaft Rear Taper Roller Bearing
      G04590595Courtesy of SUZUKI OF AMERICA CORP.
  6. Apply grease to new oil seal lip.

    "A": Grease 99000-25010 

  7. Drive in oil seal (1) by using special tool and hammer.

    Special Tool 

    1. 09913-75810 

      Transfer output flange oil seal installing depth 

      "a": 1.0 - 2.0 mm (0.04 - 0.08 in.) 

      Fig 8: Installing Transfer Output Flange Oil Seal
      G04590596Courtesy of SUZUKI OF AMERICA CORP.
  8. Install transfer output flange (1) by tapping with plastic hammer and tighten transfer output flange nut gradually so as rotational torque of bevel pinion shaft to be in specified value.
    NOTE:
    • If rotational torque of bevel pinion shaft exceeds specification given in the following, replace pinion shaft spacer and tighten flange nut.
    • Before taking measurement of rotational torque, rotate pinion shaft over ten rounds in advance.

    Special Tool 

    1. 09930-40113 

      Tightening torque 

      Transfer output flange nut (reference): 90 - 150 N.m (9.0 - 15.0 kg-m, 65.0 - 108 lb-ft) 

      Rotational torque of bevel pinion shaft (Bearing preload): 0.5 - 1.50 N.m (0.05 - 0.15 kg-m, 0.35 - 1.10 lb-ft) 

      Fig 9: Tightening Transfer Output Flange Nut
      G04590597Courtesy of SUZUKI OF AMERICA CORP.
  9. Caulk transfer output flange nut (1).
    Fig 10: Caulking Transfer Output Flange Nut
    G04590598Courtesy of SUZUKI OF AMERICA CORP.