LEMON Manuals: Even more car manuals for everyone
Home >> Suzuki >> 2007 >> Aerio Base, AWD >> Repair and Diagnosis >> Transmission >> Transfer Case >> Repair Instructions >> Transfer Assembly Disassembly and Assembly >> Assembly

Transfer Assembly Disassembly and Assembly: Assembly

  1. Select appropriate shim as follows.
    1. Measure distance "a" between taper roller bearing outer races of reduction idler gear (1).
    2. Measure depth "b" of left case (2) and "c" of right case (3).
    3. Obtain adjusting shim thickness by the following equation.

      Necessary shim thickness = Depth "b" + Depth "c" - Distance "a" + 0.05 mm (0.002 in.)

      Fig 1: Identifying Distance Between Taper Roller Bearing Outer Races Of Reduction Idler Gear
      G04590564Courtesy of SUZUKI OF AMERICA CORP.
    4. Select adjusting shim closest to calculated value from among the following available sizes.

      Available reduction idler gear shim thickness 

      0.55, 0.60, 0.65, 0.70, 0.75, 0.80, 0.85, 0.90, 0.95, 1.00, 1.05, 1.10 and 1.15 mm (0.022, 0.024, 0.026, 0.028, 0.030, 0.031, 0.033, 0.035, 0.037, 0.039, 0.041, 0.043 and 0.045 in.) 

  2. Clean mating surface of right and left cases, and apply sealant to right case (1) by using a nozzle (2) as shown in figure by such amount that its section is 1.2 mm (0.047 in.) in diameter.

    "A": Sealant 99000-31260 

    Fig 2: Applying Sealant To Right Case
    G04590565Courtesy of SUZUKI OF AMERICA CORP.
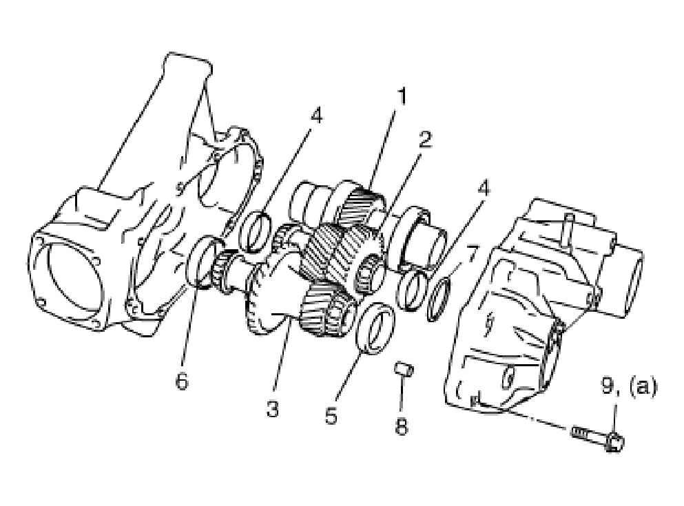
  3. Assemble the following parts in right and left cases by reversing disassembling procedure.
    • Reduction drive gear assembly (1)
    • Reduction idler gear assembly (2)
    • Reduction driven gear assembly (3)
    • Reduction idler gear taper roller bearing outer races (4)
    • Reduction driven gear RH taper roller bearing outer race (5)
    • Reduction driven gear LH taper roller bearing outer race (6)
    • Reduction idler gear shim (7)
    • Knock pin (8)
  4. Tighten 9 transfer case bolts (9) to specified torque.

    Tightening torque 

    Transfer case bolt (a): 23 N.m (2.3 kg-m, 17.0 lb-ft) 

    Fig 3: Installing Transfer Case Bolts
    G04590566Courtesy of SUZUKI OF AMERICA CORP.
  5. Perform transfer preload and back lash adjustment as follows.
    1. Adjust reduction idler gear taper roller bearing preload as follows.
      1. Measure reduction drive gear staring toque (i.e., preload of reduction idler gear taper roller bearings) by using special tool and torque wrench (1).

        Special Tool 

        1. 09928-36010 

          Starting torque of reduction drive gear (reduction idler gear bearing preload) 

          0.5 - 1.4 N.m (5 - 14 kg-cm, 0.35 - 1.0 lb-ft) 

          Fig 4: Measuring Reduction Drive Gear Staring Toque
          G04590567Courtesy of SUZUKI OF AMERICA CORP.
      2. If starting torque is out of specification, replace reduction idler gear shim and measure staring torque again.
        NOTE: Make a record of starting torque of reduction drive gear because it is used for adjusting reduction driven gear taper roller bearing preload.
    2. Adjust bevel gear back lash as follows.
      1. Install transfer output retainer assembly referring to TRANSFER ASSEMBLY DISASSEMBLY AND ASSEMBLY .
      2. Set torque wrench (1) on transfer output flange nut.
      3. Screw bevel gear adjuster (2) on right case until transfer output flange (3) does not rotate by rotational torque with 10-20 N.m (1.0-2.0 kgf-m, 7.5-14.5 lb-ft) by using special tool.
      4. Loosen bevel gear adjuster (2) on right case to angle with 24-36° to make backlash between bevel gears.

        Special Tool 

        1. 09940-14940 

          Bevel gear backlash 

          0.1 - 0.15 mm (0.004 - 0.006 in.) 

          Fig 5: Adjusting Bevel Gear Backlash
          G04590568Courtesy of SUZUKI OF AMERICA CORP.
      5. Remove transfer output retainer assembly and bevel gear shims to measure reduction driven gear taper roller bearing preload.
    3. Adjust reduction driven gear taper roller bearing preload as follows.
      1. Screw bevel gear adjuster (1) on left case by using special tool while measuring starting torque of reduction drive gear (i.e., preload of reduction idler gear and driven gear taper roller bearings) by using special tool and torque wrench (2) until corrected starting torque value of reduction drive gear is in specified value shown as follows.

        Special Tool 

        1. 09928-36010 
        2. 09940-14940 
          Fig 6: Adjusting Reduction Driven Gear Taper Roller Bearing Preload
          G04590569Courtesy of SUZUKI OF AMERICA CORP.
      2. Correct starting torque to starting torque caused by only preload of reduction driven gear taper roller bearings by the following equation.

        Corrected starting torque of reduction drive gear (reduction driven gear bearing preload) = Measured starting torque of reduction drive gear as reduction idler gear and driven gear bearing preload - Measured starting torque of reduction drive gear as reduction idler gear preload

        Tightening torque 

        Corrected starting torque of reduction drive gear (reduction driven gear bearing preload): 0.35 - 2.5 N.m (3.5 - 25 kg-m, 0.25 - 1.8 lb-ft) 

  6. Apply thread lock cement to thread part of adjuster plate bolts (1).

    "A": Thread lock cement 99000-32110 

  7. Install adjuster plates (2) to transfer right and left case so as one side of plate claw to touch dent wall of bevel gear adjuster (3) as shown in figure to prevent bevel gear adjusters (3) from loosing.

    Tightening torque 

    Adjuster plate bolt a: 12 N.m (1.2 kg-m, 9.0 lb-ft) 

    Fig 7: Installing Adjuster Plates To Transfer Right And Left Case
    G04590570Courtesy of SUZUKI OF AMERICA CORP.
  8. Inspect tooth contact according to Bevel Gear Tooth Contact Inspection  .
  9. Apply sealant to one of retainer bolts (1).

    "A": Sealant 99000-31260 

  10. Install transfer output retainer assembly (2) with bevel pinion shims (3) to transfer sub-assembly (4) by tightening retainer bolts (1) to specified torque.

    Tightening torque 

    Transfer output retainer bolt a: 50 N.m (5.0 kg-m, 36.5 lb-ft) 

    Fig 8: Installing Transfer Output Retainer Bolts
    G04590571Courtesy of SUZUKI OF AMERICA CORP.
  11. Install intermediate shaft bearing (2) to intermediate shaft (3) by using special tool.

    Special Tool 

    : 09941-74910 

  12. Install intermediate shaft with bearing in transfer (4).
  13. Install new snap ring (1) to transfer right case by using special tool.

    Special Tool 

    : 09952-76011 

    Fig 9: Installing Intermediate Shaft Bearing
    G04590572Courtesy of SUZUKI OF AMERICA CORP.
  14. Apply grease to new intermediate output oil seal lip.

    "A": Grease 99000-25010 

  15. Drive intermediate output oil seal (1) in transfer right case (2) by using special tool and hammer.

    Special Tool 

    1. 09925-15410 

      Intermediate output oil seal installing depth 

      "a": 1.0 - 2.0 mm (0.04 - 0.08 in.) 

      Fig 10: Installing Intermediate Output Oil Seal In Transfer Right Case
      G04590573Courtesy of SUZUKI OF AMERICA CORP.