LEMON Manuals: Even more car manuals for everyone
Home >> Suzuki >> 2006 >> Verona Base >> Repair and Diagnosis >> Engine Performance >> System >> Engine Control System - System And Component Checks, Specifications, Special Tools And Equipment >> Fuel Pump Relay Circuit Check >> Notes

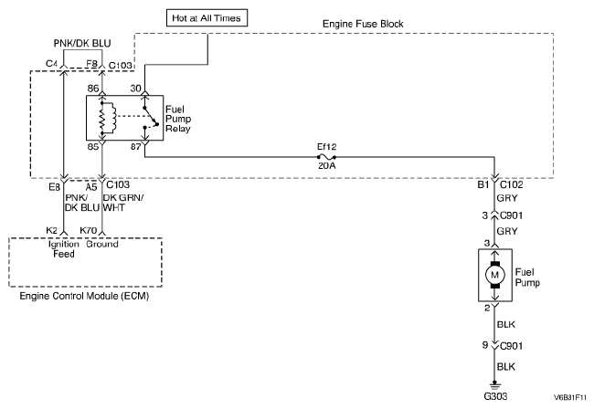
Fuel Pump Relay Circuit Check: Notes

Fig 1: Fuel Pump Relay Circuit Check - Wiring Diagram
G04718688Courtesy of SUZUKI OF AMERICA CORP.