LEMON Manuals: Even more car manuals for everyone
Home >> Suzuki >> 2006 >> Verona Base >> Repair and Diagnosis >> Engine Performance >> System >> Engine Control System - DTC P0461 Through U0121 >> DTC U0121: Lost Communication with ABS Control Module >> Notes

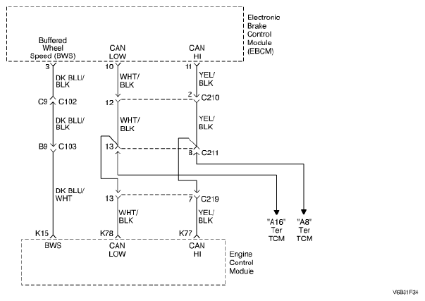
DTC U0121: Lost Communication with ABS Control Module: Notes

Fig 1: Lost Communication With ABS Control Module - Wiring Diagram
G04718782Courtesy of SUZUKI OF AMERICA CORP.