LEMON Manuals: Even more car manuals for everyone
Home >> Suzuki >> 2006 >> Verona Base >> Repair and Diagnosis >> Engine Performance >> System >> Engine Control System - DTC P0461 Through U0121 >> DTC U0073: Control Module Communication Bus OFF >> Notes

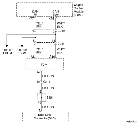
DTC U0073: Control Module Communication Bus OFF: Notes

Fig 1: Control Module Communication Bus OFF - Wiring Diagram
G04718780Courtesy of SUZUKI OF AMERICA CORP.