LEMON Manuals: Even more car manuals for everyone
Home >> Suzuki >> 2006 >> Reno Base, Standard >> Repair and Diagnosis >> Engine Performance >> Engine Control Systems >> Engine Performance - Diagnostic Information And Procedures, DTC Index >> Diagnostic Information and Procedures >> On-Board Diagnostic (OBD II) System Check >> Notes

On-Board Diagnostic (OBD II) System Check: Notes

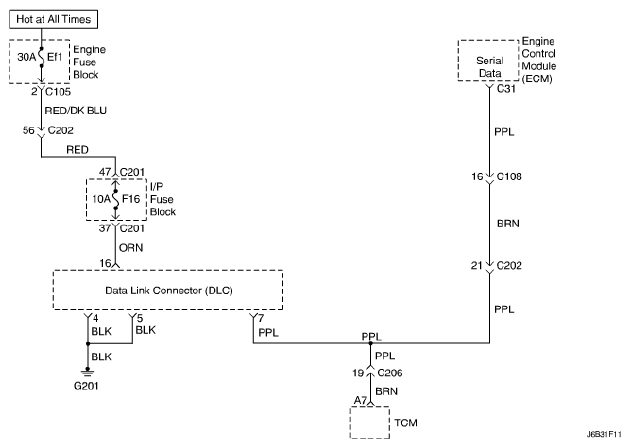
Fig 1: On-Board Diagnostic System - Circuit Diagram
G04716227Courtesy of SUZUKI OF AMERICA CORP.