LEMON Manuals: Even more car manuals for everyone
Home >> Suzuki >> 2004 >> Swift + >> Repair and Diagnosis >> Quick Lookups >> Wiring Diagrams >> Wiring Systems - Specifications, Component Views And Connector End Views >> Component Locator >> Splice Pack Connectors >> SP201 (1.4L, 1.5L, 1.6L)

SP201 (1.4L, 1.5L, 1.6L)

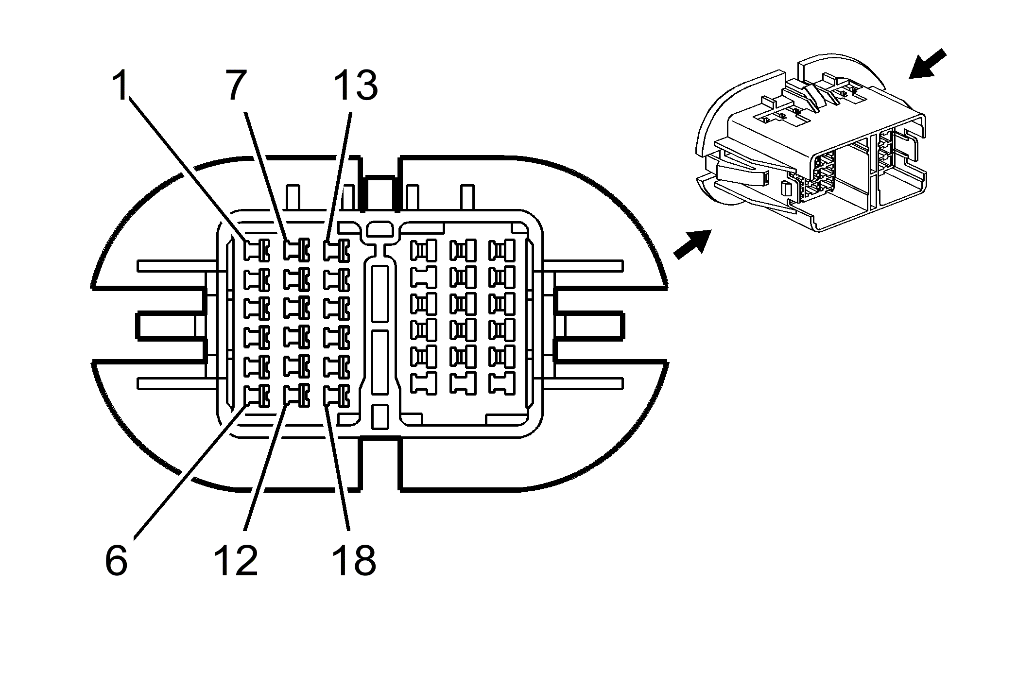
SP201 (1.4L, 1.5L, 1.6L) Connector End Views

GM1467071Courtesy of GENERAL MOTORS CORP.
Connector Part Information
  • KET MG 622427
  • 36 M Device Amphiaster Hsg (GY)
Pin Wire Color Circuit No. Function
1 PK 39 Ignition 1 Voltage
2 - - Not Used
3 BN 1733 Ignition 1 Voltage
4 BN 1733 Ignition 1 Voltage
5 BN 1733 Ignition 1 Voltage
6 - - Not Used
7 PK 539 Ignition 1 Voltage
8 PK 539 Ignition 1 Voltage
9 PK 539 Ignition 1 Voltage
10 PK 539 Ignition 1 Voltage
11 PK 539 Ignition 1 Voltage
12 - - Not Used
13 PK 539 Ignition 1 Voltage
14 BN 1733 Ignition 1 Voltage
15 BN 1733 Ignition 1 Voltage
16 BN 1733 Ignition 1 Voltage
17 BN 1733 Ignition 1 Voltage
18 - - Not Used