LEMON Manuals: Even more car manuals for everyone
Home >> Suzuki >> 2004 >> Swift + >> Repair and Diagnosis >> Engine Mechanical >> Cooling System (Mechanical) >> Engine Cooling System >> Component Locator >> Cooling System Component Views

Cooling System Component Views

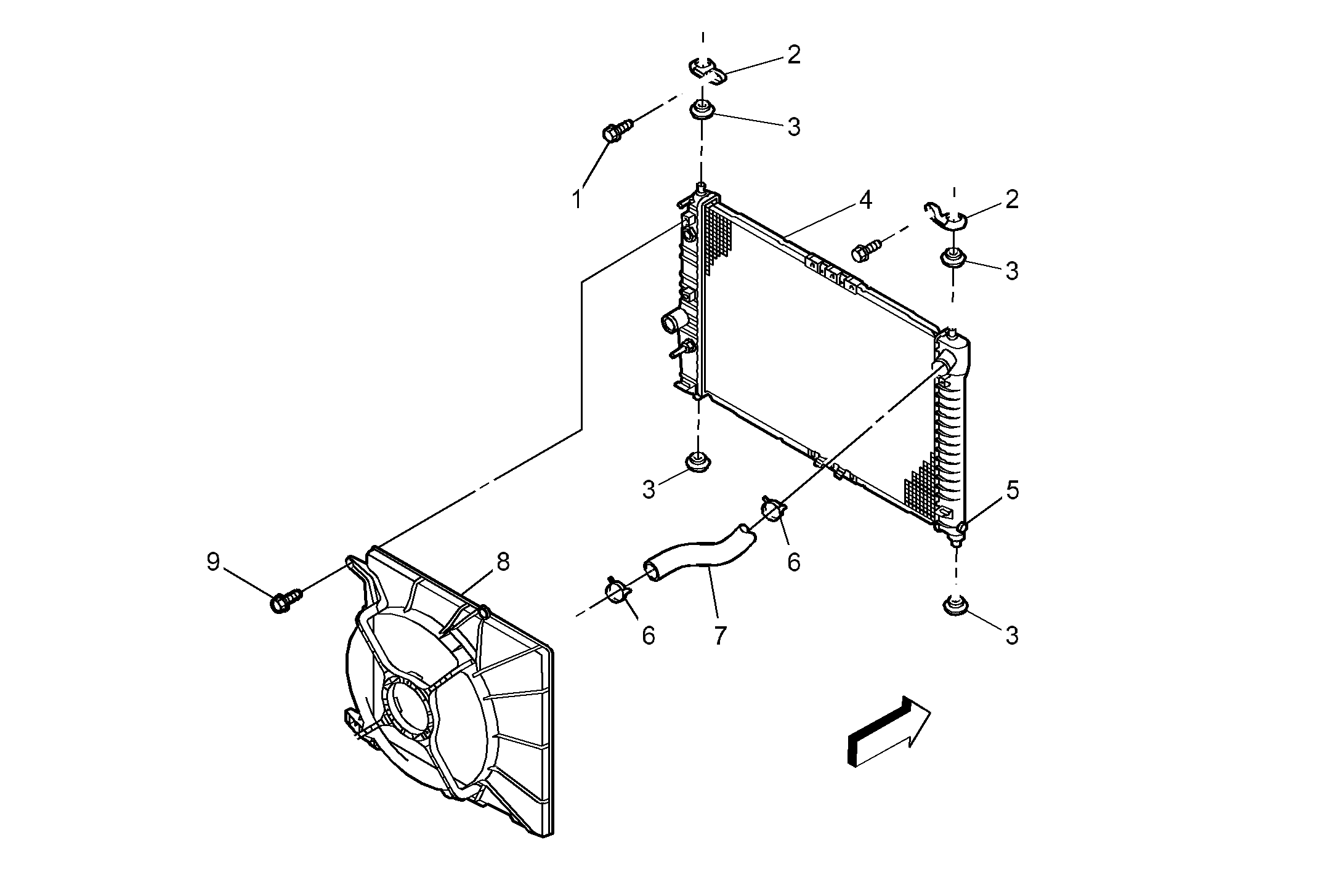
Fig 1: Radiator/Fan (Single) Component Views
GM1248515Courtesy of GENERAL MOTORS CORP.
Callout Component Name
1 Bolt
2 Radiator Bracket
3 Radiator Bumper
4 Radiator
5 Drain Cock
6 Spring Clamp
7 Upper Radiator Hose
8 Cooling Fan
9 Bolt
Fig 2: Radiator/Fan (Dual) Component Views
GM1291871Courtesy of GENERAL MOTORS CORP.
Callout Component Name
1 Bolt
2 Radiator Bumper
3 Radiator Bracket Bolt
4 Radiator Bracket
5 Radiator
6 Drain Cock
7 Upper Radiator Hose
8 Cooling Fan (Main)
9 Cooling Fan (Auxiliary)
Fig 3: Coolant Pump/Thermostat - 1.4L/1.5L SOHC Component Views
GM1248516Courtesy of GENERAL MOTORS CORP.
Callout Component Name
1 Thermostat Housing Bolt
2 Thermostat Housing
3 Seal Ring
4 Thermostat
5 Coolant Pump Mounting Bolts
6 Coolant Pump
7 O-Ring
Fig 4: Coolant Pump/Thermostat - 1.4/1.6L DOHC Component Views
GM1291872Courtesy of GENERAL MOTORS CORP.
Callout Component Name
1 Coolant Pump Mounting Bolts
2 Coolant Pump
3 O-Ring
4 Seal Ring
5 Thermostat Housing Assembly
6 Thermostat Housing Bolt
Fig 5: Coolant Pump/Thermostat - 1.2L SOHC Component Views
GM1291873Courtesy of GENERAL MOTORS CORP.
Callout Component Name
1 Thermostat Housing Bolt
2 Thermostat Housing
3 Thermostat
4 Coolant Pump Mounting Nut
5 Coolant Pump Mounting Bolt
6 Coolant Pump
7 Coolant Pump Gasket